Главная Случайная страница


Полезное:

Как сделать разговор полезным и приятным Как сделать объемную звезду своими руками Как сделать то, что делать не хочется? Как сделать погремушку Как сделать так чтобы женщины сами знакомились с вами Как сделать идею коммерческой Как сделать хорошую растяжку ног? Как сделать наш разум здоровым? Как сделать, чтобы люди обманывали меньше Вопрос 4. Как сделать так, чтобы вас уважали и ценили? Как сделать лучше себе и другим людям Как сделать свидание интересным?


Категории:

АрхитектураАстрономияБиологияГеографияГеологияИнформатикаИскусствоИсторияКулинарияКультураМаркетингМатематикаМедицинаМенеджментОхрана трудаПравоПроизводствоПсихологияРелигияСоциологияСпортТехникаФизикаФилософияХимияЭкологияЭкономикаЭлектроника






Пояснение к работе

2.1 При последовательном соединении сопротивлений имеем:

R=R1+R2….; I=I1=I2=…; U=U1+U2+…

При параллельном соединении сопротивлений имеем:

 

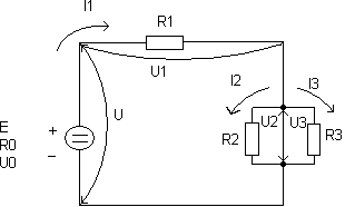
Источник напряжения с э.д.с. E =120 В и внутренним сопротивлением r0=2 Ом (см. рис.) включён в цепь, где r1=18 Ом, r2=100 Ом, r3=150 Ом. Вычислить токи во всех участках цепи, напряжение на зажимах потребителей и источника, а также мощность источника и всех потребителей.

Решение задачи

1. Источник напряжения. В этой задаче, как и во всех предыдущих, используется источник энергии, характеризующийся величиной э.д.с. и внутренним сопротивлением. Такой источник энергии называется источником напряжения.

Как было показано э.д.с. источника обеспечивает ток в цепи и энергию в потребителях, а внутреннее сопротивление характеризует потери энергии в самом источнике.

Внутренне сопротивление может быть указано рядом с кружком, обозначающим источник, или же изображено отдельно вне кружка (см. рис.1).

U1
r1
I1
U
U0
E
r2
I1
I3
r3
UАБ
А
Б
В
Г
Рис. 1
.

2. Токи цепи. Во всех участках неразветвлённой части цепи, образуемой источником э.д.с. и двумя последовательно соединёнными сопротивлениями r1 и r0, ток имеет одно значение I1 (см. рис. 1). Этот ток разветвляется в узловой точке А на два тока: I2 и I3. Последние суммируются в узловой точке Б и образуют вновь ток I1. По этому по первому закону Кирхгофа I1=I2+I3, что справедливо как для узла А, так и для узла Б.

3. Вычисление общего сопротивления цепи – упрощение схемы. Заменяя отдельные участки схемы с последовательным и параллельным соединениями сопротивлений их общими сопротивлениями, удаётся упростить или, как говорят, «свернуть» схему.

 

Для этого заменим сопротивления r2 и r3 их общим сопротивлением:

 

После такой замены (см. рис.2) получается простая неразветвлённая цепь.

r0
E
I1
Б
А
r1
I1
UАБ
r2,3
Рис. 2
4. Вычисление токов и напряжений. В такой последовательности ведётся вычисление токов?

Прежде всего, определяем ток в упрощённой схеме (см. рис.2):

, а затем переходим к исходной схеме (рис.1), для которой как было показано, I2+I3=I1 или I2+I3=1,5 A (1)

С другой стороны, в параллельных ветвях токи обратно пропорциональны сопротивлениям ветвей или

(так как UАБ= r2×I2=r3×I3), откуда I2=1,5I3. (2)

 

Заменив в уравнении (1) ток I2 его значением из (2), получим:

или I3=1,5/2,5=0,6A.

Определим падения напряжения на всех сопротивлениях (рис.1):×

Напряжение на зажимах ВГ источника

 

5. Вычисление мощности. Мощность, развиваемая источником: Pи=E×I1=120×1,5= =180 Вт.

Потеря мощности во внутреннем сопротивлении P0=r0× (I1×I1)=2×(1,5×1,5)=4,5 Вт.

Следовательно, источник отдаёт во внешнюю цепь мощность P=Pи-P0=180-4,5=175,5 Вт.

Можно иначе вычислить эту мощность: P=U×I=117×1,5=175,5 Вт

Как проверить, правильно ли сделан расчёт цепи?

Для этого следует составить баланс мощностей. Мощность, отдаваемая источником,

Pи-P0=175,5 Вт и мощность потребителей P=175,5 Вт, т.е. баланс сходится.

Расчёт цепи постоянного тока.

  1. Взять данные для своего варианта из таблицы.
  2. Рассчитать все неизвестные по таблице величины с помощью формул из пояснений.
  3. Проверкой правильности по расчётам является совпадение результатов расчётов мощности обеими способами.

4.Отчет по практической работе оформить на бланке отчета.

 

 

 

Таблица данных рис.1.

 

 

                           
№ n\n E B R0 Ом R1 Ом R2 Ом R3 Ом U В U0 В U1 В U2=U3 В I1 А I2 А I3 А P Вт
    1,5                      
                           
    0,9                      
                           
    1,4               1,5      



<== предыдущая | следующая ==>
Назначение методических указаний | Решение задачи. 1. Сущность метода. Этот метод основан на применении первого и второго законов Кирхгофа, не требует не каких преобразований схемы и пригоден для расчёта любой





Date: 2015-06-08; view: 406; Нарушение авторских прав



mydocx.ru - 2015-2026 year. (1.899 sec.) Все материалы представленные на сайте исключительно с целью ознакомления читателями и не преследуют коммерческих целей или нарушение авторских прав - Пожаловаться на публикацию