Главная Случайная страница


Полезное:

Как сделать разговор полезным и приятным Как сделать объемную звезду своими руками Как сделать то, что делать не хочется? Как сделать погремушку Как сделать так чтобы женщины сами знакомились с вами Как сделать идею коммерческой Как сделать хорошую растяжку ног? Как сделать наш разум здоровым? Как сделать, чтобы люди обманывали меньше Вопрос 4. Как сделать так, чтобы вас уважали и ценили? Как сделать лучше себе и другим людям Как сделать свидание интересным?


Категории:

АрхитектураАстрономияБиологияГеографияГеологияИнформатикаИскусствоИсторияКулинарияКультураМаркетингМатематикаМедицинаМенеджментОхрана трудаПравоПроизводствоПсихологияРелигияСоциологияСпортТехникаФизикаФилософияХимияЭкологияЭкономикаЭлектроника






Усиление фундаментов





Усиление жестких фундаментов* может осуществлять­ся путем увеличения их подошвы или с помощью свай различного типа.

При проектировании усиления необходимо максималь­но использовать существующий фундамент, обеспечив его совместную работу с элементами усиления.

Несущую способность фундаментов реконструируемо­го объекта определяют с учетом фактических прочност­ных и деформативных характеристик материала фунда­мента и грунтов основания, а при свайных фундаментах используют также результаты полевых испытаний (зон­дирование, статические испытания и др.).

* К жестким фундаментам относятся конструкции, деформативность которых пренебрежительно мала и не оказывает существен­ного влияния на усилия в самом фундаменте и на давление в грун­те под подошвой фундамента.

 


Увеличение размеров подошвы фундаментов необхо­димо при росте нагрузок, недостаточной несущей способ­ности грунтов основания, а также при существенном повреждении фундаментов в процессе эксплуатации. Эф­фективными средствами увеличения подошвы фундамен­тов являются железобетонные «рубашки», наращивание, частичная или полная подводка новых фундаментов. Железобетонная «рубашка» представляет собой монолитную оболочку, которая охватывает существующий фундамент со всех сторон.


 

Рис. 10.1. Усиление фундамен­тов железобетонной Рис. 10.2. Усиление ленточно­го фундамента подводкой:

«рубаш­кой»:1 — усиливаемый фундамент; 2 — железобетонная 1 — усиливаемый фундамент; 2 — разгружающая балка;

«рубашка»; 3 — арматура усиления; 4 — усиливае­мая колонна; 3 — подстав­ка; 4 — распределительный рост­верк: 5 — домкрат

5 —обойма колонны

 

Арматура оболочки образует пространственный каркас, и для обеспечения совместной работы старого фундамента с конструкцией усиления обязательно стыкуется на сварке с предварительно обна­женной арматурой усиливаемого фундамента. Рабочую арматуру «рубашки» устанавливают вдоль граней усили­ваемого фундамента (рис. 10.1).

При повреждении фундаментов в процессе эксплуата­ции для восстановления его несущей способности устраи­вают конструктивную «рубашку», размеры которой при­нимают в зависимости от диаметра арматуры, величины защитного слоя, а также от технологической возможно­сти укладки бетона в тело «рубашки».

Если, кроме усиления фундаментов требуется также усиление колонны, то бетонирование обоймы для колон­ны и «рубашки» следует выполнять одновременно. Если колонна не требует усиления, «рубашку» фундамента за­водят выше нижней части колонны на величину не менее большей стороны колонны и не менее пяти толщин «ру­башки».

При усилении фундамента наращиванием увеличение его подошвы осуществляется с одной, двух или трех сто­рон. При наращивании, так же как и при устройстве «ру­башек», необходимо обеспечивать стыковку на сварке оголенной арматуры старого фундамента с новой арма­турой усиления.

Одним из вариантов наращивания является передача части нагрузки с существующего фундамента на отдель­ные плиты с помощью металлических или железобетон­ных балок, пропущенных через отверстия в усиливаемом фундаменте (рис. 10.2). В этом случае опорные плиты предварительно обжимаются с помощью домкратов или гравитационной нагрузкой до расчетной. Ленточные неармированные фундаменты могут наращиваться с помощью арматуры, заанкеренной в тело фундамен­та и обетонированной на расчетную ширину усиления (рис. 10.3).

 

 

 

 


Рис. 10.3. Усиление ленточных фундаментов наращиванием:

1 — усиливаемый фундамент; 2 — арматурный каркас наращивания; 3 — металлические тру­бы; 4 — шпуры

 

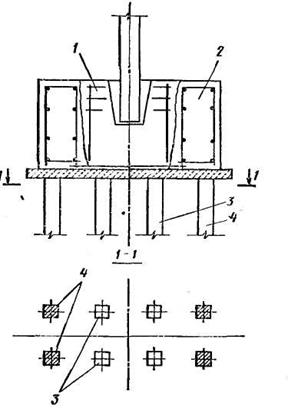
Подводка новых частей фундамента может осущест­вляться рядом с существующим (рис. 10.4).

 

 

Рис. 10.4. Усиление фундамен­тов подводкой: 1 — усиливаемый фундамент; 2 — дополнительные фундаменты; 3 — колонна; 4 — металлическая обой­ма; 5 —металлические подкосы;6 — элемент усиления

 

 

В этом слу­чае нагрузка от несущего элемента передается на фун­дамент усиления через под­косы и металлическую (же­лезобетонную) обойму. Уст­ройство нового фундамента под существующим выпол­няется с частичной или пол­ной разгрузкой существую­щего фундамента на локаль­ных небольших по ширине участках. Причем эта под­водка может быть сплош­ной или частичной. При под­водке новых фундаментов следует обеспечить плотное прилегание подошвы суще­ствующего фундамента с новым. При подводке под ленточные фундаменты кон­струкции усиления рекомен­дуется размещать на пря­мых участках с максимальными нагрузками, так как подводка новых фундаментов в углах и пересечениях вызывает серьезные трудности.


Усиление фундаментов с помощью свай осуществля­ется путем устройства свай по контуру существующего фундамента или под ним. Такое усиление применяется при значительных и неравномерных осадках грунтов ос­нования, при существенном увеличении нагрузок на фун­даменты, для повышения устойчивости основания в слу­чае приложения к фундаментам значительных горизон­тальных сил и т. д.

Выбор конструкции свай зависит от внутренних габа­ритов реконструируемого здания или сооружения, харак­тера действующих нагрузок, конструкций усиливаемого фундамента, наличия соответствующего оборудования для производства свайных работ.

Цельные сборные железобетонные сваи могут приме­няться, когда габариты цеха позволяют разместить крупногабаритную сваебойную технику и когда динамические нагрузки при забивке свай не приводят к повреждениям
окружающих конструкций. При наличии вблизи зоны за­бивки свай несущих конструкций, не способных выдержать значительные динами­ческие нагрузки, возможно осуществить вдавливание цельных свай в грунт с помощью гидродомкратов.

Эффективным сред­ством усиления фунда­ментов, особенно при неравномерных дефор­мациях сооружения, являются составные сборные сваи «Мега», которые не требуют больших габаритов по­мещения и включаются в работку сразу после вдавливания. Недостатком этих свай яв­ляется достаточно вы­сокая трудоемкость ра­бот по их устройству, а также необходимость выполнения временно­го котлована под подо­швой фундамента, что снижает его несущую способность в процессе усиления (рис. 10.5). При устройстве усиле­ния сваями «Мега» конструкция существующего фунда­мента должна быть проверена на воспринятое усилия от реакции вдавливания.

Для воспринятия значительных растягивающих уси­лий применяют винтовые сваи. При усилении фундамен­тов используют также монолитные сваи различных типов: буронабивные сваи требуют громоздкого оборудования, однако могут применяться в любых грунтовых условиях, в том числе и тех, где забивные сваи неприменимы; пневмонабивные, виброштампованные сваи и сваи Страуса могут применяться в помещениях с ограниченной высо­той и не требует сложного технологического оборудова­ния. Первые два типа свай

1 — усиливаемый фундамент; 2 — распре­делительный элемент; 3 — домкрат; 4 — подпорка; 5 — головной элемент; 6 — ря­довой элемент; 7 — нижний элемент сваи

Рис. 10.5. Усиление фундамента с помощью свай Мега:

 

 

используют в любых гидрогеологических условиях, сваи Страуса можно применять только при отсутствии грунтовых вод.

При передаче на фундамент дополнительных горизонтальных и вертикальных нагрузок эффективны буроинъекционные (корневидные) сваи, которые могут также просверливаться через существующий фундамент, ис­пользуемый в этом случае как ростверк (рис. 10.6).

 

 

 

Рис. 10.6. Усиление фундамента с помощью корневидных свай:

1— усиливаемый фундамент: 2 — корневидные сваи

 

Вместо свай типа «Мега» могут применяться комби­нированные металлические трубчатые сваи, погружае­мые посекционно в грунт гидродомкратами. Их затем за­полняют монолитным бетоном.


Включение в работу существующего фундамента свай усиления выполняется с помощью монолитного плитного ростверка или распределительных балок, которые обра­зуют со сваями рамную систему.

Плитный ростверк возможно устраивать в пределах высоты существующего фундамента (рис. 10.7) и путем подводки под него (рис. 10.8). Первые варианты анало­гичны работам при устройстве «рубашек» или наращи­вания, требуют соединения арматуры существующего фундамента с арматурой ростверка и используются в том случае, если возможно уширение фундамента в пределах его высоты.

 


 

 

Рис. 10.7. Усиление фундамента ростверком, расположенным в пределах высоты фунда­мента:1 — усиливаемый фундамент: 2 — ростверк усиле­ния: 3 — существующие сваи: 4 — сваи усиления

 

Подводка нового ростверка под существую­щий фундамент достаточно трудоемка и применяется в случае невозможности уширения фундамента в преде­лах его высоты, при его повреждениях, а также слабых грунтах под его подошвой или при повреждении головок существующих свай.

Перечисленные выше способы усиления могут приме­няться как при опирании реконструируемых фундаментов на естественное основание, так и на свайное при усиле­нии ленточных и столбчатых фундаментов из различных материалов (рис. 10.9).

Примеры объединения усиливаемых фундаментов с дополнительными сваями с помощью плитного роствер­ка приведены на рис. 10.7,10.8.

На рис. 10.10...10.12 приведены схемы усиления лен­точных и столбчатых фундаментов с помощью рамной системы, состоящей из дополнительных свай, же­лезобетонных или металлических распределительных балок.

 

 

Рис. 10.8. Усиление ленточного фундамен­та сваями с подводкой нового ростверка: 1 — усиливаемый фундамент: 2 — существующие сваи: 3 — ростверк усиления; 4 — сван усиления:5 — арматурные сетки: 6 — отогнутые стержни

 

Расчет усиления фундаментов выполняется по двум группам предельных состояний с учетом требований со­ответствующих нормативных документов (СНиП II-6—74, СНиП 2.02.01—83, СНиП Н-17—77, СНиП 2.03.01—84). По первой группе выполняется расчет прочности конст­рукций фундамента и несущей способности грунта осно­вания, по второй — расчет оснований по деформациям, который требует учета совместной работы здания с ос­нованием.

Несущая способность существующего фундамента определяется с учетом его фактического состояния (степе­ни износа), прочностных характеристик материалов и грунтов основания.

Если в процессе эксплуатации произошла полная ста­билизация осадок основания под существующими фундаментами, то расчетные осадки элементов усиления опре­деляются только от дополнительных нагрузок. При этом максимально допустимую осадку назначают с учетом состояния надземных конструкций реконструируемого здания и связанных с ним рядом расположенных Объек­тов (переходов, галерей, коммуникаций). Для отдельных фундаментов осадка определяется с учетом влияния на­грузок от соседних фундаментов по методу угловых точек.



 

Рис. 10.9. Схемы усиления фундаментов на свайном (а) и естественном (б) осно­ваниях:

1 — усиливаемый фундамент; 2 —ростверк усиле­ния; 3 — сваи усиления

 

При жестком соединении существующего фундамен­та с конструкцией усиления способом наращивания или «рубашкой» расчет уширенного фундамента на естест­венном основании осуществляется по обычной методике.

При подводке но­вых частей фундамен­тов рядом с существу­ющим нагрузка на них определяется в соответ­ствии с принятой рас­четной схемой, а их расчет осуществляется как отдельных фунда­ментов. При подводке целых фундаментов их размеры определяются из условия, чтобы мак­симальные и средние абсолютные осадки не превышали допустимых по СНиП 2.02.01—83. При этом учитывается стабилизация осадок существующих фунда­ментов.

Расчет свайного усиления выполняется в зависимости от конст­руктивного решения су­ществующего фундмента и его состояния. При плохом состоянии свайного фундамента, а также при опирании фундамента на есте­ственное основание количество свай усиления определя­ется из расчета воспринятия всей нагрузки. При хорошем состоянии существующего свайного фундамента количе­ство свай усиления определяют из расчета передачи на них только дополнительной нагрузки.

Несущая способность трубобетонных вдавливаемых свай определяется по формуле

Fd = E и ϰ (10.1)

где E и — усилие вдавливания; ϰ — переходный коэффи­циент, принимаемый равным 0,9 для глинистых грунтов, 0,85 — для песчаных.

 

 


 

Рис. 10.10. Усиление ленточного фун­дамента на естественном основании сваями с устройством рамной си­стемы:

1— усиливаемый фундамент; 2 — сваи усиления; 3 — железобетонный ригель;

4 — железобетонная подушка; 5 — омоноличивание пробитого под ригель отверстия

 

Расчет каждого отдельного элемента составной сван типа «Мега» осуществляется как для сжатого элемента с учетом продольного изгиба и случайного эксцентриси­тета, определяемого в соответствии с требованиями СНиП 2.03.01—84. Учитывая возможную несоосность при стыковке отдельных элементов, несущая способность всей сваи определяется умножением на поправочный коэффи­циент, который принимается при длине сваи до 4 м — 0,75; от 4 до 6 м — 0,6 и свыше 6м — 0,5.

 


Рис. 10.11. Усиление ленточного фундамента на естествен­ном основании сваями с устройством рамной системы: 1 — усиливаемый фундамент; 2 — сваи усиления; 3 — металлические балки; 4 — стена

 

Расчет жестких фундаментов, усиленных сваями за контуром, может выполняться по методике, разработан­ной Харьковским ПромстройНИИпроектом. Расчет состо­ит из двух этапов: до реконструкции —на действие эксплу­атационных нагрузок с учетом максимально возможной разгрузки фундамента, после реконструкции — на загружение фундамента до уровня, соответствующего этапу разгрузки, плюс дополнительные нагрузки, возникающие после реконструкции сооружения. Усилия в сваях и фун­даментах, давление на грунт под подошвой фундамента (при фундаменте на естественном основании) и по кон­такту со сваями, перемещения и углы поворота усиленных фундаментов определяются алгебраическим суммированием соответствующих величин, полученных на каж­дом этапе расчета. Осадку усиленного фундамента рас­считывают на

 

 

Рис. 10.12. Усиление столбчатого фундамента на естественном основании с устройством ростверка, армированного металлическими балками: 1 — усиливаемый фундамент; 2—ростверк усиления; 3 — металлические балки, 4 — сваи усиления

 

втором этапе. При этом модуль деформации грунта определяют с учетом его упрочнения в про­цессе эксплуатации. Допускается рассчитывать модуль по формуле

Еst= 1,3 Е (10.2)

где Е — модуль деформаций грунта, вычисленный по ре­зультатам лабораторных или полевых испытаний, МПа. Упрочнение грунта учитывается в расчетах на глубину, не превышающую ширину фундамента до его усиления.

Расчет усиленного фундамента осуществляется в ли­нейной постановке по плоской расчетной схеме. На каж­дом этапе расчета усиленный фундамент рассматривается как статически неопределимая система, загруженная внешней нагрузкой с одной стороны и усилиями от свай и отпором грунта под подошвой — с другой (рис. 10.13 и 10.14).

Рис. 10.13. Модель расчета усиленного свай­ного фундамента:

а — расчетная схема; б — основная система метода перемещений

Усилия от свай выражаются через жесткостные характеристики свай и деформации фундамента, отпор грунта — через коэффициент постели и также деформа­ции фундамента. Последний учитывается только при уси­лении фундаментов на естественном основании.

Усилия и деформации фундамента определяются, из решения системы кано­нических уравнений ме­тода перемещений.

При этой методике расчета грунт рассма­тривается как линейно деформируемая среда, которая характеризует­ся следующими пара­метрами: Kυо — верти­кальным коэффициен­том постели по кон­такту с подошвой фун­дамента на естествен­ном основании, кото­рый принимается оди­наковым во всех точ­ках основания, кН/м3, K.h,z — горизонтальным коэффициентом посте­ли по контакту с боко­вой поверхностью сваи и Кh,l — вертикальным коэффициентом посте­ли по контакту с подо­швой свай.

Рис. 10.14. Модель расчета усилен­ного фундамента на естественном ос­новании: а — расчетная схема; б — основная систе­ма метода перемещений

Значения коэффици­ентов постели опре­деляют по методике, разработанной Харь­ковским Промстрой-НИИпроектом.

Расчет устойчивости грунта основания вокруг свай осуществляется в соответ­ствии с требованиями СНиП II-17—77.







Date: 2015-06-07; view: 1156; Нарушение авторских прав



mydocx.ru - 2015-2026 year. (1.076 sec.) Все материалы представленные на сайте исключительно с целью ознакомления читателями и не преследуют коммерческих целей или нарушение авторских прав - Пожаловаться на публикацию