Главная Случайная страница


Полезное:

Как сделать разговор полезным и приятным Как сделать объемную звезду своими руками Как сделать то, что делать не хочется? Как сделать погремушку Как сделать так чтобы женщины сами знакомились с вами Как сделать идею коммерческой Как сделать хорошую растяжку ног? Как сделать наш разум здоровым? Как сделать, чтобы люди обманывали меньше Вопрос 4. Как сделать так, чтобы вас уважали и ценили? Как сделать лучше себе и другим людям Как сделать свидание интересным?


Категории:

АрхитектураАстрономияБиологияГеографияГеологияИнформатикаИскусствоИсторияКулинарияКультураМаркетингМатематикаМедицинаМенеджментОхрана трудаПравоПроизводствоПсихологияРелигияСоциологияСпортТехникаФизикаФилософияХимияЭкологияЭкономикаЭлектроника






Кулачковые механизмы





Служат для преобразования вращательного движения в поступательное.

Применяются в основном на автоматах.

1 - дисковый кулачок

2 -палец

3 - пружина, обеспечивающая постоянный контакт пальца
с рабочей поверхностью кулачка.
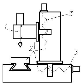
Компоновочная схема. Любой станок состоит из нескольких важнейших частей, называемых узлами. Главный привод (1) станка сообщает движение инструменту или заготовке для осуществления процесса резания с соответствующей скоростью. У подавляющего большинства станков главный привод сообщает вращательное движение шпинделю, в котором закреплён режущий инструмент или заготовка.

Несущая система (2) станка состоит из последовательного набора соединённых между собой базовых деталей. Соединения могут быть неподвижными (стыки) или подвижными (направляющие). Несущая система обеспечивает правильность взаимного расположения режущего инструмента и заготовок под воздействием силовых и температурных факторов.

Привод подачи (3) служит для перемещения инструмента относительно заготовки (или наоборот) для формирования обрабатываемой поверхности. У подавляю-щего большинства станков привод подачи сообщает узлу станка прямолинейное движение. Сочетанием нескольких прямолинейных, а иногда и вращательных движений можно реализовать любую пространственную траекторию.

Привод позиционирования необходим во многих станках для перемещения узла станка из исходной позиции в заданную позицию, например, при последовательной обработке нескольких отверстий или нескольких параллельных плоскостей на одной и той же заготовке. Манипулирующие устройства необходимы для автоматизации различных вспомогательных движений в станке, для смены заготовок, их зажима, перемещения или поворота, смены режущих инструментов, удаления стружки и т.п. Контрольные и измерительные устройства необходимы в станке для автоматизации и наблюдения за правильностью его работы. Устройство управления бывает с ручным обслуживанием оператором, с механической системой управления или с ЧПУ. Сейчас происходит широкое внедрение микропроцессорных устройств ЧПУ для управления всеми видами станочного оборудования.

 







Date: 2015-06-06; view: 381; Нарушение авторских прав



mydocx.ru - 2015-2026 year. (1.409 sec.) Все материалы представленные на сайте исключительно с целью ознакомления читателями и не преследуют коммерческих целей или нарушение авторских прав - Пожаловаться на публикацию