Главная Случайная страница


Полезное:

Как сделать разговор полезным и приятным Как сделать объемную звезду своими руками Как сделать то, что делать не хочется? Как сделать погремушку Как сделать так чтобы женщины сами знакомились с вами Как сделать идею коммерческой Как сделать хорошую растяжку ног? Как сделать наш разум здоровым? Как сделать, чтобы люди обманывали меньше Вопрос 4. Как сделать так, чтобы вас уважали и ценили? Как сделать лучше себе и другим людям Как сделать свидание интересным?


Категории:

АрхитектураАстрономияБиологияГеографияГеологияИнформатикаИскусствоИсторияКулинарияКультураМаркетингМатематикаМедицинаМенеджментОхрана трудаПравоПроизводствоПсихологияРелигияСоциологияСпортТехникаФизикаФилософияХимияЭкологияЭкономикаЭлектроника






Методы измерения давления в грунтах





Полное напряжение в грунте складывается из напряжений в скелете грунта, порового давления в жидкой и газообразной фазах. Значения этих величин зависят от относительного содержания твердой, жидкой и газообразной фаз в единице объема грунта. Измерение порового давления в грунте необходимо для оценки напряженного состояния. Основным инструментом для измерения порового давления являются пьезометрические датчики (пьезометры).

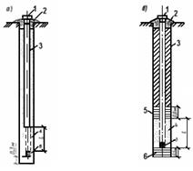
Рис. 7.13. Схемы пьезометров

На рис.7.13, а представлен пьезометр с пористой набивкой 4. Обсадная труба 3, закрытая деревянной торцевой крышкой 5, опускается в скважину, а свободное пространство заполняется песчаной набивкой 4. Низ трубы перфорирован по длине l. Сверху имеется бетонная заливка 2 и крышка 1. Пьезометр с водонепроницаемой набивкой (рис.7.13, б) имеет аналогичную конст­рукцию, только ниже и выше перфорированного участка производится набивка водонепроницаемого грунта 6.

Жидкость, проникающая через фильтр, создает в полости давление, соответствующее поровому, которое может быть измерено гидростатическим, пневматическим или электрическим преобразователем давления. Пьезометры должны измерять как положительное, так и отрицательное давление, вносить минимальное искажение в структуру и физико-механические свойства грунта в исследуемой зоне, обладать достаточно быстрой реакцией на изменение порового давления, давать стабильные показания. Основные погрешности измерения порового давления обусловлены инерционностью измерительной схемы. Часто встречающимся источником, приводящим к ошибке измерения порового давления, является накопление воздушных пузырьков в зоне фильтра пьезометра или в подводящих трубках. Предусматривается специальная система воздухоудаления, зачастую достаточно сложная. При измерении порового давления должны быть исключены утечки жидкости в соединениях измерительной системы и влияние температуры (особенно зимой). Кроме того, необходимо обеспечить чистоту фильтров, соответствующий подбор их коэффициентов фильтрации и отсутствие посторонних включений в рабочей жидкости пьезометров.

В лабораторных и натурных дистанционных измерениях все больше применение находят электрические пьезометры (рис.7.14).

Принцип работы данного прибора основан на воздействии давления воды в рабочей полости пьезометра на диафрагму 3, перемещение которой пропорционально давлению преобразуется при помощи тензометрического индуктивного или струнного преобразователя 4 и 5 в электрический сигнал (1 - корпус, 2 - фильтр, 6 - изоляция, 7 - провод). Позволяет проводить динамические измерения, т.к. является малоинерционным.

 

Рис. 7.14. Электрический струнный пьезометр

 

Общее и детальное обследование оснований и фундаментов является составной частью всего комплекса обследований строительных конструкций зданий и сооружений. От состояния оснований и фундаментов, как мы убедились в данной лекции, зависит состояние всей строительной конструкции.

 

Вопросы для самоконтроля:

 

1. Назовите признаки деформации грунтов и неисправности фундаментов.

2. Как проводится обследование состояния гидроизоляции?

3. Какие виды работ по обследованию оснований и фундаментов выполняются при инженерно-геологических изысканиях?

4. Приведите формулу глубины заложения выработок скважин.

5. На какие группы делят грунты?

6. Назовите дефекты фундаментов.

7. Как документально оформляется обследование оснований и фундаментов?

8. Какие параметры необходимо определить для изучения поведения грунтов и оснований?

9. Каким образом измеряют нормальные и касательные напряжения в грунтах?

10. Назовите приборы, использующиеся для измерения порового давления в грунтах.

ЛИТЕРАТУРА

 







Date: 2015-06-06; view: 2037; Нарушение авторских прав



mydocx.ru - 2015-2026 year. (0.862 sec.) Все материалы представленные на сайте исключительно с целью ознакомления читателями и не преследуют коммерческих целей или нарушение авторских прав - Пожаловаться на публикацию