Главная Случайная страница


Полезное:

Как сделать разговор полезным и приятным Как сделать объемную звезду своими руками Как сделать то, что делать не хочется? Как сделать погремушку Как сделать так чтобы женщины сами знакомились с вами Как сделать идею коммерческой Как сделать хорошую растяжку ног? Как сделать наш разум здоровым? Как сделать, чтобы люди обманывали меньше Вопрос 4. Как сделать так, чтобы вас уважали и ценили? Как сделать лучше себе и другим людям Как сделать свидание интересным?


Категории:

АрхитектураАстрономияБиологияГеографияГеологияИнформатикаИскусствоИсторияКулинарияКультураМаркетингМатематикаМедицинаМенеджментОхрана трудаПравоПроизводствоПсихологияРелигияСоциологияСпортТехникаФизикаФилософияХимияЭкологияЭкономикаЭлектроника






Изыскания и состав работ по оценке оснований и фундаментов





№№п/п Характер предполагаемого ремонта или реконструкции, виды деформаций Состав выполняемых работ по обследованию оснований и фундаментов
  Определение конструктивных особенностей фундаментов, их технического состояния, геометрических размеров и глубины заложения при капитальном ремонте здания без замены перекрытий и без увеличения нагрузок Контрольные шурфы
  Реконструкция, модернизация или капитальный ремонт здания со сменой всех перекрытий, увеличением нагрузок на основание, возведением надстроек и пристроек, деформации стен, столбов и фундаментов Детальное обследование оснований и фундаментов: выполнение контрольных шурфов, бурение скважин с отбором монолитов для лабораторного исследования (с целью определения физико-механических характеристик, химический анализ воды, исследования материалов фундамента)
  Определение причин затопления подвалов и других подземных сооружений, углубление подвалов, появление сырости (увлажнение) ограждающих конструкций подвалов Контрольные шурфы. Исследование грунтов бурением с определением уровня грунтовых вод. Проверка состояния и соблюдения инженерно-мелиоративных мероприятий, направленных на водопонижение и осушение грунтов. Проверка наличия и состояния гидроизоляции, наблюдения за уровнем грунтовых вод

 

При этом руководствуются следующими положениями о расположении шурфов:

- в каждой секции по одному у каждого вида конструкции в наиболее нагруженном и ненагруженном участках;

- при наличии зеркальных или повторяющихся (по плану и контурам) секций – в одной секции отрываются все шурфы, а в остальных – один-два в наиболее нагруженных местах;

- в местах, где предполагается установить дополнительные промежуточные опоры, в каждой секции отрывают по одному шурфу;

- дополнительно отрывают для каждого строения 2-3 шурфа в наиболее нагруженных местах с противоположной стороны стены, там, где имеется выработка.

- при наличии деформаций стен и фундаментов шурфы в этих местах отрывают в обязательном порядке, при этом в процессе работы назначаются дополнительные шурфы для определения границ слабых грунтов оснований или границ фундаментов, находящихся в неудовлетворительном состоянии; в случае свайного основания шурфы отрываются от свай.

Глубина шурфов, расположенных около фундаментов, не должна превышать глубины заложения подошвы больше чем на 0,5 м.

Обследование фундаментов зданий и сооружений предпочтительно осуществлять в летний период.

Минимальная площадь сечения шурфов в зависимости от глубины заложения фундамента составит:

- до 1,5 м – 1,25 м2;

- 1,5-2,5 м – 2 м2;

- более 2,5 м – 2,5 м2 и более.

При значительной ширине фундаментов размер шурфа в плане можно увеличить. Длина обнажаемого ленточного фундамента должна быть не менее 1 м.

Оборудование, способы проходки и крепления выработок (скважин) инженерно-геологического назначения следует выбирать в зависимости от геологических особенностей и условий подъезда транспорта, наличия коммуникаций, стесненности площадки, свойств грунтов, поперечных размеров шурфов и глубины выработки.

Для исследования грунтов ниже подошвы фундаментов рекомендуется бурить скважину со дна шурфа.

Число разведочных выработок (скважин) должно устанавливаться заданием и программой инженерно-геологических работ.

В зависимости от количества секций число разведочных выработок (скважин) определяется:

- 1-2 – 4;

- 3-4 – 6;

Более 4 – 8.

Указанное число выработок может быть уменьшено при наличии материалов изысканий и для участков с простым геологическим строением.

Глубина заложения выработок скважин (h, м) определяется по формуле (7.1):

 

h = h1 + ha + c, (7.1)

 

где: h1 – глубина заложения фундаментов от поверхности земли, м;

ha – глубина активной зоны основания, м;

с – постоянная величина, равная 2 м для зданий до трех этажей, 3 м – свыше трех этажей.

Глубина заложения выработок должна назначаться исходя из глубины активной зоны основания с учетом класса и конструктивных особенностей здания, а в сложных геологических условиях также глубиной термоактивной зоны, зоны набухания, зоны присадочных грунтов и т.д.

При обследовании оснований — грунтов, залегающих под фундаментами и воспринимающих от них нагрузку, необходимо обратить внимание на характеристики грунтов. Нужно изучить проектно-изыскательские материалы, акты на скрытые работы при проведении фундаментов, выявить характер грунтов, степень их пучинистости или просадочности, глубину промерзания, уровень грунтовых вод. Для этого отрывают шурфы и берут пробы грунта для лабораторных исследований.


Различают грунты: нормальные, пучинистые и просадочные. При нормальных грунтах равномерная и небольшая осадка не вызывает деформации зданий. Опасными для здания являются пучинистые грунты (глинистые и пылеватые грунты), которые при увлажнении и промерзании увеличиваются в объеме на 10 %. Под воздействием сил кристаллизации, льда находящейся в грунте воды, они передают нормальные силы снизу вверх на подошву фундамента и касательные силы при смерзании пучинистых грунтов с поверхностями фундаментов и стен подвала.

Нормальные силы пучения Nн, действующие на подошву фундаментов можно определить по следующей приближенной формуле (7.2):

 

NH = nRAn*h1 (7.2)

 

где п — коэффициент перегрузки, равный 1,1;

R — эмпирический коэффициент, принимаемый 0,06 кг/см3;

Аn площадь подошвы фундамента;

h 1 — высота мерзлого слоя грунта, см.

Если есть защита грунтов от избыточного увлажнения и промерзания (отмостки, теплозащитные подушки) и масса вышележащих конструкций превышает силы пучения, то разрушения фундаментов и стен здания не происходит. Промерзание грунта также опасно при последующем оттаивании грунтов и неравномерной осадке фундаментов (рис.7.1 и 7.2).

 

Рис. 7.1. Деформации зданий, вызванные неравномерной осадкой оснований

а - прогиб; б – выгиб

Причиной деформаций зданий могут быть повреждения инженерных коммуникаций, из которых агрессивные воды попадают в грунты. Плохое качество гидроизоляции также вызывает коррозию стен фундаментов.

 

 

Рис. 7.2. Деформации излома и скалывания

а - излом; б - скалывание

 

При высоком уровне грунтовых вод и отсутствии дренажа конструкции фундаментов и стены подвала находятся в воде, зачастую агрессивной, что вызывает их разрушение. В водном бассейне находится и грунт основания, возможна фильтрация и перемещение грунта из-под фундаментов. Разработка вблизи зданий котлованов изменяет влажностный режим грунтов и уровень грунтовых вод. Это вызывает деформацию грунтов и, как следствие, трещины в фундаментах и стенах здания (рис.7.3, 7.4, 7.5).

Фундаменты разрушаются при действии агрессивных грунтовых вод, насыщенных щелочными, сульфатными и другими химическими веществами. При этом отслаивается защитный слой бетона и корродирует арматура.

Динамические нагрузки от технологического и подъемно-транспортного оборудования также вызывают колебания и разрушения фундаментов.

 

 

Рис. 7.3. Суффозионнос разрушение фунта под существующими фундаментами при открытом водоотливе:

а - без ограждающего шпунта; б - при шпунте, не забитом до водоупора или недостаточно заглубленном ниже дна котлована; 1 - существующий фундамент; 2 - котлован возводимого здания; 3 - области возможного образования пустот; 4 - грифоны;

5 - насос; 6 - шпунт; h - глубина погружения шпунта ниже отметки дна котлована

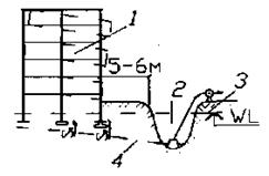
Рис. 7.4. Деформация здания вследствие понижения уровня подземных вод иглофильтровой установкой

1 – здание; 2 – шпунт; 3 – иглофильтр; 4 – уровень подземных вод до водопонижения; 5 – то же, после водопонижения


Рис. 7.5. Деформация жилого дома, вызванная открытым водоотливом из смежной с ним траншеи

 

Под воздействием блуждающих токов происходит электрохимическая коррозия арматуры в бетоне. В одном из электролитных цехов предприятия цветной металлургии через 5 лет эксплуатации оказались в аварийном состоянии: подземные конструкции, стены и колонны подвалов, фундаменты. В них полностью разрушился защитный слой бетона, прокорродировала арматура, износ достиг своего предела, за которым следует авария.

Воздействие смазочных материалов (масел) на фундамент снижает его прочность за счет интенсивного ослабления сцепления арматуры с бетоном.

Причиной разрушения фундаментов могут быть: нарушение режима работы технологического оборудования, неучтенные при проектировании сочетании нагрузок и, особенно, влияние динамических нагрузок.

Под безотказностью работы системы «основание—фундамент» понимают способность сохранять работоспособность (все элементы системы прочны, надежны, устойчивы и долговечны) в определенных условиях эксплуатации. Полная или частичная утрата надежности системы называется отказом. Различают признаки отказов оснований и фундаментов:

- явные - вызывают полное обрушение здания или отдельных его конструкций, недопустимые крены, провалы и обвалы, выход из строя обо­рудования;

- неявные - осадки, просадки, подъемы, трещины в фундаментах и стенах, искривления и деформации элементов, отслоение и коррозия арматуры, нарушение вертикальности стыков и сопряжений элементов. Неявные признаки являются сигналом для принятия необходимых мер, иначе последуют явные признаки.

Существует несколько видов дефектов фундаментов:

1) расслоение кладки фундамента вследствие недостаточной перевязки швов каменной кладки и недостаточной прочности;

2) разрушение фундамента от воздействия агрессивной среды в грунте и применения нестойких к агрессии материалов;

3) разрыв фундамента по высоте вследствие морозного пучения грунта и неправильного конструирования (малой прочности материала фундамента и швов);

4) трещины в плите фундамента от недостаточных размеров или увеличения нагрузки на фундамент, а также увлажнения основания;

5) просадка фундамента при слабых фунтах (просадочных, плывунах) или недостаточном уплотнении грунта, малой глубине заложения фундамента и изменения уровня грунтовых вод.

Характерные повреждения оснований фундаментов и грунтов, снижение их несущей способности вызваны ошибками при изысканиях и проектировании, недостаточным уходом в процессе строительства и подтопления основания грунтовыми, атмосферными и технологическим водами, а также срезки грунта вдоль здания или отрывке ям вблизи котлована.

Физико-механические характеристики грунтов определяют по образцам, отбираемым в процессе обследования. Количество и размеры образцов грунта должны быть достаточными для проведения комплекса лабораторных испытаний.


Интервалы определения характеристик по глубине, число частных определений деформационных и прочностных характеристик грунтов должны быть достаточными для вычисления их нормативных и расчетных значений по СНиП 2.02.01-88. «Основания зданий и сооружений».

Гидрогеологические скважины проходят с целью изучения фильтрационных свойств грунтов, поисков и определения характеристик подземных вод, режимных наблюдений за изменениями уровня грунтовых вод и др. В качестве гидрогеологических скважин допускается использовать пробуренные контрольные скважины.

Скважины бурятся в установленных визуально местах действия источника увлажнения. На расстоянии около 10 м от здания бурят контрольную скважину, влажность грунта из которой принимается за естественную. Пробы грунта для определения его влажности отбирают с каждого метра глубины скважины.

Ширину подошвы фундамента и глубину его заложения следует определять натурными обмерами. В наиболее нагруженных участках ширина подошвы определяется в двухсторонних шурфах, в менее нагруженных допускается принимать симметричное развитие фундамента по размерам, определенным в одностороннем шурфе. Отметка заложения фундамента определяется нивелированием.

Обследование материалов фундаментов должно выполняться неразрушающими методами или лабораторными испытаниями. Пробы материалов фундаментов для лабораторных испытаний отбирают в тех случаях, когда их прочность является решающей при определении возможности дополнительной нагрузки или в случае обнаружения разрушения материала фундамента.

Пробы допускается отбирать только из ленточных и сплошных фундаментов. В исключительных случаях допускается взятие проб из отдельных фундаментов на естественном основании и ростверков свайных фундаментов.

Отбор проб необходимо производить без снижения несущей способности фундаментов. Способы взятия и изготовления образцов должны обеспечивать неизменяемость структуры материала, его характеристик и связанных с этими факторами прочностных показателей исследуемого материала.

После отбора образцов места отбора зачищают и заделывают бетоном на крупном заполнителе.

После окончания шурфования и бурения выработки должны быть тщательно засыпаны с послойным трамбованием и восстановлением покрытия. Во время рытья шурфов и обследования необходимо принимать меры, предотвращающие попадание в шурфы поверхностных вод.

Результаты инженерно-геологических изысканий должны содержать данные, установленные СНиПом 2.02.01-88. «Основания зданий и сооружений», и необходимые для решения вопросов:

- определения свойств грунтов оснований для возможности надстройки дополнительных этажей, устройства подвалов и т.п.;

- выявление причин деформаций и определения мероприятий по усилению оснований, фундаментов, других надфундаментных конструкций;

- выбора типа гидроизоляции подземных конструкций, подвальных помещений;

- установления вида объема гидромелиоративных мероприятий на площадке.

Материалы инженерно-геологического обследования должны представляться в виде геолого-литологического разреза основания. Классификация грунтов проводится по ГОСТ 5180-84 «Грунты. Методы лабораторного определения физических характеристик». Пласты грунтов должны иметь высотные привязки. В процессе выполнения обследования ведется рабочий журнал, содержащий все условия проходки, атмосферные условия, зарисовки конструкций фундаментов, размеры и расположение шурфов и т.д.

Результаты лабораторных исследований оформляются протоколами и заносятся в рабочий журнал.







Date: 2015-06-06; view: 1197; Нарушение авторских прав



mydocx.ru - 2015-2026 year. (0.944 sec.) Все материалы представленные на сайте исключительно с целью ознакомления читателями и не преследуют коммерческих целей или нарушение авторских прав - Пожаловаться на публикацию