Главная Случайная страница


Полезное:

Как сделать разговор полезным и приятным Как сделать объемную звезду своими руками Как сделать то, что делать не хочется? Как сделать погремушку Как сделать так чтобы женщины сами знакомились с вами Как сделать идею коммерческой Как сделать хорошую растяжку ног? Как сделать наш разум здоровым? Как сделать, чтобы люди обманывали меньше Вопрос 4. Как сделать так, чтобы вас уважали и ценили? Как сделать лучше себе и другим людям Как сделать свидание интересным?


Категории:

АрхитектураАстрономияБиологияГеографияГеологияИнформатикаИскусствоИсторияКулинарияКультураМаркетингМатематикаМедицинаМенеджментОхрана трудаПравоПроизводствоПсихологияРелигияСоциологияСпортТехникаФизикаФилософияХимияЭкологияЭкономикаЭлектроника






Второй вопрос. Темперамент и примеры его исследования





Перерыв – 10 минут...

Темперамент – это врожденное свойство организма... Если мы зададим вопрос: в рамках какого подхода прежде всего изучается темперамент? Ответ здесь возможен только в рамках диагностических. Потому что темперамент – врожденное свойство организма, и кто-то обязательно вспомнит сейчас, что первым исследователем темперамента был Гиппократ. Фактически – исследование вопроса – что является врожденным основанием...

Темперамент – это формально динамическая сторона любой деятельности субъекта. Т.е. способность всегда специфична. Это способности к чему-то, к определенной области нашей жизни. Темперамент – напротив – свойство неспецифическое, касается любой деятельности субъекта. Гиппократ определяет темперамент по сочетанию жидкостей в теле человека (гуморально – жидкостно).

Второе врожденное основание, которое мы обязательно посмотрим, но в следующей, девятой теме (где будем говорить о типологиях индивидуальности), это – соотнесение темперамента, причем рядом поставим термин и характер. Основанием для темперамента или характера считают телесную конституцию[309], телосложение. Это еще одна возможность изучать врожденные основания для темперамента.

И все-таки в современной психологии и психофизиологии[310]таким основанием являются свойства нервной системы... Свойства нервной системы... и мы сейчас начинаем с азбуки проблемы темперамента – с типологии, предложенной когда-то И.П.Павловым. Имя известно, известны некоторые представления,... а в данном случае интересно, как физиолог начинает выделять психологические типы темперамента. [В соответствии с нашим сегодняшним праздником] типологию Павлова [изложим] истинно по-солдатски – по шагам.

 

Шаг 1. Выделение основных свойств нервной системы. (Ша­гов всего будет 3).

Павлов работал на рубеже веков – во многом сегодня его аргументация, методы аргументации обновлены.

1. Три свойства выделяет Павлов, а мы свойство первое будем именовать как некоторый бинарный фактор, разделение. Первое свойство именуется – сила/слабость нервной системы. Сила нервной системы – это устойчивость к длительному воздействию раздражителя. И поскольку говорим о Павлове, вспоминаем, что у него в теории особенным различением, которое касается всего, [в том числе] и данного свойства – раздражение/возбуждение – к раздражителю возбуждающего и тормозного (т.е. любого) типа. Сегодня сказали бы – толерантность, устойчивость. Сила.

2. Свойство 2. Тоже будет иметь 2 полюса. На одном – уравновешенность (баланс), на другом – неуравновешенность.

Уравновешенность нервной системы – это ее способность к переходу от возбуждения к торможению в критической ситуации.

 

И тогда маленький пример, который здесь не повредит. Павлов: на кожу собаки мы помещаем вибратор, и определенная вибрация связана, например, с процессом возбуждения. Вырабатывается условный рефлекс возбуждения... на определенную вибрацию. Затем берем другую частоту, близкую к первой, и вырабатываем тормозный рефлекс, тормозную реакцию. И наконец – что такое критическая ситуация? Две частоты близки: одна – [связана] с возбуждением, другая – с торможением[311].

Меняем постепенно частоту. Какие последствия? Их два. Одно состоит в том, что наш субъект плавно переходит от одной реакции к другой, иными словами, его поведение не нарушается. Эта критическая ситуация не приводит к разрушению поведения.

Тогда говорим: имеет место уравновешенность. Иначе – сшибка, сшибка двух реакций. И две реакции приходится переживать как бы одновременно – нет дифференциации между частотами, и возникает разрушение поведения. Тогда мы имеем дело с отсутствием баланса нервной системы. Неуравновешенность.

 

3. И последнее, третье свойство. Если в одно слово – его надо назвать подвижность. Если в два: подвижность-инертность [312]. Подвижность – это чисто темповая характеристика – скорость образования новых условных связей или скорость перехода от возбуждения к торможению.

Это был первый шаг.

 

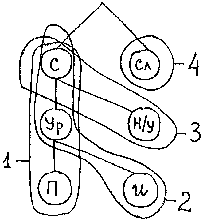
Второй шаг. Построение общих типов нервных систем. Давайте попробуем рассуждать вместе с Павловым. Он получил [на­бор свойств]. Он их выявил эмпирически, по спец методикам. Если теперь он будет сочетать эти свойства теоретически – построит граф – получит... количество сочетаний. Но его задача состоит в том, чтобы построить действительные типы нервных систем, т.е. эмпирически достоверные. И поэтому он действует так. Он берет свойство и начинает свою типологию Берет и начинает различать – вот сила и слабость нервной системы.


Сильный и слабый – типы нервной системы. Пора брать вторую характеристику. Но где ее применять? Имеет ли смысл применять второе свойство к слабому типу? Павлов отвечает: у слабого типа нет даже устойчивости к длительному действию раздражителя, критическая ситуация не характерна для данного типа изначально. ([Иными словами,] стоит ли устраивать сшиб носителям слабого типа нервной системы? Едва ли.) И поэтому мы применяем второе свойство как различительное только к сильному типу. Здесь мы говорим – уравновешенность/не­у­рав­но­ве­шен­ность.

Тогда он обращается к третьему свойству: стоит ли прим третье свойство к неуравновешенным, где нет самой возможности перехода от возбуждения к торможению? Стоит ли говорить о скорости перехода там, где нет самой возможности перехода? И поэтому только к уравновешенным Павлов применяет третье различение – подвижность-инертность.

Второй этап закончен И для Павлова он сразу же превращается в третий.

 

[Шаг] 3. Называние типов. Соотнесение типов нервных систем с определенной поведенческой картиной.

Сколько типов мы здесь находим?

Сильный – Уравновешенный – Подвижный. Первый тип. Он сразу получает название – сангвиник.

С – У – Инертный – флегматик.

С – Н/У – холерик.

Сл – меланхолик.

 

Павловская типология темперамента оставляет для его критиков, последователей... Две проблемы. У него – 3 шага, и между шагами от первого ко второму и от второго к третьему – первая проблема – проблема перехода от свойств к типам. Для Павлова ее не было. Для Павлова понятие тип – базовое понятие. Он не сомневался – чистые типы есть. Если возникает проблема, то рано или поздно она приводит к вопросу: «Есть ли чистые типы?»

Как только возникли типы нервных систем, они были соотнесены с типами темперамента. Темперамент – это и некоторая поведенческая память.

Возникает проблема (в инженерной, индустриальной психологии) соотнесения типов нервных систем и типов поведения.

 

Рассмотрим обе эти проблемы.

1. Проблема перехода от свойств к типам возникает как таковая уже в современной...психологии.

Снова появляется имя Теплова и его яркого ученика Небылицын. Остался в истории изучения темперамента – автор статей в медиц... Погиб в 42 года... Прискорбно, поскольку его концепция темперамента во многом отличалась от павловской и тепловской.

Об этой проблеме мы беседуем коротко, потому что это – соседняя область – дифференциальная психология.

Теплов в 50-60-е годы становится автором многих методик по изучению отдельных свойств нервных систем. Что делает Теплов как исследователь? Пересматривает первый этап, возвращает к первому этапу. Слишком жестко, однозначно были определены свойства. Методик изучения становится все больше и больше. И тогда (как и [в случае] со способностями) необходимо объединить методики и стоящие за ними свойства с помощью факторного анализа.

Что делал Теплов? Даже вот эти эмпирически выявленные типы нервных систем тепловских исследований не получили достаточной верификации. Он стал сомневаться и имел на это право – надо выделять как отдельное свойство уравновешенность. У него качественную разницу получило такое свойство как подвижность. Наряду с подвижностью – лабильность [313]– гибкость нервной системы при выполнении тек задачи. Грубо: методик стало больше – типы утратили чистоту. Это есть, и тогда какое-то понятие должно придти на смену типа. Он заменяет понятие тип понятием синдром свойств нервной системы. Синдром. Тоже словечко многозначное. Синдром – это совокупность свойств нервной системы, коррелирующих между собой.


Теплов – путем снизу, снизу вверх – от конкретных методик к обобщению и результат[у]. Вместо того, чтобы называть чистые типы, Теплов предпочитает – взять свойство силы и назвать – не свойство силы, а синдром свойств силы нервной системы. Иными словами – картинка, которая у нас еще не раз будет повторяться.

[Такие] свойства силы как устойчивость, толерантность становятся центральными. А в свою очередь становятся главными для образования синдрома свойств, группы. Среди вторичных свойств по отношению к силе коррелирующие с ней – высокие зрительные и слуховые пороги. Обладатели сильной нервной системы – люди с низкой чувствительностью. Параллельно возникают психологические выводы.

У Павлова слова сильная/слабая нагружены дополнительным смыслом (лучше иметь сильную нервную систему, чем слабую).

Теплов устраняет – нет однозначности... Если сила, толерантность – хорошо в одних ситуациях, то со слабой – высокая чувствительность – лучше в других ситуациях. Теплов – [есть] тип и воз­ни­к[а­ют] синдромы.

 

Теплов идет снизу вверх, и не так идет Небылицын – обобщ... путь выделения темперамента без выделения типов.

Небылицын: не следует выделять типы с одной стороны, но и не следует выделять отдельные частные свойства. В анализе темперамента нужно идти от некоторых глобальных, фундаментальных его характеристик.

60-е гг. А это годы в разных странах – годы исследования нервной системы: анатомии, функциональных структур.

Небылицын: следует выделять основные характеристики темперамента как функции анатомических структур. И он выделяет – в одних описаниях две, в других – три. Пусть у нас будет 1а, 1б и 2.

1а) Общая неспецифическая активность субъекта. 60-ее гг. Разные физиологи в мире обнаружили и описали анатомическую структуру в коре и подкорке – ретикулярную формацию[314]. Ее условно назвали – энергетический центр. Небылицын довольно легко подвинул (отставил в сторону) понятия – подвижность, лабильность... Он смотрел по крупному: энергетическая активность.

1б) Общая двигательная активность организма. Именно в эти годы психогенетики установили кто выигрывает на КИ. Выигрывает тот, у кого большая энергетика, кто может совершить большее количество движений в единицу времени.

2. И вторая характеристика по Небылицыну. Эмоциональность в вот каком смысле – тогда же – специально описали участки корковых и подкорковых центров, которые отвечают за дан... психические функции – эмоциональный мозг – лобно-лимбическая кора[315], отделы гиппокампа[316], гипофиз [317], найдена анатомическая структура, которая отвечает за эмоциональный контакт человека со средой.


В русском языке есть два смысла слова чувствительность. С одной стороны – органы чувств – способность к ощущению, а с другой – это как раз и есть эмоциональность. Одно слово – два смысла, и редкий случай, когда оба смысла совпадают. Высокая чувствительность и, можно сказать, – высокая чувственность организма...

 

Таково решение первой проблемы, решение проблемы перехода от свойств к типам.

 

2. Проблема перехода от нервной системы к типам поведения. Москвичи не первые специалисты в области дифференциальной психологии. Петербуржцы! И мы еще будем упоминать их... Есть еще один центр – Пермь, где когда-то работал ученик Павлова, аккуратный продолжатель его исследований по фамилии Мерлин. У него было немало учеников, одним из которых сегодня является декан факультета психологии МГУ. Это – индустриальный психолог Евгений Александрович Климов

Хотелось бы показать то, как человек, который начинает с физиологии и психофизиологии, переходит к психологическим понятиям.

Переход о типов нервной системы к типам поведения.

Если этой проблемой интересуется индустриальная психология – психология труда, она говорит не просто о поведении, а о профессиональной деятельности человека.

В 60-е гг Климов вводит понятие – индивидуальный стиль[318] деятельности профессиональной деятельности человека. Индивидуальный стиль деятельности – это совокупность способов освоения и осуществления определенной профессиональной деятельности, достигнутых при оптимальных условиях и высокой мотивации.

 

Структура индивидуального стимула может быть проиллюстрирована с помощью расходящихся концентрических окружностей. Состоит из ядра... трудно настоящему дифференциальному психофизиологу изменить своему подходу... здесь опять будет ядро.

Лет 10 назад вызывало улыбку второе слово. То, что является оболочкой ядра называется пристройка.

Что имеется в виду конкретно? Ядром является тип нервной системы, который по Павлову и есть определенный темперамент. Пристройка определяется характером той деятельности, которую осваивает субъект. Пристройка определяется характером деятельности. Здесь как бы новые веяния, которые нам уже знакомы по тепловскому представлению способности.

 

Ядро и пристройка. Здесь есть два варианта отношения между ними – классический и современный. Более ясен классический. Такой – если человек по темпераменту, например, обладает высокой неспецифической активностью (подвижностью, по Павлову)... Возникает героиня индустриальной психологии – швея-мо­то­ри­стка. Куда человеку с таким ядром?.. (и библиотекари).

И возникает второй вариант отношений.

Эти исследования тоже относятся к тепловской школе, и одно из них: людям с сильным и слабым типами нервных систем дается одно задание, которое нужно выполнять в течение 40 минут. Задание: считать в уме и записывать результат. Говорят: а в чем собственно будет результат... когда количественный результат фактически отсутствует...

По всем ожиданиям, конечно, сильные должны победить. Результат такой: никто по общей продуктивности не выиграл. Несколько выше по общей продуктивности – люди со слабым типом нервной системы. К получасу, 35 минутам – резко снижали продуктивность. Но в целом – продуктивность более высокая, чем у людей с сильным типом нервной системы.

 

Вывод: есть и обратное влияние. Не то что влияние пристройки на ядро... той деятельности, которую осваивает человек, на его исходные свойства нервной системы. Это влияние – компенсация, компенсаторное влияние, т.е. влияние, которое как бы снимает, компенсирует, преобразует, изменяет и т.д. особенности ядра.

 

А теперь заметим между прочим... слова в психологических исследованиях далеко не случайны. Как использовал Климов [понятие] стиль (не знаю, знал ли он Адлера к тому времени). «Стиль» – у Климова, «жизненный стиль» – у Адлера. А как у Адлера – жизненный стиль – форма преобразования природных данных (форма компенсации природных... дефектов(?)).

 

Характер и его формирование...

Пусть у нас третий вопрос первой темы будет очень коротким, потому что девятая тема также будет посвящена характеру.







Date: 2015-09-25; view: 633; Нарушение авторских прав



mydocx.ru - 2015-2026 year. (0.943 sec.) Все материалы представленные на сайте исключительно с целью ознакомления читателями и не преследуют коммерческих целей или нарушение авторских прав - Пожаловаться на публикацию