Главная Случайная страница


Полезное:

Как сделать разговор полезным и приятным Как сделать объемную звезду своими руками Как сделать то, что делать не хочется? Как сделать погремушку Как сделать так чтобы женщины сами знакомились с вами Как сделать идею коммерческой Как сделать хорошую растяжку ног? Как сделать наш разум здоровым? Как сделать, чтобы люди обманывали меньше Вопрос 4. Как сделать так, чтобы вас уважали и ценили? Как сделать лучше себе и другим людям Как сделать свидание интересным?


Категории:

АрхитектураАстрономияБиологияГеографияГеологияИнформатикаИскусствоИсторияКулинарияКультураМаркетингМатематикаМедицинаМенеджментОхрана трудаПравоПроизводствоПсихологияРелигияСоциологияСпортТехникаФизикаФилософияХимияЭкологияЭкономикаЭлектроника






Составление отчета





1.Цель работы, задание

2. Порядок проведения опыт

3. Задание.

4. Таблица экспериментальных данных.

5. Рисунок калориметра (рис.1)

6. График с определением ΔТ на миллиметровой бумаге, размером 15на15 см включить в отчет (рис.2).

7. Описание опыта.

8..Расчет ΔН и относительной погрешности η в %.

9. Вывод

10. Ответы на контрольные вопросы.

 

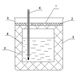
Рис. 1 Калориметр.

1. Внешний стакан

2. Крышка

3. Теплоизоляционная прокладка

4. Калориметрическая жидкость

5. Внутренний калориметрический стакан

6. Термометр

7. Отверстия для внесения испытуемых веществ

 

рис. 2

Графическое определение ΔТ.

 

 

СПИСОК ЛИТЕРАТУРЫ.

1..Глинка Н.Л. Задачи и упражнения по общей химии. Москва: Интеграл –

пресс, 2001 – 2006,66 -79 с.

2. Коровин Н. В. Общая химия. – М.: Высшая школа, 2004,116 -141 с.

3.Белозерова Т.И. Химия. Конспект лекций. в двух частях для. инженерно- технических (нехимических) специальностей.- Северодвинск: Севмашвтуз., 2009г.,часть1.

4. Белозерова Т.И. Термохимические расчеты. Химическое равновесие. Правило Ле Шателье. Методические указания к практическим работам. Севмашвтуз, 2006,

14с.







Date: 2015-09-22; view: 455; Нарушение авторских прав



mydocx.ru - 2015-2026 year. (0.374 sec.) Все материалы представленные на сайте исключительно с целью ознакомления читателями и не преследуют коммерческих целей или нарушение авторских прав - Пожаловаться на публикацию