Главная Случайная страница


Полезное:

Как сделать разговор полезным и приятным Как сделать объемную звезду своими руками Как сделать то, что делать не хочется? Как сделать погремушку Как сделать так чтобы женщины сами знакомились с вами Как сделать идею коммерческой Как сделать хорошую растяжку ног? Как сделать наш разум здоровым? Как сделать, чтобы люди обманывали меньше Вопрос 4. Как сделать так, чтобы вас уважали и ценили? Как сделать лучше себе и другим людям Как сделать свидание интересным?


Категории:

АрхитектураАстрономияБиологияГеографияГеологияИнформатикаИскусствоИсторияКулинарияКультураМаркетингМатематикаМедицинаМенеджментОхрана трудаПравоПроизводствоПсихологияРелигияСоциологияСпортТехникаФизикаФилософияХимияЭкологияЭкономикаЭлектроника






Расчет параметров буровзрывных работ

 

А. Общие положения и исходные данные

 

Расчет параметров буровзрывных работ производится на основе учета важнейших технологических характеристик взрываемых горных пород и условий осуществления выемочно-погрузочных работ, к которым прежде всего относятся основные параметры применяемых при погрузке взорванных пород экскаваторов.

Далее в отчёте приводятся исходные данные для конкретного варианта, включая данные о свойствах пород и принятом диаметре бурения.

 

Б. Оценка взрываемости горных пород и выбор типа ВВ

 

1. Категория пород по взрываемости оценивается по величине эталонного удельного расхода ВВ (при использовании аммонита ЖВ или граммонита 79/21) в соответствии с методикой В.В. Ржевского [1], базирующейся на учете объективных данных о свойствах горных пород:

q э = 0,2 (σсж + σсдв + σраст)+0,002 γ, г/м3,

где σсж, σсдв, σраст – пределы прочности пород на одноосное сжатие, сдвиг и растяжение, МПа;

γ – плотность пород, кг/м3.

В соответствии с установленной величиной q э по табл. 11 приложения устанавливается категория (класс) породы по взрываемости. С учетом категории пород по взрываемости и степени их обводненности по табл. 1. приложения или на основе лекционного материала производится выбор соответствующего типа ВВ (в табл.1 слабым породам соответствуют породы легко- и средней взрываемости, породам средней крепости – трудновзрываемые и породам крепким и весьма крепким – весьма трудно - и исключительно трудновзрываемые).

2. Расчет величины проектного удельного расхода ВВ. Производится по выражению:

q п = q э k вв k д k сз k тр k оп k v, г/м3,

где k вв – переводной коэффициент от эталонного ВВ к ВВ, принятому студентом выше (табл.13 приложения);

k д– коэффициент, учитывающий требуемою степень дробления породы. При расчетах его величину возможно принимать в соответствии с таблицей:

Категория пород по взрываемости I II III IV V
k д 1-1,2 1,2-1,5 2-2,5 2,5-3,5 3,5-4

 

(величина k д зависит также от вместимости ковша экскаватора: меньшие значения k д для той или иной категории пород при расчетах следует принимать при вместимости ковша экскаватора Е > 10 м3);

k сз – коэффициент, учитывающий степень сосредоточения заряда ВВ:

Категория пород по взрываемости Величина k сз.
d з = 100мм d з = 200мм d з = 300мм
I - II 0,95 - 1,0 1,0 1,05 - 1,1
III 0,85 - 0,9 1,0 1,2 - 1,25
IV - V 0,67 - 0,8 1,0 1,35 - 1,4

 

(диаметр заряда (d з), указанный в приведенной таблице, должен примерно соответствовать принятому в работе №3 диаметру долота);

k тр – коэффициент, учитывающий трещиноватость массива

k тр =1,2 l сртр + 0,2,

где – среднее расстояние между трещинами в массиве, м (принимается по данным работы №2);

k оп – коэффициент, учитывающий число обнаженных поверхностей уступа при взрыве, можно принять по таблице:

Количество обнаженных поверхностей            
Величина k оп 5,5 - 6 4,5 - 5 3,5 - 4 2,5 - 3 1,5 - 2  

k v – коэффициент, учитывающий влияние высоты уступа:

k v =

где Н у – высота уступа, м (принимается из условия задания по данной работе).

В. Определение параметров взрывных скважин

 

1. Длина скважины определяется по выражениям:

при наклонных скважинах L c = ;

при вертикальных скважинах L c = Н у + l п,

где Н у – высота уступа, м;

β – угол наклона скважины к горизонту, град;

l п – глубина перебура, м.

l п = (10÷15) d c,

где d c – диаметр скважины (заряда), м.

Меньшие значения l п принимаются в легковзврываемых породах и при применении наклонных скважин, а большие – в трудновзрываемых породах и при вертикальных скважинах.

При выборе расположения скважин предпочтение следует отдавать наклонным скважинам. В легковзрываемых породах допустимы вертикальные скважины.

 

Г. Расчет параметров расположения скважин на уступе

и величины заряда ВВ в скважине

 

1. Определение величины линии сопротивления по подошве уступа (W). Величина W зависит в основном от категории пород по взрываемости и от диаметра скважин (зарядов). При расчетах величину W можно принимать, исходя из следующих соотношений:

 

I – категория пород по взрываемости W =(45÷55) d c;

II - категория пород по взрываемости W = (40÷45) d c;

III - категория пород по взрываемости W = (35÷40) d c;


IV- категория пород по взрываемости W = (30÷35) d c;

V- категория пород по взрываемости W = (25÷30) d c.

2. Определение расстояния между скважинами в ряду (а)

а = m W, м

где m – коэффициент сближения скважин (m = ).

Величину m можно принимать в зависимости от угла между линией откоса уступа и указанным в исходных данных направлением максимальной скорости упругих волн в массиве (αув), которое соответствует направлению минимальной частоты трещин, т.е. направлению большой оси зоны дробления породы вокруг заряда. При расчетах можно принимать:

при αув = 60-90оm =0,7-0,9;

при αув = 0-30оm =1,1-1,3;

при 30о αув 60оm = 0,95-1,05.

3. Определение расстояния между рядами скважин (b):

при наклонных скважинах можно принимать b = W;

при вертикальных скважинах b = (0,85÷1,0) W.

4. Расчет величины заряда ВВ в скважине

Q зар = q п V с = q п Н у W а, кг,

где V с – объем части массива, взрываемого зарядом одной скважины, м3:

V с = H y W a, м3;

q п – проектный удельный расход ВВ, кг/м3.

5. Проверка величины заряда ВВ по вместимости скважины (Р)

Р = р l зар, кг,

где р – вместимость 1м скважины, кг/м;

l зар – длина заряда ВВ в скважине, м.

Вместимость 1м скважины

р = , кг/м,

где dc – диаметр скважины, м;

– плотность используемого ВВ, кг/м3.

Длина заряда ВВ в скважине

l зар = L cl заб , м,

где l заб – длина забойки, м:

l заб = (15÷20) d с, м

Вместимость скважины должна быть равна или близка расчетной массе заряда. Если они существенно отличаются друг от друга, то привести их в соответствие возможно за счет некоторого увеличения или уменьшения размеров сетки скважин (а ´ b) или за счет рассредоточения заряда ВВ по высоте и уменьшения в результате его массы (по материалам лекций).

6. Выбор формы сетки скважин

Количество рядов скважин при расчетах предварительно возможно принимать, исходя из общей ширины взрываемого блока (Ш вб) в пределах 15-30м.

Форму сетки скважин следует принимать в соответствии с величиной угла αув: при αув = 60-90о и αув =0-30о наилучшей будет шахматная форма сетки, а при αув от 30о до 60о – прямоугольная.

7. Определение выхода горной массы с 1м скважины. Примерное его значение вычисляется по выражению:

= = , м3/м,

где V c – объем горной массы, взрываемой зарядом одной скважины, м3.

8. Объем взрываемого блока целесообразно принимать соответствующим месячной производительность экскаватора:

V вб = , м3/ мес

Среднемесячную производительность экскаватора (при условии его работы по непрерывной рабочей неделе с учетом затрат времени на ремонты и пр.) при расчетах возможно принимать примерно в следующих объемах:

 

Категория пород по взрываемости Среднемесячная производительность экскаватора (тыс.м3) при вместимости ковша
5 м3 8 м3 12,5 м3 20 м3
I 180,0 300,0 400,0 570,0
II 165,0 270,0 385,0 540,0
III 150,0 240,0 360,0 510,0
IV 130,0 215,0 330,0 490,0
V 115,0 195,0 320,0 475,0

 

9. Определение объема буровых работ (V б) для обуривания подготавливаемого к взрыву блока и количества скважин на блоке (n c):


V б = , м,

n c = , шт.

10. Определение общей массы заряда, необходимой для взрывания блока:

Q общ = q п V вб, кг или Q общ = Q зар n c, кг.

11. Выбор схемы короткозамедленного взрывания (КЗВ) и определение времени замедления.

При легко - и средневзрываемых породах рекомендуется принимать порядную или диагональную схему КЗВ, а для трудновзрываемых пород – диагональную схему. При взрывании со сбросом породы в выработанное пространство при бестранспортной технологии необходимо использовать только порядную схему взрывания.

Время замедления должно определяться, в соответствии с свойствами горных пород:

I категория пород по взрываемости t зам = 55-70мс;

II категория пород по взрываемости t зам = 45-55мс;

III категория пород по взрываемости t зам = 35-45мс;

IV категория пород по взрываемости t зам = 25-35мс;

V категория пород по взрываемости t зам = 20-25мс.

В соответствии с принятым t зам выбираются средства короткозамедленного взрывания.

 

Д. Построение паспорта буровзрывных работ

 

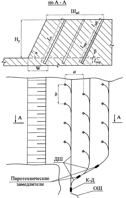
1. В соответствии с установленными параметрами скважинных зарядов, параметрами их расположения на уступе и принятой схемой короткозамедленного взрывания приводится графическое представление параметров буровзрывных работ – строится паспорт БВР.

Паспорт БВР вычеркивается на отдельном листе формата А4 в масштабе от 1:200 до 1:350 (в зависимости от высоты уступа) в профиле и плане с нанесением численных значений всех установленных параметров (рис.1).

Паспорт сопровожда-ется помещаемой на этом же листе таблицей. В ней приво-дятся все другие данные по проекту взрыва, которые не могут быть показаны графи-чески (категория пород по взрываемости, тип ВВ, его удельный расход, масса заря-да и др.).

Рис.1.



<== предыдущая | следующая ==>
Завдання 3. У поточному році рентабельність операційної діяльності підприємства становила 27%, а сума прибутку – 289614 грн | Задача 4. Финансовый менеджмент





Date: 2015-09-22; view: 1396; Нарушение авторских прав



mydocx.ru - 2015-2026 year. (0.327 sec.) Все материалы представленные на сайте исключительно с целью ознакомления читателями и не преследуют коммерческих целей или нарушение авторских прав - Пожаловаться на публикацию