Главная Случайная страница


Полезное:

Как сделать разговор полезным и приятным Как сделать объемную звезду своими руками Как сделать то, что делать не хочется? Как сделать погремушку Как сделать так чтобы женщины сами знакомились с вами Как сделать идею коммерческой Как сделать хорошую растяжку ног? Как сделать наш разум здоровым? Как сделать, чтобы люди обманывали меньше Вопрос 4. Как сделать так, чтобы вас уважали и ценили? Как сделать лучше себе и другим людям Как сделать свидание интересным?


Категории:

АрхитектураАстрономияБиологияГеографияГеологияИнформатикаИскусствоИсторияКулинарияКультураМаркетингМатематикаМедицинаМенеджментОхрана трудаПравоПроизводствоПсихологияРелигияСоциологияСпортТехникаФизикаФилософияХимияЭкологияЭкономикаЭлектроника






Точность построения внешней и внутренней разбивочных сетей





Характеристика зданий, сооружений, строительных конструкций Средная квадратическая погрешность измерения (построения)
углов, угл. с линий превышений на станции, мм
Металлические конструкции с фрезерованными контактными поверхностями, сборные железобетонные конструкции, монтируемые методом самофиксации в узлах сооружений высотой от 100 до 120 м или с пролетами от 30 до 36 м    
Здания свыше 15 этажей, сооружения высотой от 60 до 100 мс пролетами от 18 до 30 м    
Здания свыше 5 до 15 этажей, сооружения высотой от 15 до 60 м или с пролетами от 6 до 18 м   2,5
Здания до 5 этажей, сооружения высотой до 15 м или с пролетами до 6 м    
Конструкции из дерева; инженерные сети, дороги, подъездные пути    
Земляные сооружения, в том числе с вертикальной планировкой    

 

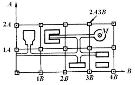
Строительная сетка на местности создается в виде системы квадратов или прямоугольников, ориентированных параллельно осям сооружений (рис. 2.4). В зависимости от характера строящихся объектов длина стороны квадратов или прямоугольников может составлять от 20 до 200 м.

Для удобства пользования строительная сетка создается в условной системе координат. Начало системы координат выбирают так, чтобы все пункты имели положительные координаты, для этого начало координат совмещают с пунктом, расположенным в юго-западной вершине строительной сетки. Ось абсцисс обычно условно обозначают буквой А, а ось ординат – буквой В. В соответствии с этим линиям строительной сетки присваивают порядковую нумерацию (1 А, 2 А,..., 1 В, 2 В,...). Обозначения пунктов сетки содержат информацию об их координатах. Так, пункту 2 А 3 В соответствуют координаты А = 200 м и В = 300 м. По этому же правилу координаты точки М (А = 157,01 м; В = 345,96 м) записывают в виде 1 А + 57,01; 3 В + 45,96.

Рис. 2.4. Строительная сетка

 

Работы по созданию строительной сетки включают в себя проектирование, предварительную разбивку, определение фактических координат центров пунктов и редуцирование (перемещение) пунктов в их проектное положение.

Проектирование строительной сетки выполняют обычно на стройгенплане, на который нанесены не только постоянные, но и временные сооружения. Сначала строительную сетку чертят на кальке и накладывают на стройгенплан. Кальку размещают так, чтобы направления осей строительной сетки были параллельны осям сооружений, а линии сетки не проходили через проектируемые и существующие сооружения. Так как в последующем вершины квадратов (прямоугольников) должны надежно закрепляться постоянными знаками, то последние должны быть удалены от бровки котлованов на расстояния, превышающие двойную глубину котлована. При невозможности соблюдения этих требований разрешается производить параллельные смещения отдельных линий сетки. Затем вершины строительной сетки перекалывают на стройгенплан и определяют координаты пунктов сети и координаты точек сооружений. Переход от плоских прямоугольных координат Гаусса (x, y) к условной системе координат (А, В) и наоборот осуществляют по формулам

; (2.1)

; (2.2)

; (2.3)

, (2.4)

где x 0, y 0 – плоские прямоугольные координаты Гаусса начала условной системы координат (снимают со стройгенплана графически); – дирекционный угол направления оси А в системе координат x, y (вычисляют по прямоугольным координатам двух пунктов строительной сетки).

Предварительную разбивку начинают с выноса в натуру трех точек оси (стороны) строительной сетки, например O, М и N (рис. 2.5). Необходимые разбивочные угловые и линейные размеры вычисляют по координатам ближайших геодезических пунктов и пунктов сетки. Три точки оси (см. рис. 2.5) вынесены методом прямой засечки по отложенным горизонтальным углам и . Створность точек O, М и N проверяют теодолитом и при обнаружении нестворности их перемещают. Затем от точки O, принятой за начальную, путем линейных построений разбивают все другие точки стороны ON. Вторую ось ОК разбивают сточки O построением прямого угла теодолитом, положение остальных точек оси OK находят из линейных измерений.

Положение всех других точек сетки определяют построением перпендикуляров из точек разбитых осей ON и OK (см. рис. 2.5).

Предварительную разбивку завершают закреплением точек сетки временными знаками (деревянными столбами) или сразу постоянными знаками. В качестве постоянных знаков используют железобетонные монолиты или трубы с приваренной к ним сверху горизонтальной плитой размером порядка 20´20 см.


 

Рис. 2.5. Предварительная разбивка строительной сетки

 

Действительные координаты предварительно разбитых пунктов строительной сетки определяют методом триангуляции, трилатерации, полигонометрии или с помощью геодезических засечек. Выбор метода зависит от размеров строительной площадки, рельефа местности, наличия геодезических приборов и других условий. Углы измеряют теодолитами Т2 и Т5, а длины линий – электронно-оптическими дальномерами. Точность измерений для построения строительной сетки подбирается по характеристике объектов строительства (см. табл. 2.1).

Действительные координаты пунктов сетки получают в результате уравнительных вычислений. Полученные координаты пунктов сравнивают с их проектными значениями, и если они не совпадают, то выполняют редуцирование центров пунктов сетки. На плите постоянного знака центр пункта перемещают по величинам разностей координат A и B в проектное положение и закрепляют путем кернения.

Работы по созданию строительной сетки и других разбивочных сетей должны быть завершены заказчиком не менее чем за 10 дней до начала строительства и переданы по акту подрядчику.

 

2.1.2. Содержание и основные этапы выполнения
геодезических разбивочных работ

 

Геодезические работы, выполняемые с целью перенесения в натуру запроектированных сооружений, называются разбивочными работами. Практически эти работы сводятся к выносу и закреплению на местности отдельных точек, осей и отметок, определяющих проектные положения частей и конструктивных элементов сооружения. Принята строгая последовательность выполнения разбивочных работ, вытекающая из основного принципа геодезии «от общего к частному». Вначале определяют от пунктов разбивочной сети строительной площадки положение на местности главных (основных) разбивочных осей и закрепляют их пунктами внешней разбивочной сети сооружения. Затем создают внутреннюю разбивочную сеть сооружения в виде пунктов, закрепляющих на исходном и других монтажных горизонтах главные (основные) оси. И только после этого приступают к детальным разбивочным работам, предшествующим всем этапам возведения сооружения.

Главные оси (оси симметрии сооружения) выносят в тех случаях, когда сооружение имеет сложную конфигурацию или большие размеры, а также когда группа сооружений имеет технологические связи.

При строительстве небольших сооружений выносят и закрепляют основные разбивочные оси (линии, определяющие контур наружных стен сооружения в плане). В этом случае вначале от ближайших пунктов разбивочной сети строительной площадки выносят две крайние точки, определяющие положение оси длинной стороны сооружения. Поперечные оси разбивают с ранее вынесенных точек оси путем построения прямых углов. Разбивочные работы контролируют промерами до пунктов разбивочной сети строительной площадки, не применявшихся при перенесении в натуру данной оси.

Вынос точек и осей производится промерами по сторонам строительной сетки способами полярных и прямоугольных координат, линейных и угловых засечек и т. д. Примеры разбивки главных осей промерами по сторонам строительной сетки и основной оси полярным способом показаны на рис. 2.6.


 

 

Рис. 2.6. Разбивка осей сооружения

 

Рис. 2.7. Разбивочный чертеж

 

Главные и основные оси сооружений являются основой для детальных разбивочных работ, в процессе которых на монтажные горизонты выносятся внутренние, монтажные и установочные оси.

Внутренними осями являются проектные оси конструктивных элементов сооружений. Монтажными называют оси, параллельные внутренним осям и смещенные в сторону от них для удобства выполнения строительно-монтажных работ. Установочными осями являются оси симметрии монтируемых конструктивных элементов и оборудования.

Основными элементами (видами) геодезических разбивочных работ являются:

построение на местности проектных углов;

построение на местности линий заданной длины;

построение на местности линий (осей) в заданном направлении;

вынос в натуру точек с заданными координатами и отметками;

построение на местности линий и плоскостей с проектными уклонами.

Исходными данными для разбивочных работ служат генеральный план строительной площадки и разбивочные чертежи.

По генеральному плану, содержащему пункты разбивочной сети строительной площадки, проектируемые и существующие сооружения, местные предметы и рельеф, намечают способы разбивочных работ и определяют необходимые для их осуществления основные и контрольные разбивочные размеры (углы, расстояния, превышения, уклоны). После уточнения на местности способов разбивочных работ по проектным координатам и высотам точек (взаимному расположению конструктивных элементов) вычисляют точные разбивочные размеры и составляют разбивочные чертежи – схемы выполнения разбивочных работ (рис. 2.7).

 







Date: 2015-09-18; view: 543; Нарушение авторских прав



mydocx.ru - 2015-2026 year. (0.341 sec.) Все материалы представленные на сайте исключительно с целью ознакомления читателями и не преследуют коммерческих целей или нарушение авторских прав - Пожаловаться на публикацию