Главная Случайная страница


Полезное:

Как сделать разговор полезным и приятным Как сделать объемную звезду своими руками Как сделать то, что делать не хочется? Как сделать погремушку Как сделать так чтобы женщины сами знакомились с вами Как сделать идею коммерческой Как сделать хорошую растяжку ног? Как сделать наш разум здоровым? Как сделать, чтобы люди обманывали меньше Вопрос 4. Как сделать так, чтобы вас уважали и ценили? Как сделать лучше себе и другим людям Как сделать свидание интересным?


Категории:

АрхитектураАстрономияБиологияГеографияГеологияИнформатикаИскусствоИсторияКулинарияКультураМаркетингМатематикаМедицинаМенеджментОхрана трудаПравоПроизводствоПсихологияРелигияСоциологияСпортТехникаФизикаФилософияХимияЭкологияЭкономикаЭлектроника






Колодцевая кладка с монолитным легкобетонным или засыпным утеплителем





39.Кирпичная колодцевая кладка:

Кирпичные стены из монолитного полистиролбетона с утеплителем:

Для малоэтажных зданий для зданий средней этажности

Колодцевая кладка с плитным утеплителем и воздушной прослойкой

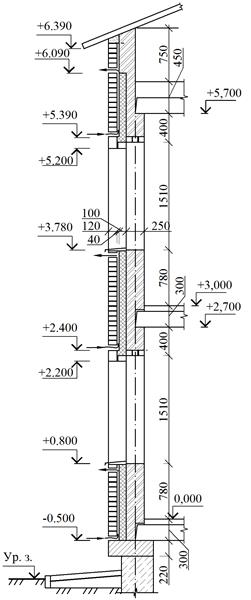
Разрез по наружной кирпичной стене жилого дома

Кирпично-бетонная кладка

Кирпичная кладка с уширенным швом

С воздушным зазором с утеплителем

41 Кирпичная кладка с внутренним утеплителем стен.

Кирпичная кладка с теплоизоляционным слоем

С наружной стороны

Три конструктивных решения:

- лицевая кладка из облицовочного кирпича или керамических камней;

- защитно-декоративная штукатурка;

- навесная фасадная облицовка.

Стена с облицовочным самонесущим слоем из кирпича







Date: 2015-09-05; view: 2512; Нарушение авторских прав



mydocx.ru - 2015-2026 year. (1.062 sec.) Все материалы представленные на сайте исключительно с целью ознакомления читателями и не преследуют коммерческих целей или нарушение авторских прав - Пожаловаться на публикацию