Главная Случайная страница


Полезное:

Как сделать разговор полезным и приятным Как сделать объемную звезду своими руками Как сделать то, что делать не хочется? Как сделать погремушку Как сделать так чтобы женщины сами знакомились с вами Как сделать идею коммерческой Как сделать хорошую растяжку ног? Как сделать наш разум здоровым? Как сделать, чтобы люди обманывали меньше Вопрос 4. Как сделать так, чтобы вас уважали и ценили? Как сделать лучше себе и другим людям Как сделать свидание интересным?


Категории:

АрхитектураАстрономияБиологияГеографияГеологияИнформатикаИскусствоИсторияКулинарияКультураМаркетингМатематикаМедицинаМенеджментОхрана трудаПравоПроизводствоПсихологияРелигияСоциологияСпортТехникаФизикаФилософияХимияЭкологияЭкономикаЭлектроника






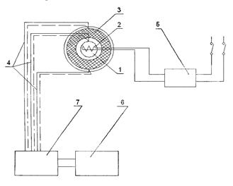
Описание экспериментальной установки

Экспериментальная установка (рисунок 2.1) состоит из двух целых медных никелированных шаров м и м. Наружный шар укреплен на подставке. Внутри наружного шара размещен концентрично внутренний полый шар, внутри которого размещен нагревательный элемент. Между шаровыми поверхностями в сферическом кольце размещается исследуемый материал – песок.

Датчиками температуры служат три термопары “медь-константан”, две из которых размещены на поверхности внешнего шара.

Температура наружного шара определяется как полусумма показателей

термопар.

Рисунок 2.1 – Экспериментальная установка:

1- исследуемая изоляция; 2 – сферическая камера; 3 – нагреватель нихромовый; 4 – термопары “медь-константан”; 5 – проводка термопар;

6 – преобразователь;

7 – компьютер; 8 – блок питания.

 

Замеры производить через 10 минут до уверенности в наступлении установившегося режима. Установившийся режим определяется трехкратным повторением температур на поверхности шаров и их разности, а также по графикам приложения Excel. По результатам замеров построить график (рисунок 2.2)

Рисунок 2.2 – График температур и их разности.

 

Горизонтальные участки графиков соответствуют установившемуся стационарному режиму, при котором все выделяемое нагревателем тепло за счет теплопередачи отводится в окружающую среду.

Определив q и Dt на стационарном режиме, по формуле 1.14 определить искомый коэффициент теплопроводности. Данные замеров занести в таблицу 2.1

 

Таблица 2.1 – Экспериментальные данные

I, A U, B
№ п/п замера t, мин , , , , ,
             

 

 

 




<== предыдущая | следующая ==>
 | 





Date: 2015-09-05; view: 272; Нарушение авторских прав



mydocx.ru - 2015-2026 year. (0.735 sec.) Все материалы представленные на сайте исключительно с целью ознакомления читателями и не преследуют коммерческих целей или нарушение авторских прав - Пожаловаться на публикацию