Главная Случайная страница


Полезное:

Как сделать разговор полезным и приятным Как сделать объемную звезду своими руками Как сделать то, что делать не хочется? Как сделать погремушку Как сделать так чтобы женщины сами знакомились с вами Как сделать идею коммерческой Как сделать хорошую растяжку ног? Как сделать наш разум здоровым? Как сделать, чтобы люди обманывали меньше Вопрос 4. Как сделать так, чтобы вас уважали и ценили? Как сделать лучше себе и другим людям Как сделать свидание интересным?


Категории:

АрхитектураАстрономияБиологияГеографияГеологияИнформатикаИскусствоИсторияКулинарияКультураМаркетингМатематикаМедицинаМенеджментОхрана трудаПравоПроизводствоПсихологияРелигияСоциологияСпортТехникаФизикаФилософияХимияЭкологияЭкономикаЭлектроника






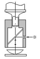
Кольца Ньютона





Цель работы: наблюдение интерференционной картины колец Ньютона, экспериментальное определение радиуса кривизны линзы и длины световой волны.

Приборы и принадлежности: микроскоп МИ–1, система «линза-стеклянная пластинка» в оправе, осветитель ОИ-19, светофильтры.

 
 

Условие интерференционного максимума ___________________________

 

.

Условие интерференционного минимума ___________________________

 

 

Упражнение 1. Определение радиуса кривизны линзы.

 

 

 

- ___________________________________

- ___________________________________

λ - ___________________________________

k, m - ____________________________

 

Таблица 1

№   , ,
               
           
           

 

Пример вычислений:

 

Упражнение 2. Определение длины световой волны.

 

 

Таблица 2

№  
               
           
           

 

 

Выводы

 

________________________________________________________________________________________________________________________________________________________________________________________________________________________________________________________________________________________________________________________________________________________________________________________________________________________________________

 

 

Лабораторная работа № 6







Date: 2015-09-05; view: 401; Нарушение авторских прав



mydocx.ru - 2015-2026 year. (0.574 sec.) Все материалы представленные на сайте исключительно с целью ознакомления читателями и не преследуют коммерческих целей или нарушение авторских прав - Пожаловаться на публикацию