Главная Случайная страница


Полезное:

Как сделать разговор полезным и приятным Как сделать объемную звезду своими руками Как сделать то, что делать не хочется? Как сделать погремушку Как сделать так чтобы женщины сами знакомились с вами Как сделать идею коммерческой Как сделать хорошую растяжку ног? Как сделать наш разум здоровым? Как сделать, чтобы люди обманывали меньше Вопрос 4. Как сделать так, чтобы вас уважали и ценили? Как сделать лучше себе и другим людям Как сделать свидание интересным?


Категории:

АрхитектураАстрономияБиологияГеографияГеологияИнформатикаИскусствоИсторияКулинарияКультураМаркетингМатематикаМедицинаМенеджментОхрана трудаПравоПроизводствоПсихологияРелигияСоциологияСпортТехникаФизикаФилософияХимияЭкологияЭкономикаЭлектроника






Технические характеристики огнетушителей воздушно-пенных





Наименование показателей Значения показателей
ОВП-5 ОВП-10
Вместимость корпуса, л    
Объем раствора ОТВ, л 4,5 9,0
Огнетушащая способность при тушении модельного очага пожара кл. А
кл. В, (м2) 34В (1,07) 55В (1,73)
Длина струи огнетушащего вещества, м 3,0 3,5
Продолжительность подачи огнетушащего вещества, с    
Рабочее давление, МПа (кгс/см2) 1,2 (12) 1,17 (12)
Кратность пены по генератору Низкая - средняя Низкая - средняя
Диапазон рабочих температур, оС от плюс 5 до 50 от плюс 5 до 50
Габаритные размеры, мм Высота 415, Æ150 Высота 690, Æ175
Масса огнетушителя полная, кг 7,4  
Средний срок службы, лет    
Срок между переосвидетельствованиями, год    

Б.4.2 Огнетушители воздушно-пенные закачные ОВП-5(з) и ОВП-10(з) имеют устройство аналогично порошковым закачным (см. рис. Б.7), только вместо порошка они заправляются водным раствором, а на гибком шланге имеется насадок с пенообразующим устройством.

 
 

Рис. Б.10 – Огнетушители ОВП-5(з) и ОВП-10(з)

Порядок приведения и принцип действияогнетушителей ОВП-5(з) и ОВП-10(з) аналогичен порошковым закачным огнетушителям.

Технические характеристики огнетушителей воздушно-пенных закачных

Наименование показателей Значения показателей
ОВП-5 (з) ОВП-10 (з)
Марка и масса огнетушащего вещества (ОТВ):    
углеводородный заряд по ТУ 4854-050-0857830, кг; 1,0 2,0
Вместимость корпуса, л 5,12 10,25
Объем раствора ОТВ, л 4,0 8,0
Огнетушащая способность при тушении модельного очага пожара кл. А
кл. В, (м2) 34В (1,07) 55В (1,73)
Длина струи огнетушащего вещества, м 3,0 3,0
Продолжительность подачи огнетушащего вещества, с    
Кратность пены по генератору Низкая - средняя Низкая - средняя
Диапазон рабочих температур, оС от 5 до 50 от 5 до 50
Габаритные размеры, мм Высота 415, Æ150 Высота 510, Æ184
Масса огнетушителя полная, кг 7,4 13,7
Средний срок службы, лет    
Срок между переосвидетельствованиями, год    

 

Б.4.3 Огнетушители водные мелкодисперсные ОВМ-5 и ОВМ-10 используются как первичные средства пожаротушения пожаров классов А (твердые горючие материалы), В (горючие жидкости и твердые плавящиеся материалы), С (горючие газы).

Огнетушители не применяются для тушения электроустановок под напряжением и щелочных металлов.

 

 

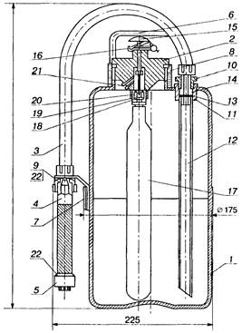
1 - корпус; 2 - головка; 3 - рукав; 4 - рукоятка; 5 - ороситель; 6 - ручка; 7 - скоба; 8 - прокладка; 9 - фильтр; 10 - штуцер; 11 - втулка; 12 - трубка сифонная; 13 - мембрана; 14 - прокладка; 15 - игла пусковая; 16 - чека предохранительная; 17 - баллон пусковой; 18 - мембрана: 19 - сухарь; 20 - втулка прижимная; 21 - штуцер; 22 – прокладка

 

Рис. Б.11 – Огнетушитель ОВМ-5 (ОВМ-10):







Date: 2015-09-19; view: 483; Нарушение авторских прав



mydocx.ru - 2015-2026 year. (0.472 sec.) Все материалы представленные на сайте исключительно с целью ознакомления читателями и не преследуют коммерческих целей или нарушение авторских прав - Пожаловаться на публикацию