Главная Случайная страница


Полезное:

Как сделать разговор полезным и приятным Как сделать объемную звезду своими руками Как сделать то, что делать не хочется? Как сделать погремушку Как сделать так чтобы женщины сами знакомились с вами Как сделать идею коммерческой Как сделать хорошую растяжку ног? Как сделать наш разум здоровым? Как сделать, чтобы люди обманывали меньше Вопрос 4. Как сделать так, чтобы вас уважали и ценили? Как сделать лучше себе и другим людям Как сделать свидание интересным?


Категории:

АрхитектураАстрономияБиологияГеографияГеологияИнформатикаИскусствоИсторияКулинарияКультураМаркетингМатематикаМедицинаМенеджментОхрана трудаПравоПроизводствоПсихологияРелигияСоциологияСпортТехникаФизикаФилософияХимияЭкологияЭкономикаЭлектроника






Будова та призначення нівеліра Н-3





Нівелір Н-3 – точний нівелір з циліндричним рівнем і елеваційним гвинтом. Середня квадратична похибка визначення висоти точки на 1 км ходу складає не більше 3 мм (рис.2.1.1).

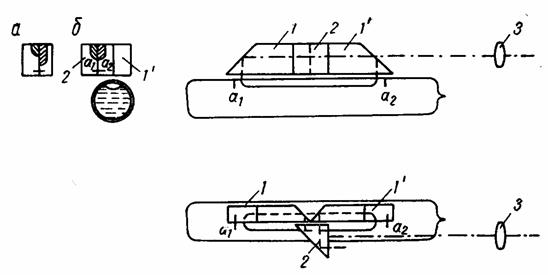
Рис.2.1.1. Нівелір Н3:

1 -круглий рівень, 2 -елеваційний гвинт, 3 -зорова труба нівеліра, 4 -гвинт кремальєри, 5 -закрепний гвинт зорової труби нівеліра, 6 -мікрометерний гвинт зорової труби нівеліра, 7 -підставка нівеліра, 8 -піднімальні гвинти підставки нівеліра, 9 -пружинна пластинка

Нівелір Н-3 (рис.2.1.1, а) складається із двох основних частин: підставки (тригера), в якій повертається циліндрична вісь, і горизонтальної опорної площадки із зоровою трубою 3 з внутрішнім фокусуванням і збільшенням 30×. Фокусування труби виконується при допомозі кремальєри 4. До труби прикріплений контактний циліндричний рівень і закритий металевою кришкою. Елеваційний гвинт 2, який служить для приведення кінців бульбашки циліндричного рівня в контакт. Зображення кінців бульбашки через систему призм 1, 1′, 2 і лінзи 3 та передається в поле зору труби. Завдяки лінзи в полі зору труби нівеліра видно одночасно обидва кінці рівня, розрізаного за вертикальною віссю (рис.2.1.2, а).

 

 

 

Рис.2.1.2. Контактний рівень з призмовою системою:

а) поділ рівня на дві частини;

б) приведення половинок рівня в контакт

Перед тим, як зняти відлік з рейки повертають в ту чи іншу сторону елеваційний гвинт і добиваються суміщення його кінців (приводять в контакт рис.2.1.2, б). Завдяки цьому візирна вісь зорової труби приводиться в горизонтальне положення. Після цього спостерігач знімає відліки з рейки. Нівелір Н-3 є малогабаритним і вагою 2 кг без футляра (рис.2.1.1, а). Він має закріпний гвинт 5 і мікрометерний гвинт 6 та круглий рівень 1 для приведення його в робоче положення.

 

 







Date: 2015-09-19; view: 2218; Нарушение авторских прав



mydocx.ru - 2015-2026 year. (1.692 sec.) Все материалы представленные на сайте исключительно с целью ознакомления читателями и не преследуют коммерческих целей или нарушение авторских прав - Пожаловаться на публикацию