Главная Случайная страница


Полезное:

Как сделать разговор полезным и приятным Как сделать объемную звезду своими руками Как сделать то, что делать не хочется? Как сделать погремушку Как сделать так чтобы женщины сами знакомились с вами Как сделать идею коммерческой Как сделать хорошую растяжку ног? Как сделать наш разум здоровым? Как сделать, чтобы люди обманывали меньше Вопрос 4. Как сделать так, чтобы вас уважали и ценили? Как сделать лучше себе и другим людям Как сделать свидание интересным?


Категории:

АрхитектураАстрономияБиологияГеографияГеологияИнформатикаИскусствоИсторияКулинарияКультураМаркетингМатематикаМедицинаМенеджментОхрана трудаПравоПроизводствоПсихологияРелигияСоциологияСпортТехникаФизикаФилософияХимияЭкологияЭкономикаЭлектроника






Ремонт и испытание кранов машиниста, применяемых в стендах для испытания воздухораспределителей пассажирского типа и установках для испытания тормоза пассажирских вагонов





 

 

44.1 Общие требования

 

44.1.1 Для проверки кранов машиниста, применяемых в стендах для испытания воздухораспределителей и установках для испытания тормоза на пассажирском вагоне, магистральный резервуар объемом 55 л стенда или установки следует подключить к крану машиниста. Остальные устройства стенда или установки должны быть отключены от этого резервуара.

44.1.2 Проверка работы кранов машиниста производится при установленном в магистральном резервуаре зарядном давлении
0,5-0,52 Мпа (5,0-5,2 кгс/см2).

44.1.3 В кранах машиниста 394, 395 отверстие диаметром 1,6 мм, соединяющее уравнительный резервуар с полостью над уравнительным поршнем в промежуточной части крана, должно быть рассверлено до диаметра 2,5 мм.

44.1.4 В соответствии с Инструкцией по техническому обслуживанию, ремонту и испытанию тормозного оборудования локомотивов и моторвагонного подвижного состава ремонт и испытание кранов производится планово – не реже одного раза в год, и внепланово – по мере необходимости

 

44.2 Проверка крана машиниста 326

 

44.2.1 Для проверки крана машиниста 326 необходимо проверить его на чувствительность – на поддержание установленного давления в магистральном резервуаре во всех положениях ручки крана (кроме положения I) при создании утечки из резервуара через отверстие диаметром 2 мм. При этом допускается изменение давления в резервуаре не более чем на 0,015 Мпа (0,15 кгс/см2) по сравнению с установившимся без утечки.

 

44.3 Проверка кранов машиниста 394 и 395

 

44.3.1 Проверить чувствительность крана машиниста на поддержание установленного давления в магистральном резервуаре при II (поездном) положении ручки крана. При создании утечки из магистрального резервуара через отверстие диаметром 2 мм изменение давления в нем должно быть не более чем на 0,015 Мпа (0,15 кгс/см2).

44.3.2 Прекратить утечку воздуха из магистрального резервуара и перевести ручку крана машиниста из поездного в IV положение (перекрыша с питанием магистрали). В течение 3 мин повышение давления в магистральном резервуаре не допускается, а снижение допускается не более чем на 0,01 Мпа (0,1 кгс/см2).

44.3.3 Снизить давление в уравнительном резервуаре крана машиниста на 0,15 Мпа (1,5 кгс/см2) V положением ручки крана и затем перевести ее в
IV положение. Повышение давления в уравнительном резервуаре в этом положении допускается не более чем на 0,03 Мпа (0,3 кгс/см2) за 40 с.

44.3.4. Проверить время снижения давления в магистральном резервуаре V положением ручки крана машиниста с 0,5 до 0,4 Мпа (с 5 до 4 кгс/см2 ), которое должно быть от 4 до 6 с.

 

44.4 Проверка кранов машиниста 334 и 334Э

 

44.4.1 Проверка кранов машиниста 334 и 334Э производится в соответствии с пунктами 44.3.1, 44.3.2, 44.3.4 при использовании соответствующих положений ручки крана 334 и 334Э: по пункту 44.3.1 -
II положение (поездное); по пункту 44.3.2 – III положение (перекрыша без питания); по пункту 44.3.4 - IV положение (служебное торможение).

 

44.5 Проверка устройств, заменяющих краны машиниста

 

44.5.1 Чувствительность на поддержание установленного давления в магистральном резервуаре при зарядном давлении в резервуаре, а также после снижения давления в нем на 0,05-0,07 Мпа (0,5-0,7 кгс/см2) и на
0,15-0,2 Мпа (1,5-2,0 кгс/см2) аналогично пункту 44.3.1

44.5.2 Время снижения давления в магистральном резервуаре темпом служебного торможения с 0,5 до 0,4 Мпа (с 5 до 4 кгс/см2), которое должно быть от 4 до 6 с.

 

 


 

Приложение А

(справочное)

 

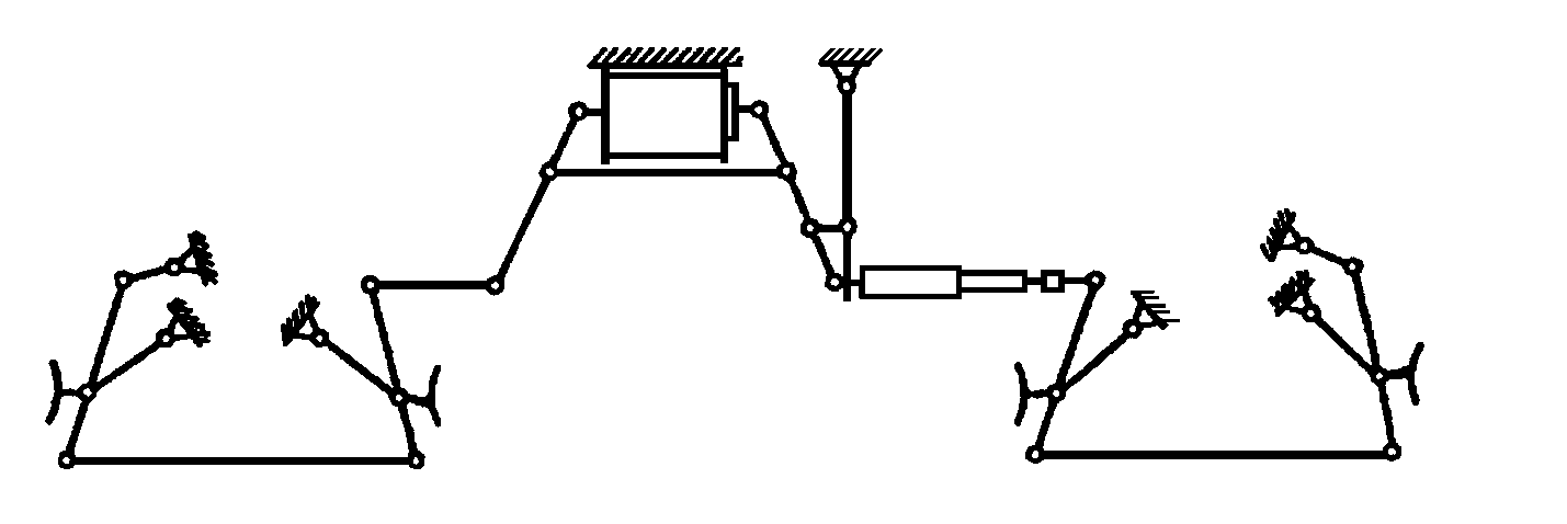
Схемы тормозных рычажных передач основных типов грузовых вагонов

 

 

    Рисунок А.1 – Схема тормозной рычажной передачи грузового четырехосного вагона

 

 

 

 

Рисунок А.2 – Схема тормозной рычажной передачи вагона – хоппера для перевозки зерна (цемента, минеральных удобрений)

 

 

 

 

Рисунок А.3 – Схема тормозной рычажной передачи вагона – хоппера для перевозки окатышей

 

 

 

Рисунок А.4 – Схема тормозной рычажной передачи восьмиосного вагона-цистерны

 

 

 

Рисунок А.5 – Схема тормозной рычажной передачи шестиосного вагона-самосвала

 

 

 

Рисунок А.6 – Схема тормозной рычажной передачи четырехосного вагона с раздельным торможением

 


 

 

Рисунок А.7 – Схема тормозная рычажная вагона – хоппера
с раздельным торможением

 

 

 

Рисунок А.8 – Схема тормозной рычажной передачи рефрижераторного вагона

 

Приложение Б

(справочное)

 

Схемы и характеристики тормозных рычажных передач основных типов пассажирских вагонов

 

 

 

Рисунок Б.1 – Схема тормозной рычажной передачи пассажирского четырехосного цельнометаллического вагона

 

 

 

Рисунок Б.2 – Схема тормозной рычажной передачи пассажирского вагона международного сообщения габарита 03-Т (РИЦ) с тормозом КЕs

 

 

 

  Рисунок Б.3 – Схема тормозной рычажной передачи тележки ТВЗ ЦНИИ «М» пассажирского вагона ВЛ РИЦ    
       
Таблица Б.1 – Характеристики тормозных рычажных передач пассажирских вагонов    
  Рису-нок Тип вагона Размеры плеч рычагов, мм Переда-точное число  
   
  а б в г д е  
  Б.1 Четырехосный цельнометаллический пассажирский с тарой:                
  65-53 т 390 260     - - 12,0 5,3  
  52-48т 350 300     - - 9,3 4,4  
  47-42 т 330 320     - - 8,3 3,6  
  Пассажирский международного сообщения габарита 03-Т (РИЦ) с тормозом КЕs постройки с 1973 г.   585 - 215 -     - - 7,81  
  Б.2 Пассажирский ВЛ РИЦ на тележках ТВЗ ЦНИИ «М»         - - - 3,25  
  Б.3 Пассажирский ВЛ РИЦ на тележках ТВЗ ЦНИИ «М»         - - - 3,25  
                           

 

 

Приложение В

 

Перечень ремонтной документации, рекомендуемой для руководства при ремонте тормозного оборудования вагонов

 

610–ЦВ–2008 РД Регулятор тормозной рычажной передачи модели 574Б. Руководство по ремонту
Р 001 ПКБ ЦВ–2009 РК Триангель рычажной передачи тележек грузовых вагонов. Руководство по ремонту
Р 002 ПКБ ЦВ – 2010 РК Регуляторы тормозной рычажной передачи моделей РТРП-675 и РТРП-675М. Руководство по ремонту
Р 003 ПКБ ЦВ–2008 РК Краны концевые 190, 4304, 4304М. Руководство по ремонту
Р 004 ПКБ ЦВ–2008 РК Рукава соединительные Р17Б и Р36. Руководство по ремонту
Р 005 ПКБ ЦВ – 2000 РК Авторежим грузовой модели 265А – 1. Руководство по ремонту
Р 006 ПКБ ЦВ – 2000 РК Краны шаровые разобщительные Руководство по ремонту
Р 007 ПКБ ЦВ–2009 РК Камеры 295.001, 295М.001, 295М.002. Руководство по ремонту
Р 008 ПКБ ЦВ–2009 РК Воздухораспределители 483 и 483М. Руководство по ремонту
Р 009 ПКБ ЦВ–2008 РК Тормозной цилиндр модели 188Б. Руководство по ремонту
Р 010 ПКБ ЦВ–2009 РК Запасные резервуары Р7-78 и Р7-135. Руководство по ремонту
Р 011 ПКБ ЦВ – 2001 РК Воздухораспределитель 305. Руководство по ремонту
Р 013 ПКБ ЦВ – 2001 РК Воздухораспределители 292.000 и 292М.000. Руководство по ремонту
Р 015 ПКБ ЦВ – 2007 РК Руководство по ремонту магистральной части воздухораспределителя 483А
Р 016 ПКБ ЦВ–2008 РК Краны концевые 4314, 4314Б. Руководство по ремонту
Р 017 ПКБ ЦВ–2008 РК Авторежим грузовой 265А-4. Руководство по ремонту
Р 018 ПКБ ЦВ–2008 РК Цилиндр тормозной 710. Руководство по ремонту
Р 019 ПКБ ЦВ–2008 РК Регулятор тормозной рычажной передачи РТРП-300. Руководство по ремонту
М 1180.000 (конструкторская документация ПКБ ЦВ) Устройство по равномерному износу тормозных колодок.
М 1675.000 (конструкторская документация ПКБ ЦВ) Установка соединительного рукава Р36 на вагоне

 


 


Приложение Г

 

Перечень Стандартов

 

Обозначение стандарта, на который дана ссылка Номер раздела, пункта, таблицы, рисунка в которых дана ссылка
ГОСТ 8.417-2002 Введение
ГОСТ 610-72 Таблица 2
ГОСТ 1203-75 Пункты 3.27; 22.19
ГОСТ 2199-78 Пункты 10.2.3; 29.2.3
ГОСТ 3333-80 Таблица 3
ГОСТ 5915-70 Рисунки 5; 6
ГОСТ 6267-74 Таблица 3
ГОСТ 8734-75 Пункты 2.3.4 (2 раза); 5.1; 5.4; 21.4.3; 21.5.4; 24.1; 24.3 (3 раза)
ГОСТ 9833-73 Рисунки 4; 7
ГОСТ 14068-79 Таблица 3
ГОСТ 15150-69 Пункт 3.1
ГОСТ 20799-88 Таблица 2

 


 

Приложение Д

 

Перечень тормозного оборудования, устанавливаемого на вагоны при их ремонте.

 

  Резервуар запасный Р7-78 ГОСТ Р 52400-2005 Грузовые и пассажирские вагоны
  Резервуары запасные Р7-135 ГОСТ Р 52400-2005 Грузовые и пассажирские вагоны
  Резервуары запасные Р7-12, Р7-16, Р7-55, Р7-100 ГОСТ Р 52400-2005 Пассажирские вагоны
  Цилиндр тормозной 188Б ГОСТ 31402-2009 Грузовые вагоны
  Цилиндр тормозной 002 ГОСТ 31402-2009 Грузовые вагоны
  Цилиндр тормозной 519 А ГОСТ 31402-2009 Грузовые вагоны
  Цилиндр тормозной 710 ГОСТ 31402-2009 Грузовые вагоны
  Цилиндр тормозной 501 Б ГОСТ 31402-2009 Пассажирские вагоны
  Цилиндр тормозной 578 ГОСТ 31402-2009 Пассажирские вагоны
  Цилиндры тормозные со встроенным регулятором выхода штока 670 А, 670 А-1ТУ 3184-503-05744521-95 Пассажирские вагоны
  Предохранитель валика подвески тормозного башмака 4384 ТУ 3183-015-10785350-2005 Грузовые вагоны  
  Кран концевой 190 ОСТ 24.029.01-76 Грузовые и пассажирские вагоны
  Кран концевой 4304 ТУ 24.05.05.054-97 Грузовые и пассажирские вагоны
  Кран концевой 4304М ТУ 24.05.05.054-97 Грузовые и пассажирские вагоны
  Кран концевой 4313 ТУ 3184-014-10785350-2007 Грузовые вагоны
  Кран концевой 4314 ТУ 3184-014-10785350-2007 Грузовые и пассажирские вагоны
  Кран концевой 4314Б ТУ 3184-014-10785350-2007 Грузовые вагоны
  Кран концевой 271.000 ТУ 3184-088-05756760-2010 Грузовые и пассажирские вагоны
  Кран концевой 271БС.000 ТУ 3184-088-05756760-2010 Грузовые и пассажирские вагоны
  Кран разобщительный 372 ОСТ 24.290.16-86 Грузовые вагоны
  Кран разобщительный 377 ОСТ 24.290.16-86 Пассажирские вагоны
  Кран шаровой разобщительный 4300 ТУ 3184-003-10785350-99 Грузовые вагоны
  Кран шаровой разобщительный 4300В ТУ 3184-003-10785350-99 Грузовые вагоны
  Кран шаровой разобщительный 4301 ТУ 3184-003-10785350-99 Пассажирские вагоны
  Кран шаровой разобщительный 4302 ТУ 3184-003-10785350-99 Пассажирские вагоны
  Кран шаровой разобщительный 1-20-4 ТУ 24.05.10.105-94 Грузовые вагоны
  Кран трехходовый 4325 ТУ 3184-005-10785350-2003 Пассажирские вагоны
  Кран трехходовый 4325Б ТУ 3184-003-10785350-99 Грузовые вагоны
  Кран двойной тяги 4308 ТУ 3184-003-10785350-99 Пассажирские вагоны
  Кран шаровой разобщительный4309 ТУ 3184-003-10785350-99 Пассажирские вагоны
  Кран шаровой разобщительный 4309А ТУ 3184-005-10785350-2003 Пассажирские вагоны
  Кран шаровой разобщительный 1-32/25-1 ТУ 24.05.10.105-94 Пассажирские вагоны  
  Кран шаровой разобщительный 1-25-1 ТУ 24.05.105-94 Пассажирские вагоны
  Стоп-кран 163 ГОСТ 30496-97 Пассажирские вагоны
  Клапан выпускной 4315 ТУ 3184-002-10785350-01 Пассажирские вагоны
  Клапан золотниковый 4316 ТУ 3184-006-10785350-2007 Грузовые вагоны
  Тройник 573 ТУ 3184-513-05744521-2002 Грузовые вагоны
  Тройник 573П ТУ 3184-513-05744521-2002 Пассажирские вагоны
  Штуцер 4338 ТУ 3184-021-10785350-2012 Грузовые вагоны
  Штуцер 4370 ТУ 3184-011-10785350-2007 Грузовые вагоны
  Ниппель 4371 ТУ 3184-011-10785350-2007 Грузовые вагоны
  Штуцер в сборе 4374 ТУ 3184-10785350-2007 Грузовые вагоны
  Тройник 4375 ТУ 3184-011-10785350-2007 Грузовые вагоны
  Тройник в сборе 4375-01 ТУ 3184-011-10785350-2007 Грузовые вагоны
  Тройник 4375Р ТУ 3184-011-10785350-2007 Грузовые вагоны
  Тройник в сборе 4375Р-01 ТУ 3184-011-10785350-2007 Грузовые вагоны
  Ниппель 4378 ТУ 3184-011-10785350-2007 Грузовые вагоны
  Муфта 4379 ТУ 3184-011-10785350-2007 Грузовые вагоны
  Муфта 4379-01 ТУ 3184-011-10785350-2007 Грузовые вагоны
  Тройник 5312 ТУ 3184-011-10785350-2007 Грузовые вагоны
  Ниппель 26300-Н ТУ 32 ЦВ 2569-2005 Грузовые вагоны
  Рукав соединительный Р17Б ГОСТ 2593-2009 Грузовые вагоны
  Рукав соединительный Р36А. Р36Б, Р36В ТУ 3184-501-05744521-94 Грузовые вагоны
  Рукав соединительный с электроконтактом 369А ТУ 3184-512-05744521-2000 Пассажирские вагоны
  Рукав соединительный РВД 20-15-850 ТУ 22-4756-80 Пассажирские вагоны
  Рукава соединительные РВД 20-15-450 Хл, РВД 20-15-510 Хл ТУ 4833-033-13331856-06 Пассажирские вагоны
  Регулятор тормозных рычажных передач 574Б ТУ 24.5.264-77 Грузовые и пассажирские вагоны
  Регулятор тормозных рычажных передач РТРП -675 ТУ 24.05.928-89 Грузовые и пассажирские вагоны
  Регулятор тормозных рычажных передач РТРП -675М ТУ 24.05.928-89 Грузовые и пассажирские вагоны
  Регулятор тормозных рычажных передач РТРП -300 ТУ 24.05.928-89 Грузовые и пассажирские вагоны
  Авторежим грузовой 265А-1 ТУ 3184-509-05744521-98 Грузовые вагоны
  Авторежим грузовой 265А-4 ТУ 3184-509-05744521-98 Грузовые вагоны
  Камера 295.001 ТУ 24.5.421-78 Грузовые вагоны
  Камера 295М.001 ТУ 24.5.421-78 Грузовые вагоны
  Камера 295М.002 ТУ 3184-001-05744538-99 Грузовые вагоны
  Главная часть 270.023-1 ТУ 3184-021-05756760-00 Грузовые вагоны
  Главная часть 483.400 ТУ 3184-021-05756760-00 Грузовые вагоны
  Магистральная часть 483.010 ТУ 24.5.356-77 Грузовые вагоны
  Магистральная часть 483М.010-01 ТУ 24.05.10.062-98 Грузовые вагоны
  Магистральная часть 483А.01-01 ТУ 3184-021-05756760-00 Грузовые вагоны
  Магистральная часть 483Б.010 ТУ 3184-021-05756760-00 Грузовые вагоны
  Воздухораспределитель КАВ60-01 КАВ60.75177ТУ Грузовые вагоны
  Воздухораспределитель КАВ60-05 КАВ60.75177ТУ Грузовые вагоны
  Воздухораспределитель КАВ60-06 КАВ60.75177ТУ Грузовые вагоны
  Главная часть КАВ10-01 КАВ60.75177ТУ Грузовые вагоны
  Главная часть КАВ10-02 КАВ60.75177ТУ Грузовые вагоны
  Магистральная часть КАВ20-01 КАВ60.75177ТУ Грузовые вагоны
  Кронштейн-камера КАВ30-01 КАВ30.77385ТУ Грузовые вагоны
  Воздухораспределитель 292.001 ТУ 24.05.140-87 Пассажирские вагоны
  Воздухораспределитель 242-1 ТУ 3184-075-05756760-2006 Пассажирские вагоны
  Воздухораспределитель 292М ТУ 24.05.10.064-87 Пассажирские вагоны
  Электровоздухораспределитель 305 ТУ 24.05.171-94 Пассажирские вагоны
  Колодка тормозная чугунная типа «С» ОСТ 32.194-2002 Пассажирские и грузовые вагоны
  Колодка тормозная композиционная М659.000, ТИИР-303 ТУ 38.114292-94 Пассажирские вагоны
  Колодка тормозная композиционная М659.000-01, ТИИР-303 ТУ 38.114292-94 Пассажирские вагоны
  Колодка тормозная композиционная 25130-01-Н, У-21-149 ТУ 2571-007-00149386-2000 Пассажирские вагоны
  Колодка тормозная композиционная 25130-Н, ТИИР-300 ТУ 2571-028-00149386-2000 Грузовые вагоны
  Колодка тормозная композиционная 25610-Н, ТИИР-300 ТУ 2571-028-00149386-2000 Грузовые вагоны
  Колодка тормозная композиционная М659.000, ТИИР-300 ТУ 38.114292-94 Грузовые вагоны
  Колодка тормозная композиционная М659.000, ТИИР-300 ТУ 38.114292-94 Грузовые вагоны
  Колодка тормозная композиционная (безасбестовая) 25130-03-Н Фритекс-950 ТУ 2471-062-05766936-2002 Грузовые вагоны
  Колодки тормозные полуметаллические с чугунной вставкой 126-12-58, 126-12-58-01, Фритекс-970/2 ТУ 2571-123-05766936-2007 Грузовые и пассажирские вагоны
  Блоки клещевых механизмов 4075.45.100, 4075.42.100-01, WZ, WZK Пассажирские вагоны
  Клапаны сбрасывающие трехпозиционные 182, 182-01, 182-04, 182-08, 182-09, ТУ 24.05.10.123-97 Пассажирские вагоны
  Сигнализаторы давления 115, 115А ТУ 24.05.10.088-92 Пассажирские вагоны
  Тормозные накладки ТУ 1479-002-49123292-2005, BECORIT 984 Пассажирские вагоны
  Соединительная арматура типа 157 на трубах ТУ24.05.10.135-98 с тройником СТ 157-7 Грузовые вагоны
  Кран разобщительный 122-03 ТУ 24.05.10.105-94 Грузовые вагоны
  Воздухораспределитель 483-03БС ТУ 3184-021-05756760-00 Грузовые вагоны (Изв.32 ЦВ 5 -2014г. с 1.08.2014г).
  Запасная главная часть ЗЧР270.03 ТУ 3184-024-48588818-2007 Грузовые вагоны
  Запасная магистральная часть ЗЧР483.010 ТУ 3184-025-48588818-2007 Грузовые вагоны
  Кран концевой Р190 ТУ 3184-047-16632558-2006 Грузовые вагоны
  Кран разобщительный Р100 ТУ 3184-048-16632558-2006 Грузовые вагоны
  Тройник Р573 ТУ 3184-049-16632558-2006 Грузовые вагоны
  Труба подводящая ТУ 3184-050-16632558-2006 Грузовые вагоны
  Колодка тормозная композиционная 2ТР-11 ЦМК СТ 9061-1948-ТОО-24-001-2012 Грузовые и пассажирские вагоны

 


(Изв.32 ЦВ 6 -2014г. с 1.01.2015г).

 

 

Приложение Е

РЕЕСТР

УСЛОНЫХ НОМЕРОВ АВТОКОНТРОЛЬНЫХ ПУНКТОВ АКП (А) И АВТОМАТНЫХ ОТДЕЛЕНИЙ (АО), ПРИСВОЕННЫХ ЖЕЛЕЗНОДОРОЖНЫМ И ПРОМЫШЛЕННЫМ ПРЕДПРИЯТИЯМ ГОСУДАРСТВ-УЧАСТНИКОВ СОГЛАШЕНИЯ О СОМЕСТНОМ ИСПОЛЬЗОВАНИИ ГРУЗОВЫХ ВАГОНОВ

 

А-1 Пассажирское вагонное депо Москва-Октябрьская ОКТ

А-2 Вагонное депо Ховрино ОКТ

А-3 Вагонное депо Бологое ОКТ

А-4 Вагонное депо С-Петербург-Сорт.-Московский ОКТ

А-5 Вагонное депо Выборг - цех вагонного депо С-Петербург-Сорт.-Московский ОКТ

А-6 Пассажирское вагонное депо С-Петербург-Тов.-Моск ОКТ

А-7 Вагонное участок ст. С-Петербург - Витебский пасс. ЛВЧ-10 ОКТ

А-9 Вагонное депо Псков ОКТ

А-11 Вагонное депо Волховстрой ОКТ

А-12 Вагонное депо Петрозаводск ОКТ

А-13 Вагонное депо Кемь ОКТ

А-14 Вагонное депо Кандалакша ОКТ

А-15 Вагонное депо Мурманск ОКТ

А-16 Вагонное депо Новосокольники ОКТ

А-18 Вагонное депо Ржев ОКТ

А-19 Вагонное депо Тверь ОКТ

А-22 ООО "Л-Экспресис", г. Рига, ЛДЗ

А-23 ООО «ЛДЗ Сервис подвижного состава» Центр ремонта вагонов, ЛДЗ

А-24 АО "Объединенное депо" ЭВР

А-25 Вагонное депо Тапа ЭВР

А-26 АО Валгасское депо рефрижераторных вагонов ЭВР

А-27 Пассажирское вагонное депо Вильнюс ЛГ

А-28 Вагонное депо Радвилишкис ЛГ

А-29 Вагонное депо Черняховск КЛГ

А-30 Пассажирское вагонное депо Калининград КЛГ

А-32 Вагонное депо Минск БЧ

А-33 Вагонное депо Молодечно БЧ

А-34 Вагонное депо Орша БЧ

А-35 Вагонное депо Барановичи БЧ

Л-36 Вагонное депо Брест БЧ

Л-37 Вагонное депо Гомель БЧ

А-38 Вагонное депо Жлобин БЧ

А-39 Вагонное депо Могилев БЧ

А-40 Вагонное депо Витебск БЧ

А-41 Вагонное депо Полоцк БЧ

А-42 Пассажирский вагонный участок Москва-Каланчевская МСК

А-43 Вагонное депо Люблино МСК

А-44 Вагонное депо Перово МСК

А-45 Пассажирское вагонное депо Москва-3 МСК

А-46 Вагонное депо Лосиноостровская МСК

А-47 Бекасово участок рефрижераторного депо Подмосковная МСК

А-48 Пассажирское вагонное депо Москва-Смоленская МСК

А-49 Пассажирское вагонное депо Москва-Киевская МСК

А-50 Вагонное депо Тула МСК

А-51 Пассажирское вагонное депо Орел МСК

А-52 Вагонное депо Курск МСК

А-53 Вагонное депо Бирюлево-цех вагонного депо Люблино МСК

А-54 Вагонное депо Льгов МСК

А-55 Вагонное депо Павелец-цех вагонного депо Павелецкое МСК

А-56 Вагонное депо Узловая МСК

А-57 Вагонное депо Бобрик-Донской - цех вагонного депо Узловая МСК

А-58 Вагонное депо Павелецкое МСК

А-59 Вагонное депо Рыбное МСК

А-60 Вагонное депо Сасово МСК

А-61 Пассажирское вагонное депо Смоленск МСК

А-62 Вагонное депо Вязьма МСК

А-63 Вагонное депо Калуга МСК

А-64 Вагонное депо Брянск-Льговский (восточный МСК корпус). Вагонное депо Брянск-Льговский (западный корпус) МСК

Л-65 ВЧД Унеча – филиал ООО «Новая вагоноремонтная Компания» МСК

А-66 Пассажирское вагонное депо Орехово-Зуево МСК

А-67 Вагонное депо Ряжск (цех вагонного депо МСК Рыбное) МСК

А-68 Вагонное депо Владимир ГРК

А-69 Вагонное депо Горький-Сортировочный ГРК

А-70 Пассажирское вагонное депо Горький-Московский ГОР

А-71 Вагонное депо Шахунья ГРК

А-72 Вагонное депо Лянгасово ГРК

А-73 Пассажирское вагонное депо Киров ГОР

А-74 Вагонное депо Зуевка ГРК

А-75 Вагонное депо Муром ГРК

А-76 Вагонное депо Арзамас ГРК

А-77 Вагонное депо Красный узел ГРК

А-78 Пассажирское вагонное депо Юдино ГОР

А-79 Вагонное депо Агрыз ГРК

А-80 Вагонное депо Красноуфимск ГРК

А-81 Вагонное депо Ярославль Главный СЕВ

А-82 Вагонное депо Иваново СЕВ

А-83 Вагонное депо Буй СЕВ

А-84 Пассажирское вагонное депо Шарья СЕВ

А-85 Вагонное депо Вологда СЕВ

А-86 Вагонное депо Череповец СЕВ

А-87 Пассажирское вагонное депо Саратов ПРВ

А-88 Вагонное депо Исакогорка СЕВ

А-89 Вагонное депо Кулой СЕВ

А-90 Пассажирское вагонное депо Котлас СЕВ

А-91 Вагонное депо Сольвычегорск СЕВ

А-92 Вагонное депо Сосногорск СЕВ

А-93 Вагонное депо Омск-Сортировочный ЗСБ

А-94 Вагонное депо Воркута СЕВ

А-96 Вагонное депо Инта СЕВ

А-97 Пассажирское вагонное депо Киев-Пасс. ЮЗ

А-98 Рефрижераторное вагонное депо Фастов-2 ЮЗ

А-99 Вагонное депо Казатин ЮЗ

А-100 Вагонное депо Жмеринка ЮЗ

А-101 Вагонное депо Дарница ЮЗ

А-102 Вагонное депо Шепетовка ЮЗ

А-103 Вагонное депо Коростень ЮЗ

О-104 Пассажирское вагонное депо Бахмач ЮЗ

А-105 Вагонно-колесные мастерские Ворожба ЮЗ

А-106 Вагонное депо Конотоп ЮЗ

А-107 Вагонное депо Клепаров ЛЬВ

А-108 Вагонное депо Стрый ЛЬВ

А-109 Пассажирское вагонное депо Ковель ЛЬВ

А-110 Вагонное депо Здолбунов ЛЬВ

А-111 Пассажирское вагонное депо Черновцы ЛЬВ

А-112 Пассажирское вагонное депо Львов ЛЬВ

А-113 Вагонное депо Ужгород ЛЬВ

О-114 Вагонное депо Коломыя ЛЬВ

А-115 Вагонное депо Одесса-Застава-1 ОДК

А-117 Вагонное депо Котовск ОДК

А-118 Пассажирское вагонное депо Одесса-Главная ОДК

А-119 Вагонное депо Помошная ОДК

А-120 Вагонное депо им.Шевченко ОДК

А-121 Локомотивное депо Христовка ОДК

А-122 Вагонное депо Знаменка ОДК

А-123 Дирекция по обслуживанию пассажиров Кишинев ЧФМ

А-124 Вагонное депо Бессарабская ЧФМ

А-125 Вагонное депо Бельцы ЧФМ

А-126 Вагонное депо Херсон ОДК

А-127 Пассажирское вагонное депо Николаев ОДК

А-128 Гайворонский уч-ок вагонного депо им.Т.Шевченко ОДК

А-129 Вагонное депо Белгород МСК

А-130 Вагонное депо Полтава ЮЖ

А-131 Вагонное депо Основа ЮЖ

А-132 Лозовской участок вагонного депо Харьков-Сортировочный ЮЖ

А-133 Вагонное депо Кременчуг ЮЖ

А-134 Вагонное депо Купянск ЮЖ

А-135 Вагонное депо Валуйки ЮВС

А-136 Вагонное депо Гребенка ЮЖ

А-137 Вагонное депо Харьков-Сортировочный ЮЖ

А-138 Вагонное депо Готня ЮВС

А-139 Вагонное депо Красный Лиман ДОН

А-140 Вагонное депо Константиновка ДОН

А-141 Вагонное депо Славянск ДОН

А-142 Вагонное депо Волноваха ДОН

А-143 Локомотивное депо Попасная ДОН

А-144 Пассажирское вагонное депо Луганск ДОН

А-145 Вагонное депо Коммунарск ДОН

А-146 Вагонное депо Дебальцево-Сортировочное ДОН

А-147 Вагонное депо Ясиноватая ДОН

А-148 Вагонное депо Иловайская ДОН

А-150 Вагонное депо Батуринская ПРИД

А-151 Вагонное депо Нижнеднепровск-Узел ПРИД

А-152 Вагонное депо Пологи ПРИД

А-153 Пассажирское вагонное депо Синельниково ПРИД

А-154 Вагонное депо Запорожье Левое ПРИД

А-155 Вагонное депо Джанкой ПРИД

А-156 Вагонное депо Пятихатки ПРИД

А-157 Вагонное депо Верховцево ПРИД

А-158 Днепропетровская техническая дирекция по обслуживанию пассажиров (ДОП-1) ПРИД

О-159 Вагонное депо Мудреная ПРИД

О-160 Вагонное депо Мелитополь ДОН

О-161 Крымская техническая дирекция по обслуживанию пассажиров (ДОП-4) ПРИД

О-162 Вагонное депо Днепродзержинск ПРИД

О-164 Вагонное депо Керчь ПРИД

А-166 Вагонное депо Каменоломни СКВ

А-167 Пассажирское вагонное депо Ростов СКВ

А-169 Вагонное депо Батайск СКВ

А-170 Рефрижераторное вагонное депо Тихорецкая СКВ

А-171 Вагонное депо Кавказская СКВ

А-172 Вагонное депо Армавир цех вагонного депо Кавказская (колесный цех) СКВ

А-173 Пассажирское вагонное депо Минеральные воды СКВ

А-174 Вагонное депо Прохладная СКВ

А-177 Вагонное депо Махачкала СКВ

А-179 Вагонное депо Краснодар СКВ

А-180 Пассажирское вагонное депо Новороссийск СКВ

А-183 Пассажирское вагонное депо Адлер СКВ

А-184 Вагонное депо Сальск СКВ

А-186 Пассажирское вагонное депо Баку АЗ

А-187 Вагонное депо Баладжары АЗ

А-188 Вагонное депо Гянджа АЗ

А-189 Вагонное депо Казимагомед АЗ

А-190 Вагонное депо Батуми ГР

А-191 Вагонное депо Хашури ГР

А-192 Пассажирское вагонное депо Уфа КБШ

А-193 Вагонное депо Ереван АРМ

А-194 Вагонное депо Самтредиа ГР

А-195 Вагонное депо Тбилиси ГР

А-196 Вагонное депо Морозовская цех депо Лихая (колесный цех) СКВ

А-197 Вагонное депо Лихая - филиал ЗАО «Кав-Транс» СКВ

А-198 Вагонное депо Россошь ЮВС

А-199 Вагонное депо Лиски ЮВС

А-200 Вагонное депо Поворино ЮВС

А-201 Пассажирское вагонное депо Воронеж ЮВС

А-202 Вагонное депо Грязи ЮВС

А-203 Вагонное депо Елец ЮВС

А-204 Вагонное депо Старый Оскол ЮВС

А-205 Вагонное депо Кочетовка ЮВС

А-207 Вагонное депо Казинка ЮВС

А -208 Участок пассажирского депо Тамбов ЮВС

А-209 Вагонное депо Пенза-3 КБШ

А-210 Локомотивное депо Моршанск - (вагонный участок) КБШ

А-211 Вагоннное депо Рузаевка КБШ

А-212 Вагонное депо Сызрань КБШ

А-213 Вагонное депо Октябрьск - участок вагонного депо Сызрань КБШ

А-214 Пассажирское вагонное депо Самара КБШ

А-215 Вагонное депо Кинель КБШ

А-216 Вагонное депо Абдулино КБШ

А-217 Вагонное депо Дема КБШ

А-218 Вагонное депо Бензин КБШ

А-219 Вагонное депо Ульяновск центр КБШ

О-220 Вагонное депо Круглое поле КБШ

А-221 Пассажирское вагонное депо Уфа КБШ

А-222 Вагонное депо Астрахань-2 ПРВ

А-223 Вагонное депо Баскунчак ПРВ

А-224 Пассажирское вагонное депо Волгоград ПРВ

А-225 Вагонное депо Сарепта ПРВ

А-226 Вагонное депо Арчеда ПРВ

А-227 Вагонное депо Балашов ПРВ

А-228 Вагонное депо Ртищево ПРВ

А-229 Вагонное депо Аткарск ПРВ

А-230 Вагонное депо Саратов-II ПРВ

А-231 Вагонное депо Нефтяная ПРВ

А-232 Вагонное депо Ершов ПРВ

О-233 Локомотивное депо Петров вал Ю-УР

О-234 Вагонное депо Филоново - цех вагонного депо Арчеда ПРВ

А-235 Ремонтное вагонное депо К-Боровое "ТОО Бурабай" КЗХ

А-236 Акмолинский региональный филиал по пассажирскому вагонному хозяйству КЗХ

А-237 Ремонтное вагонное депо "Атбасар" производственный кооператив "Аждар" и К КЗХ

А-238 ф-л ТОО «Камкор-вагон» Карагандинское вагоноремонтное депо КЗХ

А-239 Кооператив ПК "Бердыс-Балхаш" КЗХ

А-240 ф-л ТОО «Камкор-вагон» Павлодарское вагоноремонтное депо КЗХ

А-241 ф-л ТОО «Камкор-вагон» вагоноремонтное депост.Экибазстуз-1 КЗХ

А-242 Вагонное депо Кушмурун, Кооператив ТОО"Жардем-2030" КЗХ

А-243 Ремонтное вагонное депо "Защита" КЗХ

А-244 Вагонное депо, Кооператив ПК "Ибраев+К" КЗХ

А-245 Ф-л ТОО «Камкор-вагон» Аякозское вагоноремонтное депо КЗХ

А-247 ТОО «Жамбыл Рем Сервис» КЗХ

А-248 Вагонное депо станции Жамбыл КЗХ

А-249 Вагонное хозяйство ГП НК КТЖ станция Бишкек-1 АКП

А-251 Вагонное депо Арысь, Кооператив ТОО "ВЧД-Арысь" КЗХ

А-252 ТОО "Рем ПВ" ст. Кызылорда КЗХ

А-253 Ф-л ТОО «Камкор-вагон» Казалинское вагоноремонтное депо КЗХ

А-254 Ф-л ТОО «Камкор-вагон» Шалкарское вагоноремонтное депо КЗХ

А-255 ПК "Пассажирремвагон" ст.Актюбинск КЗХ

А-257 Вагонное депо ст.Акжайык КЗХ

А-258 Ремонтное вагонное депо "Железорудная" КЗХ

А-259 Вагонное депо Ташкент-товарный УЗБ

А-260 Вагонное депо Хаваст УЗБ

А-261 Вагонное депо Коканд УЗБ

А-262 Пассажирское вагонное депо Андижан УЗБ

А-263 Вагонное депо Самарканд УЗБ

А-264 Вагонное депо Бухара УЗБ

А-265 Пассажирское вагонное депо Душанбе ТДЖ

А-266 Вагонное депо Туркменабад ТРК

А-267 Пассажирское вагонное депо Ашгабад ТРК

А-269 Вагонное депо Мары ТРК

А-270 Вагонное депо Карши УЗБ

А-271 Вагонное депо Верещагино СВР

А-272 Пассажирское вагонное депо Пермь СВР

А-273 Вагонное депо Пермь-Сортировочный СВР

А-274 Вагонное депо Свердловск-Сортировочный СВР

А-275 Пассажирское вагонное депо Свердловск СВР

А-277 Вагонное депо Ишим СВР

А-278 Вагонное депо Березники СВР

А-279 Вагонное депо Кизел СВР

А-280 Вагонное депо Чусовская СВР

А-281 Вагонное депо Смычка (участок вагонного депо Гороблагодатская) СВР

А-282 Вагонное депо Гороблагодатская СВР

А-283 Вагонное депо Серов-Сортировочный СВР

А-284 Вагонное депо Егоршино СВР

А-285 Вагонное депо Каменск-Уральский СВР

А-286 Пассажирское вагонное депо Тавда СВР

А-288 Бердяушский участок вагонного депо Златоуст Ю-УР

А-289 Вагонное депо Златоуст Ю-УР

А-290 Вагонное депо Челябинск - Сортировочный Ю-УР

А-291 Пассажирское вагонное депо Челябинск ЮУР

А-292 Верхний Уфалей (участок от вагонного депо Челябинск - Сорт. Ю-УР

А-293 Вагонное депо Курган Ю-УР

А-295 Вагонное депо Троицк Ю-УР

А-296 Вагонное депо Карталы Ю-УР

А-297 Вагонное депо Магнитогорск Ю-УР

А-298 Вагонное депо Орск Ю-УР

А-299 Пассажирское вагонное депо Оренбург ЮУР

А-300 Вагонное ремонтное депо Бузулук Ю-УР

А-301 Пассажирское вагонное депо Омск ЗСБ

Л-302 Вагонное депо Московка ЗСВ

А-303 Вагонное депо Татарская ЗСБ

А-304 Вагонное депо Барабинск ЗСБ

А-306 Пассажирское вагонное депо Новосибирск ЗСБ

А-307 Вагонное депо Инская ЗСБ

А-308 Вагонное депо Болотная ЗСБ

А-309 Вагоно-колесные мастерские вагонного депо Тайга ЗСБ

А-310 Вагонное депо Топки ЗСБ

А-311 Вагонное депо Кемерово ЗСБ

А-312 Вагонное депо Ленинск-Кузнецкий ЗСБ

А-313 Вагонное депо Белово ЗСБ

А-314 Вагонное депо Прокопьевск ЗСБ

А-315 Вагонное депо Новокузнецк-Сортировочный ЗСБ

А-316 Пассажирское вагонное депо Барнаул ЗСБ

А-317 Вагонное депо Бийск участок вагонного депо Алтайская ЗСБ

А-318 Вагонное депо Рубцовка ЗСБ

А-320 Вагонное депо Купило ЗСБ

А-321 Пассажирское вагонное депо Томск ЗСБ

А-322 Вагонное депо Аскиз КРС

А-323 Пассажирское вагонное депо Абакан КРС

А-324 Вагонное депо Боготол КРС

А-325 Вагонное депо Ужур КРС

А-326 Пассажирское вагонное депо Красноярск КРС

А-327 Вагонное депо Иланская КРС

А-328 Вагонное депо Тайшет КРС

Л-329 Вагонное депо Нижнеудинск ВСБ

Л-330 Вагонное депо Зима ВСБ

Л-331 Вагонное депо Черемхово ВСБ

Л-332 Вагонное депо Иркутск-Сортировочный ВСБ

Л-333 Пассажирское вагонное депо Иркутск ВСБ

А-335 Вагонное депо Улан-Удэ ВСБ

Л-336 Вагонное депо Вихоревка ВСБ

Л-338 Вагонное депо Суховская-Южная ВСБ

Л-340 Вагонное депо Хилок ЗБК

Л-341 Вагонное депо Мураши ГРК

А-342 Вагонное депо Чита-1 ЗБК

Л-343 Вагонное депо Мызайкюла ЭВР

А-344 Вагонное депо Борзя ЗБК

А-345 Пассажирское вагонное депо Шилка ЗБК

А-346 Вагонное депо Чернышевск-Забайкальский ЗБК

А-347 Вагонное депо Зелецино ГРК

А-348 Вагонное депо Партизанск ДВС

А-350 Вагонное депо Кунград УЗБ

А-351 Вагонное депо Магдагачи ЗБК

А-352 Вагонное депо Белогорск ЗБК

О-353 Вагонное депо Бурея (участок вагонного депо Белогорск) ЗБК

А-355 Вагонное депо Облучье Хабаровск-2 ДВС

А-356 Вагонное депо Ружино ДВС

А-357 Вагонное депо Уссурийск ДВС

А-359 Вагонное депо Комсомольск ДВС

А-360 Депо подвижного состава Южно-Сахалинск САХ

А-361 Пассажирское вагонное депо Владивосток ДВС

О-364 Вагонное депо Воскресенск(цех вагонного депо Перово) МСК

О-365 Вагонное депо Ярославль СЕВ

А-368 Вагонное депо Уральск. Кооператив ТОО "Вагон" КЗХ

А-369 Вагонное депо Дрогобыч ЛЬВ

О-374 Вагонное депо Щетово ДОИ

О-375 Вагонное депо Соль ДОН

А-377 Вагонное депо ТОО Богатыр Транс – ст. Экибастуз КЗХ

А-378 Рефрижераторное депо Сырдарьинская УЗБ

О-379 Пассажирское вагонное депо Мариуполь ДОН

А-381 Пассажирское вагонное депо Тында ДВС

А-382 Локомотивное депо Перерва МСК

А-383 Пассажирское вагонное депо Каховка ОДК

А-384 Вагонное депо Гюмри АРМ

А-385 Вагонное депо Сургут СВР

А-386 Вагонное депо Войновка СВР

А-387 Вагонное депо Тольятти КБШ

А-388 Вагонное депо Тосно ОКТ

А-390 Вагонное депо Коноша СЕВ

О-391 Рефрижераторное вагонное депо Тернополь ЛЬВ

А-392 Вагонное депо Бекасово МСК

А-393 Вагонное депо Северобайкальск ЗБК

А-394 Вагонное депо Тында ДВС

А-395 Рефрижераторное вагонное депо Троицк Ю-УР

А-398 Вагонное депо Стойленская ЮВС

А-401 Тамбовский вагоноремонтный завод ЮВС

А-402 ОАО "Днепрвагонремстрой" ЮЗ

А-403 Дарницкий вагоноремонтный завод г. Киев ЮЗ

А-404 Воронежский вагоноремонтный завод ЮВС

А-405 Владикавказский вагоноремонтный завод СКВ

Л-407 Канашский вагоноремонтный завод ГРК

О-408 Московский завод по модернизации и строительству вагонов им. Войтовича МСК

О-409 Стрыйский вагоноремонтный завод ЛЬВ

О-410 Понаснянский вагоноремонтный завод ДОН

О-413 ОАО "Октябрьский электровагоноремонтный завод ОКТ

О-414 Предприятие "Экспресс" г. Жмеринка ЮЗ

О-416 Вологодский вагоноремонтный завод СЕВ

О-417 Ярославский вагоноремонтный завод СЕВ

А-418 Рославльский вагоноремонтный завод МСК

О-420 ОАО "Акмолинский вагоноремонтный завод КЗХ

А-421 Новороссийский вагоноремонтный завод СКВ

А-423 Барнаульский вагоноремонтный завод ЗСБ

О-425 Украинский государственный центр по эксплуатации специальных вагонов ЮЖ

О-426 Алмаатинский вагоноремонтный завод КЗХ

А-429 ОАО "Завод по ремонту думпкаров" г.Железногорск МСК

О-430 ПП "Южэнергопром" г. Черкесск СКВ

А-440 "Рузхиммаш" завод химического машиностроения КБШ

А-441 ОАО "Желдорсервис" ПРВ

А-442 Андижанский механический завод УЗБ

А-443 Алтайский вагоноремонтный завод ЗСБ

А-444 ЗАО "Великолукский локомотивовагоноремонтный завод" ОКТ

А-445 ОАО «Красноярский электровагоноремонтный завод»

А-446 Пассажирское вагонное депо Новокузнецк ЗСБ

А-447 Пассажирское вагонное депо Ташкент УЗБ

А-448 Саранский тепловозоремонтный завод КБШ

А-450 СП депо Балахонцы ОАО «Уралкалий» СВР

А-451 Пассажирское вагонное депо Кемерово ЗСБ

О-452 Рефрижераторное депо Лиски ЮВС

А-453 ЗАО «Вагонно-ремонтный завод» г.Стерлитамак КБШ

А-501 Инженерно-производственная фирма "Ресурс" г. Пятихатки ПРИД

А-502 Вагонное депо Анисовка-цех ВЧД Саратов-2 ПРВ

А-503 ООО «Вагону-Ремонтс» г.Рига ЛДЗ

А-504 ВЧД-Термез ОАО «Узвагонтаъмир» УЗБ

А-505 Моторвагонное депо С-Петербург Московское

А-506 Тольяттинская производственно-ремонтная база ОАО №Волжско-

Уральской транспортной компании» ОАО «ВолгаУралТранс» КБШ

А-507 УП «Узжелдорреммаш» ГАЖК «Узбекские железные дороги» УЗБ

А-508 ЗАО «НЕЗТОР» с 12.05.2006г. СВЕРД

А-509 СФАТ-Рязань МОСК

А-511 ООО «Боготольский вагоноремонтный завод» КРАС

А-512 Алмаатинский филиал по ремонту пассажирских вагонов (ЛВЧДР-26) КЗХ

А-513 ООО «Вагоностроительная компания» г.Рустави Грузия

А-514 ООО Вагоноремонтное предприятие «Новотранс» ВСБ

А-515 Кушмурунское вагоноремонтное депо КЗХ

А-516 ООО Кузбасское вагоноремонтное предприятие «Новотранс» ЗСБ

А-517 ТОО Казахстанская вагоностроительная компания КЗХ

А-518 Вагоноремонтное депо-филиал ООО «Мечел-Ремсервис» г.Железногорск-Илимский РФ ВСИБ

А-519 Красноярское депо ОАО «В-Сибпромтранс» г.Красноярск РФ КРАС

А-520 ООО «Брянское вагоноремонтное депо» г.Брянск РФ МСК

А-521 Рефрижераторного вагонного депо Уссурийск Новосибирского филиала ОАО «ВРК-1» РФ ДВЖД

А-522 АКП ЗАО «Тихвинский вагоностроительный завод» г. Тихвин РФ ОКТ

А-523 АКП ДП «Литейно-механический завод» г.Ташкент УЗБ

А-524 АКП ТОО «БЕРЕКЕ-2004» в г.Экибастуз КЗХ

А-525 АКП Филиал ООО «Техкомплекс» Самарская область РФ КБШ

А-526 АКП ТОО «Казпневматика» в г.Щукинск КЗХ

А-527 АКП ООО «Вагонно-колесная мастерская» в г.Старый Оскол РФ ЮВОСТ

А-528 АКП ООО ПО «НОВОТРАНС» г. Кашира РФ МСК

А-529 АКП ООО Сибирская Вагонная компания г. Новокузнецк РФ ЗСИБ

А-530 АКП ОАО «Нижнекамскнефтехим» РФ КБШ

А-531 АКП ООО «Депо-ЕвроХим» СКВ

О-532 АО ООО «Агрегатбуд» в г.Рубежное, Луганской области, Украина

А-533 АКП ЗАО «Уральская вагоноремонтная компания» в г.Магнитогорск ЮУР

А-550 Моторвагонное депо Брянск-1 Московской ДМВ

А-551 Моторвагонное депо С-Петербург Балтийский ОКТ

А-552 ООО «Вагонное депо Желдорэкспедиция» МСК

А-553 Пассажирское вагонное депо Шимановская ЗБК







Date: 2015-09-19; view: 2121; Нарушение авторских прав



mydocx.ru - 2015-2026 year. (1.202 sec.) Все материалы представленные на сайте исключительно с целью ознакомления читателями и не преследуют коммерческих целей или нарушение авторских прав - Пожаловаться на публикацию