Главная Случайная страница


Полезное:

Как сделать разговор полезным и приятным Как сделать объемную звезду своими руками Как сделать то, что делать не хочется? Как сделать погремушку Как сделать так чтобы женщины сами знакомились с вами Как сделать идею коммерческой Как сделать хорошую растяжку ног? Как сделать наш разум здоровым? Как сделать, чтобы люди обманывали меньше Вопрос 4. Как сделать так, чтобы вас уважали и ценили? Как сделать лучше себе и другим людям Как сделать свидание интересным?


Категории:

АрхитектураАстрономияБиологияГеографияГеологияИнформатикаИскусствоИсторияКулинарияКультураМаркетингМатематикаМедицинаМенеджментОхрана трудаПравоПроизводствоПсихологияРелигияСоциологияСпортТехникаФизикаФилософияХимияЭкологияЭкономикаЭлектроника






Устройство и поверки оптических теодолитов





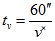
Принципиальная схема устройства теодолита показана на рис. 7.3. В отверстие подставки 2, опирающейся на три подъёмных винта 1, входит ось вращения лимба 3, в которую в свою очередь входит ось алидады 4.

    Рис. 7.3. Схема устройства теодолита: ii - ось вращения алидады;tt - ось вращения трубы; ss - визирная ось трубы; uu - ось уровня алидады.  

Лимб это стеклянный круг, по скошенному краю которого нанесены деления с оцифровкой от 0 до 360º по часовой стрелке.

Алидада - верхняя часть прибора, расположенная соосно с лимбом. Алидада несет стойки 6, на которые опирается ось ttвращения зрительной трубы 8 с вертикальным кругом 7. Установка оси ii вращения алидады в отвесное положение выполняется тремя подъёмными винтами подставки по цилиндрическому уровню 5.

Вращающиеся части теодолита снабжены закрепительными винтами для их установки в неподвижное положение и наводящими винтами для плавного их вращения.

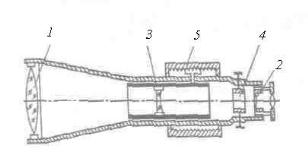
Зрительная труба служит для обеспечения точности наведения на визирные цели. Трубы бывают с прямым и обратным изображением.

  Рис. 7.4. Зрительная труба

Оптическая система трубы (рис. 7.4.) состоит из объектива 1, окуляра 2 и фокусирующей линзы 3, которую с помощью специального устройства - кремальеры 5, перемещают вдоль геометрической оси трубы. Между фокусирующей линзой и окуляром помещена сетка нитей 4 – деталь, несущая стеклянную пластину с нанесёнными на нее вертикальными и горизонтальными штрихами. При измерении углов перекрестие штрихов – центр сетки нитей, наводят на изображение визирной цели.

Сетка нитей имеет четыре исправительных винта, позволяющих перемещать ее в горизонтальном и вертикальном направлениях.

Линия, проходящая через оптический центр объектива и перекрестие сетки нитей, называется визирной осью.

Увеличением трубы называется отношение угла, под которым изображение предмета видно в трубе, к углу, под которым предмет виден невооружённым глазом. Практически увеличение трубы равно отношению фокусного расстояния объектива к фокусному расстоянию окуляра. Трубы геодезических приборов имеют увеличение от 15´ до 50´ и более.

Полем зрения трубы называется пространство, видимое в трубу при её неподвижном положении. Обычно оно бывает от 1 до 2º.

Визированием называют наведение трубы на цель. Точность визирования зависит от увеличения трубы и приближенно равна

,

где v´ – увеличение зрительной трубы, а 60²– средняя разрешающая способность глаза.

Для визирования трубу фокусируют “по глазу” и “по предмету”. При этом, глядя в трубу, вращением диоптрийного кольца окуляра добиваются чёткого изображения сетки нитей, а перемещением фокусирующей линзы 3 - чёткого изображения наблюдаемого предмета.

Отсчётные устройства служат для взятия отсчетов по горизонтальному и вертикальному кругам. Они снабжены отсчетными микроскопами. Различают микроскопы штриховые, шкаловые и микроскопы с оптическими микрометрами.

В штриховом микроскопе отсчет с точностью 1¢ берут по положению нулевого штриха алидады а (рис. 7.5, а), интерполируя минуты на глаз.

 

в)

Рис. 7.5. Поле зрения отсчётных микроскопов:

а - штрихового (отсчёт по горизонтальному кругу 159º46’, по вертикальному 350º48’); б - шкалового (отсчёт по горизонтальному кругу 295º36’, по вертикальному -4º47’);

в - оптического микрометра (отсчет 145º23’14’’).

Шкаловый микроскоп имеет две шкалы, совмещённые с лимбами вертикального и горизонтального кругов (рис. 7.5, б). Отсчёты берут по градусным штрихам лимбов. Шкала вертикального круга теодолита 2Т30 имеет два ряда подписей. Если перед градусным делением отсутствует знак, отсчёт делают так же, как и по горизонтальному кругу. Если перед цифрой градусов стоит минус, то минуты считывают по шкале от -0 до -6 (справа налево).

Точные теодолиты снабжены микроскопами с оптическим микрометром (рис. 7.5, в). Градусы отсчитывают по основной шкале после совмещения верхнего и нижнего изображений штрихов горизонтального (или вертикального) круга, а минуты и секунды читают по шкале микрометра.

Эксцентриситет алидады. Несовпадение оси вращения алидады CA (рис. 7.6) с центром лимба CL называется эксцентриситетом алидады и является причиной систематических погрешностей при измерении углов. Так, при повороте алидады на угол b (рис. 7.6 а) вместо верной разности отсчетов по лимбу О2 – О1 из-за эксцентриситета алидады будет получена разность M2 – M1.


При отсутствии эксцентриситета поворот алидады на 180° (см. рис. 7.6 б) вызывает изменение отсчета на 180°. А при наличии эксцентриситета отсчеты до и после поворота различаются не ровно на 180°, так как содержат одинаковые погрешности эксцентриситета e, но с разным знаком. Так на рис. 7.6 б отсчет M1 больше верного отсчета O на угол e, а отсчет M2 меньше верного отсчета на угол e.

 

a) б)

Рис. 7.6. Эксцентриситет алидады: а – влияние на результат измерения угла; б – исключение влияния; CL – центр лимба;CA – ось вращения алидады.

Для исключения погрешности эксцентриситета горизонтальные углы измеряют при двух положениях вертикального круга – круг слева и круг справа. При этом отсчётное устройство обеспечивает взятие отсчетов на противолежащих частях лимба. Среднее из результатов, полученных при круге слева и круге справа, свободно от ошибки эксцентриситета.

Высокоточные теодолиты имеют двухсторонние отсчетные устройства, обеспечивающие одновременное взятие отсчетов по противоположным частям лимба.

Уровни служат для приведения осей и плоскостей приборов в горизонтальное или вертикальное положение. По конструкции они бывают цилиндрические и круглые.

 

    Рис. 7.7. Цилиндрический уровень: а – общий вид; б – цена деления уровня.

 

Цилиндрический уровень (рис. 7.7.) состоит из стеклянной ампулы, верхняя внутренняя поверхность которой отшлифована по дуге окружности определённого радиуса. При изготовлении уровня её заполняют горячим эфиром или спиртом и запаивают. При охлаждении в ампуле образуется небольшое пространство, заполненное парами жидкости и называемое пузырьком уровня. Ампула помещается в металлическую оправу, снабжённую исправительными винтами для регулировки положения уровня (на рис. 7.7, а - винт М). На внешней поверхности ампулы нанесена шкала со штрихами через 2 мм. Точка в середине шкалы называется нульпунктом уровня. Касательная к внутренней поверхности ампулы в нульпункте называется осью уровня. Пузырёк уровня занимает в ампуле наивысшее положение, поэтому, когда его концы расположены симметрично относительно нульпункта, ось уровня горизонтальна.

Центральный угол t (рис. 7.7, б), соответствующий одному делению шкалы, называется ценой деления уровня. Цена деления уровня, выраженная в секундах, определяется по формуле

где l - длина деления шкалы; R - радиус внутренней поверхности ампулы; ρ - число секунд в радиане. В разных типах теодолита цена деления цилиндрического уровня бывает от 15² до 60².

У круглого уровня (рис. 7.8.) внутренняя поверхность верхней стеклянной части ампулы имеет сферическую поверхность. Шкала уровня имеет вид окружностей с общим центром, который служит нульпунктом.

 

 

Рис. 7.8. Круглый уровень:

а – вид сверху; б –разрез и ось уровня

Нормаль к внутренней сферической поверхности ампулы в нульпункте называется осью круглого уровня. При расположении пузырька уровня в нульпункте ось уровня занимает отвесное положение. Цена деления круглого уровня бывает в пределах 3 - 15’. Круглые уровни служат для предварительной установки прибора в рабочее положение.

 

Поверки теодолита выполняют для контроля соблюдения в приборе верного взаиморасположения его осей. Основными поверками являются следующие.


Поверка уровня. Ось цилиндрического уровня на алидаде горизонтального круга должна быть перпендикулярна к оси вращения алидады.

Перед выполнением поверки выполняют горизонтирование теодолита. Затем устанавливают уровень по направлению двух подъёмных винтов и с их помощью приводят пузырёк в нульпункт. Поворачивают алидаду на 180º. Если пузырёк уровня остался в нульпункте, то требуемое условие выполнено – ось уровня перпендикулярна к оси вращения алидады. Если пузырёк уровня ушел из нульпункта, исправительными винтами уровня изменяют его наклон, перемещая пузырёк в сторону нульпункта на половину отклонения.

Поверку повторяют, добиваясь, чтобы смещение пузырька было меньше одного деления.

Поверка сетки нитей. Вертикальный штрих сетки нитей должен быть перпендикулярен к оси вращения зрительной трубы.

Наводят вертикальный штрих сетки нитей на точку и наводящим винтом трубы изменяют ее наклон. Если изображение точки не скользит по штриху, сетку нитей надо повернуть. Для этого поворачивают корпус окуляра, ослабив четыре винта его крепления к зрительной трубе (рис. 7.9).

 

  Рис. 7.9. Крепление сетки нитей: 1- крепёжный винт окуляра; 2, 3 - горизонтальные и вертикальные исправительные винты сетки нитей; 4 – сетка нитей.

 

Поверка визирной оси. Визирная ось трубы должна быть перпендикулярна к оси вращения трубы.

Если визирная ось перпендикулярна к оси вращения трубы, то отсчёты по горизонтальному кругу при разных положениях вертикального круга (круг слева и круг справа) и наведении на одну и ту же точку будут различаться ровно на 180º. Если разность отчетов отличается от 180°, то ось вращения трубы не перпендикулярна к визирной оси (рис. 7.10). При этом соответствующие отсчёты Л и П отличаются от правильных значений на одинаковую величину с, получившую название коллимационной ошибки.

При выполнении поверки визируют на удалённую точку при двух положениях круга и берут отсчёты Л и П. Вычисляют коллимационную погрешность с = (Л - П ± 180°) ¤ 2, которая не должна превышать двойной точности теодолита.

Если коллимационная погрешность велика, то наводящим винтом алидады устанавливают на горизонтальном круге верный отсчёт, равный (Л - с) или (П + с). При этом центр сетки нитей сместится с изображения точки. Отвинчивают колпачок, закрывающий винты сетки нитей, ослабляют один из вертикальных исправительных винтов, и, действуя горизонтальными исправительными винтами, совмещают центр сетки нитей с изображением точки. Закрепив ослабленные винты, поверку повторяют.

Рис. 7.10. Поверка визирной оси: ss - визирная ось; tt - верное положение оси вращения трубы; t1t1, t2t2 -положение оси вращения трубы при круге право и круге лево.   Рис. 7.11. Поверка оси вращения зрительной трубы

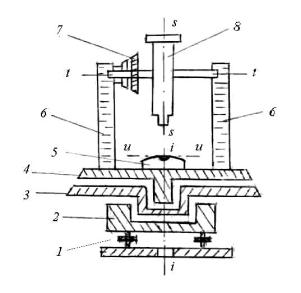
Поверка оси вращения трубы. Ось вращения трубы должна быть перпендикулярна к оси вращения алидады.


Установив теодолит вблизи стены здания, визируют на высоко расположенную под углом наклона 25 - 30º точку Р (рис. 7.11). Наклоняют трубу до горизонтального положения и отмечают на стене проекцию центра сетки нитей. Переводят трубу через зенит, вновь визируют на точку Р и отмечают её проекцию. Если изображения обеих проекций точки не выходят за пределы биссектора сетки нитей, требование считают выполненным. В противном случае необходимо исправить положение оси вращения трубы. Исправление выполняют в мастерской, изменяя наклон оси.







Date: 2015-09-19; view: 1991; Нарушение авторских прав



mydocx.ru - 2015-2026 year. (0.994 sec.) Все материалы представленные на сайте исключительно с целью ознакомления читателями и не преследуют коммерческих целей или нарушение авторских прав - Пожаловаться на публикацию