Главная Случайная страница


Полезное:

Как сделать разговор полезным и приятным Как сделать объемную звезду своими руками Как сделать то, что делать не хочется? Как сделать погремушку Как сделать так чтобы женщины сами знакомились с вами Как сделать идею коммерческой Как сделать хорошую растяжку ног? Как сделать наш разум здоровым? Как сделать, чтобы люди обманывали меньше Вопрос 4. Как сделать так, чтобы вас уважали и ценили? Как сделать лучше себе и другим людям Как сделать свидание интересным?


Категории:

АрхитектураАстрономияБиологияГеографияГеологияИнформатикаИскусствоИсторияКулинарияКультураМаркетингМатематикаМедицинаМенеджментОхрана трудаПравоПроизводствоПсихологияРелигияСоциологияСпортТехникаФизикаФилософияХимияЭкологияЭкономикаЭлектроника






Краткое описание печи и ее схема





Курсовая работа

«Расчет секционной печи для нагрева труб»

По дисциплине «Теплотехника»

 

Выполнила:

Студентка гр. МВР-09-2

Абдуназаров Б.А.

Проверил:

Янюшкин Ю.М.

 

Москва

2012 г

Содержание

  1. Краткое описание печи и ее схему
  2. Расчет теплообмена в рабочем пространстве печи
  3. Расчет нагрева труб

4. Расчет горения топлива (состав исходного газа, состав и калориметрическая температура продуктов сгорания)

5. Тепловой баланс печи по секциям

6.Расчет расхода топлива по секции и на всю печь

7.Определение основных размеров и параметров печи

8.Расчет горелки

 

 

Исходные данные

 

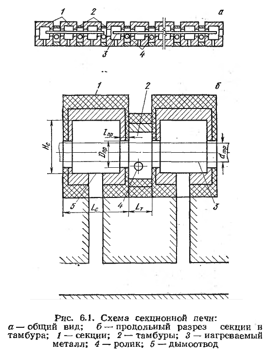
  1. Тип и название печи Проходная секционная печь для

скоростного нагрева труб

  1. Размеры труб

2.1 наружный диаметр dтр=50 мм

2.2 толщина стенки Sтр=1мм

2.3 длина l =12 м

  1. Марка стали(плотность, кг/м3) малоуглеродистая, 7850 кг/м3
  2. Производительность печи P =0,3 т/ч
  3. Число ручьев n=1 шт

Разрыв между трубами в печи м 0,5

6. Температура в 1 секции печи tc 0С выбрать

7. Температура трубы 0С

7.1 начальная tмнач =20 0С

7.2 конечная tмкон =600 0С

8. Топливо

 

Наименование топлива Состав сухого топлива в объемных % Влажность W г/м3
CH4 C2H4 C2H6 C3H8 C4H10 C5H12 CO2 N2 Всего
Природный газ Туймазинского мр 57,50 0,00 15,00 11,00 8,00 4,00 1,50 3,00    

 

9. Температура подогрева воздуха tв =3700С

10. Коэффициент расхода воздуха αв =1,08

11. Тип горелок выбрать

12. Размеры рабочего пространства секции

12.1 длина Lc=1,5 м

12.2 диаметр Dc =1,0 м

13. Размеры рабочего пространства тамбура

13.1 длина Lт=0,5 м

13.2 диаметр Dт=0,5 м

14. Размеры проема между секцией и тамбуром

14.1 диаметр Dпр=0,3 м

14.2 толщина lпр = 0,2 м

15. Футеровка секции

15.1 материал шамотно-волокнистые плиты ШВП-350

15.2 толщина Sс=300 мм

16. Футеровка тамбура

16.1 материал муллитокремнеземистый войлок МКВР-200

16.2 толщина Sт=200 мм

Краткое описание печи и ее схема.

Секционные печи скоростного нагрева применя­ют для нагрева больших партий однородного сортамента трубной заготовки и труб диамет­ром до 200 мм и длиной не менее 2,5—3 м. Иногда в этих печах нагревают квадратную заготовку небольших размеров.

Секционные печи состоят из установлен­ных в одну линию отапливаемых камер. (сек­ций) и расположенных между ними неотапли­ваемых тамбуров, в которых находятся транс­портирующие ролики. Ролики косо располо­жены, что обеспечивает непрерывное враще­ние заготовки во время нагрева. Заготовки можно перемещать в печи в один, два или три ряда (ручья). Каждая секция имеет са­мостоятельное," отопление - и дымоотбор; не­сколько секций объединяют в общую систему регулирования (зону). Длина секции 1,5— 1,75 м, поперечные размеры на 0,4—0,6 м больше поперечных размеров нагреваемой за­готовки; длина неотапливаемого тамбура 0,35—0,5 м.







Date: 2015-09-19; view: 479; Нарушение авторских прав



mydocx.ru - 2015-2026 year. (0.251 sec.) Все материалы представленные на сайте исключительно с целью ознакомления читателями и не преследуют коммерческих целей или нарушение авторских прав - Пожаловаться на публикацию