Главная Случайная страница


Полезное:

Как сделать разговор полезным и приятным Как сделать объемную звезду своими руками Как сделать то, что делать не хочется? Как сделать погремушку Как сделать так чтобы женщины сами знакомились с вами Как сделать идею коммерческой Как сделать хорошую растяжку ног? Как сделать наш разум здоровым? Как сделать, чтобы люди обманывали меньше Вопрос 4. Как сделать так, чтобы вас уважали и ценили? Как сделать лучше себе и другим людям Как сделать свидание интересным?


Категории:

АрхитектураАстрономияБиологияГеографияГеологияИнформатикаИскусствоИсторияКулинарияКультураМаркетингМатематикаМедицинаМенеджментОхрана трудаПравоПроизводствоПсихологияРелигияСоциологияСпортТехникаФизикаФилософияХимияЭкологияЭкономикаЭлектроника






Устройство теодолитов





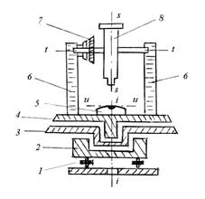
В отверстие подставки 2, опирающейся на три подъёмных винта 1, входит ось вращения лимба 3, в которую в свою очередь входит ось алидады 4.

    Рис.. Схема устройства теодолита: ii - ось вращения алидады; tt - ось вращения трубы; ss - визирная ось трубы; uu- ось уровня алидады. Лимб это стеклянный круг, по скошенному краю которого нанесены деления с оцифровкой от 0 до 360º по часовой стрелке. Алидада - верхняя часть прибора, расположенная соосно с лимбом.

Алидада несет стойки 6, на которые опирается ось tt вращения зрительной трубы 8 с вертикальным кругом 7. Установка оси ii вращения алидады в отвесное положение выполняется тремя подъёмными винтами подставки по цилиндрическому уровню 5.

Вращающиеся части теодолита снабжены закрепительными винтами для их установки в неподвижное положение и наводящими винтами для плавного их вращения.

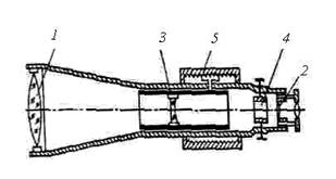
Зрительная труба служит для обеспечения точности наведения на визирные цели. Трубы бывают с прямым и обратным изображением.

  Рис.. Зрительная труба

Оптическая система трубы состоит из объектива 1, окуляра 2 и фокусирующей линзы 3, которую с помощью специального устройства - кремальеры 5, перемещают вдоль геометрической оси трубы. Между фокусирующей линзой и окуляром помещена сетка нитей 4 – деталь, несущая стеклянную пластину с нанесёнными на нее вертикальными и горизонтальными штрихами. При измерении углов перекрестие штрихов – центр сетки нитей, наводят на изображение визирной цели.

Сетка нитей имеет четыре исправительных винта, позволяющих перемещать ее в горизонтальном и вертикальном направлениях.

Линия, проходящая через оптический центр объектива и перекрестие сетки нитей, называется визирной осью.

Увеличением трубы называется отношение угла, под которым изображение предмета видно в трубе, к углу, под которым предмет виден невооружённым глазом. Практически увеличение трубы равно отношению фокусного расстояния объектива к фокусному расстоянию окуляра. Трубы геодезических приборов имеют увеличение от 15´ до 50´ и более.

Полем зрения трубы называется пространство, видимое в трубу при её неподвижном положении. Обычно оно бывает от 1 до 2 º.

Визированием называют наведение трубы на цель. Точность визирования зависит от увеличения трубы и приближенно равна ,

где v ´ – увеличение зрительной трубы, а 60²– средняя разрешающая способность глаза.

Отсчётные устройства служат для взятия отсчетов по горизонтальному и вертикальному кругам. Они снабжены отсчетными микроскопами. Различают микроскопы штриховые, шкаловые и микроскопы с оптическими микрометрами.

В штриховом микроскопе отсчет с точностью 1¢ берут по положению нулевого штриха алидады а (рис. 5, а), интерполируя минуты на глаз.

   

Рис.. Поле зрения отсчётных микроскопов:

а - штрихового (отсчёт по горизонтальному кругу 159º46’, по вертикальному 350º48’); б -шкалового (отсчёт по горизонтальному кругу 295º36’, по вертикальному -4º47’); в -оптического микрометра (отсчет 145º23’14’’).

Шкаловый микроскоп имеет две шкалы, совмещённые с лимбами вертикального и горизонтального кругов (рис., б). Отсчёты берут по градусным штрихам лимбов. Шкала вертикального круга теодолита 2Т30 имеет два ряда подписей. Если перед градусным делением отсутствует знак, отсчёт делают так же, как и по горизонтальному кругу. Если перед цифрой градусов стоит минус, то минуты считывают по шкале от -0 до -6 (справа налево).

Эксцентриситет алидады. Несовпадение оси вращения алидады CA с центром лимба CL называется эксцентриситетом алидады и является причиной систематических погрешностей при измерении углов. Так, при повороте алидады на угол b (рис. 7.6 а) вместо верной разности отсчетов по лимбу О 2О 1 из-за эксцентриситета алидады будет получена разность M 2M 1.

При отсутствии эксцентриситета поворот алидады на 180° (см. рис.. б) вызывает изменение отсчета на 180°. А при наличии эксцентриситета отсчеты до и после поворота различаются не ровно на 180°, так как содержат одинаковые погрешности эксцентриситета e, но с разным знаком. Так на рис. 7.6 б отсчет M 1 больше верного отсчета O на угол e, а отсчет M 2 меньше верного отсчета на угол e.

a) б)

Рис.. Эксцентриситет алидады: а – влияние на результат измерения угла; б – исключение влияния; CL – центр лимба; CA – ось вращения алидады.

Для исключения погрешности эксцентриситета горизонтальные углы измеряют при двух положениях вертикального круга – круг слева и круг справа. При этом отсчётное устройство обеспечивает взятие отсчетов на противолежащих частях лимба. Среднее из результатов, полученных при круге слева и круге справа, свободно от ошибки эксцентриситета.


Уровни служат для приведения осей и плоскостей приборов в горизонтальное или вертикальное положение. По конструкции они бывают цилиндрические и круглые.

  Рис.. Цилиндрический уровень: а – общий вид; б – цена деления уровня.

У круглого уровня (рис..) внутренняя поверхность верхней стеклянной части ампулы имеет сферическую поверхность. Шкала уровня имеет вид окружностей с общим центром, который служит нульпунктом.

 

Рис.. Круглый уровень: а – вид сверху; б –разрез и ось уровня

Нормаль к внутренней сферической поверхности ампулы в нульпункте называется осью круглого уровня. При расположении пузырька уровня в нульпункте ось уровня занимает отвесное положение. Цена деления круглого уровня бывает в пределах 3 - 15’. Круглые уровни служат для предварительной установки прибора в рабочее положение.

Разновидности теодолитов. В зависимости от точности теодолиты подразделяют на высокоточные (Т1), точные (Т2, Т5) и технические (Т15, Т30, Т60). Цифрами здесь указана точность измерения горизонтального угла одним приемом в лабораторных условиях, выраженная в секундах.

Различаются теодолиты и по конструкции.

Так, для измерения вертикальных углов точные теодолиты снабжены уровнем при вертикальном круге. У технических теодолитов такого уровня нет, его роль выполняет уровень при алидаде горизонтального круга. Есть теодолиты, в которых уровень при вертикальном круге заменен автоматическим компенсатором углов наклона (теодолиты Т5К, Т15К).

Теодолиты бывают с трубами прямого и обратного изображения. В первом случае в шифр теодолита добавляют букву П (Т5КП, Т15КП, Т15МКП). Маркшейдерские теодолиты (Т30М, Т15М), предназначенные для подземных работ, где возможно наличие взрывоопасного газа метана, изготавливают в специальном исполнении.

Электронные теодолиты (например, Т5Э) обеспечивают автоматическое считывание отсчетов по горизонтальному и вертикальному кругам. Угломерная часть электронного теодолита представляет собой растровый датчик накопительного типа. Датчиком угла служит стеклянный круг с нанесенным на него штрих-кодом. Сигнал, прочитанный фотоприемником, поступает в электронную часть датчика угла, обрабатывается и выводится в градусной мере на дисплей и в память прибора. Наличие двухосевого компенсатора обеспечивает автоматический ввод поправок за наклон в отсчеты по горизонтальному и вертикальному кругам.

Электронный теодолит является важной частью современного универсального прибора – электронного тахеометра.







Date: 2015-09-19; view: 699; Нарушение авторских прав



mydocx.ru - 2015-2026 year. (1.042 sec.) Все материалы представленные на сайте исключительно с целью ознакомления читателями и не преследуют коммерческих целей или нарушение авторских прав - Пожаловаться на публикацию