Главная Случайная страница


Полезное:

Как сделать разговор полезным и приятным Как сделать объемную звезду своими руками Как сделать то, что делать не хочется? Как сделать погремушку Как сделать так чтобы женщины сами знакомились с вами Как сделать идею коммерческой Как сделать хорошую растяжку ног? Как сделать наш разум здоровым? Как сделать, чтобы люди обманывали меньше Вопрос 4. Как сделать так, чтобы вас уважали и ценили? Как сделать лучше себе и другим людям Как сделать свидание интересным?


Категории:

АрхитектураАстрономияБиологияГеографияГеологияИнформатикаИскусствоИсторияКулинарияКультураМаркетингМатематикаМедицинаМенеджментОхрана трудаПравоПроизводствоПсихологияРелигияСоциологияСпортТехникаФизикаФилософияХимияЭкологияЭкономикаЭлектроника






Перекрытия





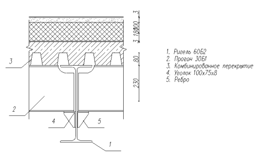
Междуэтажные перекрытия выполнены в виде комбинированной плиты из монолитного железобетона и стального профилированного настила. Комбинированная плита опирается на прогоны с шагом 3 м.

 
 


1.4.5 Лестницы.

Лестницы выполняются в виде железобетонных наборных ступеней, уложенных по металлическим косоурам:

Наружные лестницы выполняются сборными железобетонными.

1.4.6 Полы.

Конструкции применяемых полов различаются в зависимости от назначения помещения. Так в санузлах, гардеробных, производственных цехах предприятия питания, обеденном зале и баре используются плиточные полы:

В коридорах офисного центра, офисных помещениях, в помещениях пребывания служебного персонала, в таких как кабинеты, бухгалтерия, архив, касса, комнатах персонала, устраиваются следующие полы:

В кладовых, мастерских и складах устраиваются цементные полы:

В коридорах жилых этажей устраиваются плиточные полы:

В жилых номерах устраиваются полы из линолеума:

 

 

Крыша.

 
 


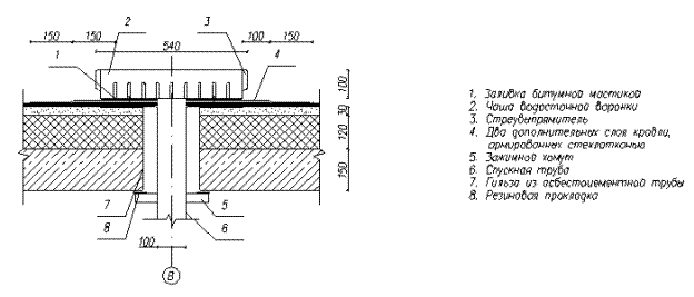
Крыша проектируемого здания – фонарная, малоуклонная (i=0.02), безчердачная с внутренним водостоком.Основные материалы кровли – гидроизолирующий слой «Изолен», цементная стяжка толщиной 30 мм, утеплитель «Rocwool» толщиной 180 мм.

Водосток с покрытия устраивается внутренний огранизованный. Сбор воды осуществляется воронками:

Лифт.

 

В здании запроектировано 7 пассажирских лифта по ГОСТ 5746-89 грузоподъемностью 500 кг, скорость 1 м/c. Тип кабины – непроходная с

раздвижными дверями. Расположение противовеса – сзади (справа, слева от) кабины. Размеры кабины 1700 x 1700мм. Стены лифтовой шахты выполнены из кирпича. Толщина стен 380мм.







Date: 2015-09-05; view: 804; Нарушение авторских прав



mydocx.ru - 2015-2026 year. (0.335 sec.) Все материалы представленные на сайте исключительно с целью ознакомления читателями и не преследуют коммерческих целей или нарушение авторских прав - Пожаловаться на публикацию