Главная Случайная страница


Полезное:

Как сделать разговор полезным и приятным Как сделать объемную звезду своими руками Как сделать то, что делать не хочется? Как сделать погремушку Как сделать так чтобы женщины сами знакомились с вами Как сделать идею коммерческой Как сделать хорошую растяжку ног? Как сделать наш разум здоровым? Как сделать, чтобы люди обманывали меньше Вопрос 4. Как сделать так, чтобы вас уважали и ценили? Как сделать лучше себе и другим людям Как сделать свидание интересным?


Категории:

АрхитектураАстрономияБиологияГеографияГеологияИнформатикаИскусствоИсторияКулинарияКультураМаркетингМатематикаМедицинаМенеджментОхрана трудаПравоПроизводствоПсихологияРелигияСоциологияСпортТехникаФизикаФилософияХимияЭкологияЭкономикаЭлектроника






Определяем и интенсивность отказов мультиплексора





λ3 = 1/Tср =

Определяем и интенсивность отказов всей системы в целом по формуле:

 

(t)c =

(t)c = = λ1+ λ2+ λ3=

 

где λi – интенсивность отказов каждого элемента системы.

Зная интенсивность отказов всей системы, определяем наработку на отказ системы по формуле:

 

Tср.с =

Tср.с = =

Вероятность безотказной работы вероятность того, что в течение заданного времени не произойдет отказа в системе.

Вероятность безотказной работы определяется по формуле

Pс(t)= e –Λt

где t – время испытания, ч; – интенсивность отказов системы.

Время испытания может принимать следующие значения: 0, 24, 720, 2172, 8760 ч.

Расчет вероятности отказа необходимо произвести при различных значениях времени испытания t и по данным расчетам построить кривую безотказности P(t).

P(t)

1

 

 

t время

Параметры ремонтопригодности:

– среднее время восстановления;

– коэффициент готовности;

– коэффициент простоя.

Используя параметры надежности Tср и Tв, можно вычислить коэффициент доступности услуг Кд (коэффициент готовности Кг).

Коэффициент готовности – вероятность того, что система будет в работоспособном состоянии в любой момент времени в промежутках между выполнением профилактического обслуживания или ремонта.

Коэффициент готовности:

К г =

где Tcp – среднее время наработки на отказ системы; Tв – время восстановления системы.

К г =

Коэффициент простоя учитывает все простои аппаратуры, вызванные техническим обслуживанием, но без учета простоев по организационным причинам.

 

Коэффициент простоя

KП = 1 – Кг.

 

Результаты расчетов сводим в таблицу5.

Таблица 5.

Интенсивность отказов системы с, 1/ч   Наработка на отказ системы Тср, ч Вероятность безотказной работы системы P(t) Тв Кг Кп
t = 24 t = 720 t = 2172 t = 8760      
                   

 

Расчетные параметры сравниваем с нормативными показателями.

Нормативные показатели системы:

Наработка на отказ системы Тср должна быть не менее 350 суток;

Коэффициент готовности системы Кг должен быть не менее 0,99.

 

 

Литература

1.Абилов А.В. Распространение радиоволн в сетях подвижной связи,: учебное пособие, ИжГТУ, 2001.

2.Бобков В.Ю. Сети мобильной связи: частотно-территориальное пла-нирование: учеб. пособие / В.Ю. Бабков, М.А. Вознюк, П.А. Ми-хайлов. – 2-е изд., испр. – М.: Горячая линия – Телеком, 2007.

3.Колодезная Г.В. Основы теории связи с подвижными объектами, методическое пособие по курсовому проектированию: Хабаровск, ДВГУПС, 2012.

4. Половко А.М. Основы теории надежности / А.М. Половко, С.В. Гуров. – СПб.: БВХ-Петербург, 2008

 

Приложение 1.

Трасса похождения сигнала от базовой станции(БС) к абонентской станции(АС)

 


Pout БС Ga БС

Tx
фидер
Lf БС L p

Комбайнер
Ga АС

PinБС с ТМА

фидер
фидер
Приемник (разнесенный прием)
PinБС без ТМА L p LfАС

Ga БС

фидер
Gd БС

Rx
T x Rx  

 

Lf БС

Стойка базовой станции

P out AC P in AC

 


Обозначение:

G – усиление; L – потери; L p – потери на трассе; А – антенна; D – разнесение; F – фидер; С – комбайнер; Тх – передатчик; Rx – приемник; Pin – входная мощность; Pout – выходная мощность; ТМА (Tower Mounted Amplifier) – малошумящий усилитель на входе приемника.

 

 

Приложение 2.

Модель Эрланга В (система с отказами)

 

Число каналов Вероятность блокировки Рбл, %
0,1 0,5 1.0      
Трафик(Эрланг)
1. 0,0010 0,0050 0,0101 0,0204 0,0526 0,1111
2. 0,0458 0,1054 0,1526 0,2235 0,3813 0,5954
3. 0,1938 0,3490 0,4555 0,6022 0,8994 1,271
4. 0,4393 0,7012 0,8694 1,092 1,525 2,045
5. 0,7621 1,132 1,361 1,657 2,219 2,881
6. 1,146 1,622 1,909 2,276 2,960 3,758
7. 1,579 2,158 2,501 2,935 3,738 2,666
8. 2,051 2,730 3,128 3,627 2,543 5,597
9. 2,558 3,333 3,783 2,345 5,370 6,546
10. 3,092 3,961 2,461 5,084 6,216 7,511
11. 3,651 2,610 5,160 5,842 7,076 8,487
12. 2,231 5,279 5,876 6,615 7,950 9,474
13. 2,831 5,964 6,607 7,402 8,835 10,47
14. 5,446 6,663 7,352 8,2 9,730 11,47
15. 6,077 7,376 8,108 9,010 10,63 12,48
16. 6,722 8,100 8,875 9,828 11,54 13,50
17. 7,378 8,834 9,652 10,66 12,46 14,52
18. 8,046 9,578 10,44 11,49 13,39 15,55
19. 8,724 10,33 11,23 12,33 14,32 16,58
20. 9,412 11,09 12,03 13,18 15,25 17,61
21. 10,11 11,86 12,84 14,04 16,19 18,65
22. 10,81 12,64 13,65 14,90 17,13 19,69
23. 11,52 13,42 12,47 15,76 18,08 20,74
24. 12,24 14,20 15,30 16,63 19,03 21,78
25. 12,97 15,00 16,13 17,51 19,99 22,83
26. 13,70 15,80 16,96 18,38 20,94 23,89
27. 12,44 16,60 17,80 19,27 21,90 24,94
28. 15,18 17,41 18,64 20,15 22,87 26,00
29. 15,93 18,22 19,49 21,04 23,83 27,05
30. 16,68 19,03 20,34 21,93 24,80 28,11
31. 17,44 19,85 21,19 22,83 25,77 29,17
32. 18,21 20,68 22,05 23,73 26,75 30,24
33. 18,97 21,51 22,91 24,63 27,72 31,30
34. 19,74 22,34 23,77 25,53 28,70 32,37
35. 20,52 23,17 24,64 26,44 29,68 33,43
36. 21,30 24,01 25,51 27,34 30,66 32,50
37. 22,08 24,85 26,38 28,25 31,64 35,57
38. 22,86 25,69 27,25 29,17 32,62 36,64
39. 23,65 26,53 28,13 30,08 33,61 37,72
40. 24,44 27,38 29,01 31,00 34,60 38,79

 


 

Приложение 3.

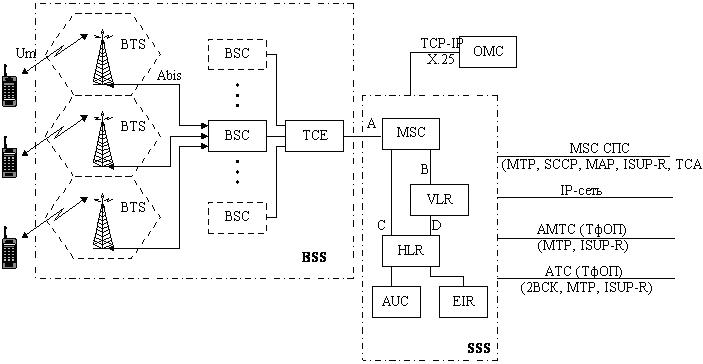
Конфигурация сети:GSM

Элементы сотовой сети связи стандарта GSM:

MS (Mobile Station) – подвижная станция;

BSS – подсистема базовых станций (BSC+TCE+BTS);

BTS (Base Station) – базовая станция;

BSC (Base Station Controller) – контроллер базовой станции;

TCE – транскодер;

SSS (Switching SubSystem) – подсистема коммутации;

MSC (Mobile Switching Center) – центр коммутации подвижной станции;

HLP (Home Location Register) – регистр положения (домашний регистр);

VLR (Vision Location Register) –гостевой регистр местоположения;

AUC (Authentication Center) – центр аутентификации;

EIR (Equipment Identity Register) – регистр идентификации оборудования;

OMC (Operations and Maintenance Center) – подсистема эксплуатации и технического обслуживания.

 







Date: 2015-09-18; view: 1481; Нарушение авторских прав



mydocx.ru - 2015-2026 year. (3.089 sec.) Все материалы представленные на сайте исключительно с целью ознакомления читателями и не преследуют коммерческих целей или нарушение авторских прав - Пожаловаться на публикацию