Главная Случайная страница


Полезное:

Как сделать разговор полезным и приятным Как сделать объемную звезду своими руками Как сделать то, что делать не хочется? Как сделать погремушку Как сделать так чтобы женщины сами знакомились с вами Как сделать идею коммерческой Как сделать хорошую растяжку ног? Как сделать наш разум здоровым? Как сделать, чтобы люди обманывали меньше Вопрос 4. Как сделать так, чтобы вас уважали и ценили? Как сделать лучше себе и другим людям Как сделать свидание интересным?


Категории:

АрхитектураАстрономияБиологияГеографияГеологияИнформатикаИскусствоИсторияКулинарияКультураМаркетингМатематикаМедицинаМенеджментОхрана трудаПравоПроизводствоПсихологияРелигияСоциологияСпортТехникаФизикаФилософияХимияЭкологияЭкономикаЭлектроника






Методика наращивания слоев PbS на сколах кристаллов NaCl





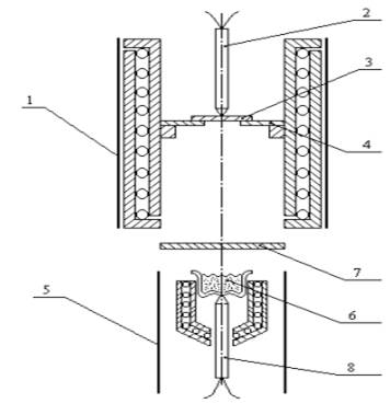
Для получения слоев используется порошок сернистого свинца стехиометрического состава (марка «особо чистый»). Для создания материала большей механической однородности с целью воспроизводимости процесса испарения порошок размалывается в ступке и просеивается через сито размером ячейки 100 мкм. Конструкции нагревателя подложек и испарителя представлены на рис. 1. В качестве испарителя используется кварцевый тигель, нагревательный элемент – вольфрамовая спираль. Подложка помещается в кварцевую цилиндрическую печь, расстояние между испарителем и подложкой – 75 мм.

Основными параметрами, которые нужно контролировать во время процесса молекулярно-лучевой эпитаксии, являются давление остаточных газов, температура испарителя и температура подложки (температура роста). От температуры испарителя зависит скорость поступления вещества на подложку, влияние температуры подложки на эпитаксию связано с тем, что она вместе с температурой источника паров задает пересыщение в системе, и, главное – определяет подвижность адсорбированных атомов на поверхности.

Температура подложки и испарителя измеряется с помощью хромель-алюмелевых термопар. Время конденсации контролируется секундомером и выдерживается с помощью подвижного экрана.

Рисунок 1. Схема нагревателя подложки и испарителя: 1 – печь для нагрева подложек; 2 – термопара; 3 – подложка; 4 – маска; 5 – печь испарителя; 6 – испаряемое вещество; 7 – экран; 8 – термопара;

Подложка из каменной соли готовится непосредственно перед помещением в вакуумную установку. Это делается для того, чтобы уменьшить время соприкосновения поверхности подложки с воздухом. Сколы приготавливаются с помощью острого лезвия. Выбираются подложки с наиболее гладкой поверхностью, без глубоких и частых ступеней.

Тонкие слои PbS получаются в вакуумной установке ВУП – 4 при давлении остаточных газов 10-5 – 5·10-6 Торр, при определенных температурных режимах испарения и конденсации и времени роста.







Date: 2015-09-18; view: 642; Нарушение авторских прав



mydocx.ru - 2015-2026 year. (0.715 sec.) Все материалы представленные на сайте исключительно с целью ознакомления читателями и не преследуют коммерческих целей или нарушение авторских прав - Пожаловаться на публикацию