Главная Случайная страница


Полезное:

Как сделать разговор полезным и приятным Как сделать объемную звезду своими руками Как сделать то, что делать не хочется? Как сделать погремушку Как сделать так чтобы женщины сами знакомились с вами Как сделать идею коммерческой Как сделать хорошую растяжку ног? Как сделать наш разум здоровым? Как сделать, чтобы люди обманывали меньше Вопрос 4. Как сделать так, чтобы вас уважали и ценили? Как сделать лучше себе и другим людям Как сделать свидание интересным?


Категории:

АрхитектураАстрономияБиологияГеографияГеологияИнформатикаИскусствоИсторияКулинарияКультураМаркетингМатематикаМедицинаМенеджментОхрана трудаПравоПроизводствоПсихологияРелигияСоциологияСпортТехникаФизикаФилософияХимияЭкологияЭкономикаЭлектроника






Основные теоретические положения





Введение

Водная микрофлора очень разнообразна: бактерии, вирусы, бактериофаги, плесени, водоросли. Самоочищение в водоёмах осуществляется под воздействием биологических процессов путём окисления ЗВ растворённым в воде кислородом. Этот процесс является результатом жизнедеятельности целого комплекса водных организмов.

 

Цель работы:

· Провести моделирование по мономолекулярной и бимолекулярной моделям, определив зависимость концентрации БПК и кислорода от времени.

· Изучить процессы биохимического распада загрязняющих веществ (ЗВ)

· Научиться пользоваться пакетом «Design.Lab»

 

Процессы самоочищения в водоёмах. Расчёт кислородного режима в водотоках с использованием мономолекулярной и бимолекулярной моделей БПК – кислород

Основные теоретические положения

 

Микробиологические процессы при самоочищении водоёмов происходят в результате питания бактерий, дыхания и их отмирания.

На начальном этапе начинается процесс окисления поступающих органических веществ, следовательно, изменяется кислородный режим. Процесс окисления органических веществ связан с активным расходом кислорода. До определённого момента времени расход кислорода на окисление превышает количество кислорода, поступающего из атмосферы. Интенсивность поступления кислорода из атмосферы зависит от гидродинамических характеристик водного объекта и определяется величиной коэффициента реаэрации; скорость самого процесса окисления определяется величиной коэффициента биохимического окисления. Иногда его называют коэффициентом минерализации. Наступает момент при окислении органических загрязнений в водном объекте, когда количество кислорода, расходуемого на окисление, компенсируется кислородом, поступающим из атмосферы. Этот момент соответствует минимальному значению концентрации кислорода в водном объекте; на кислородной кривой это точка перегиба.

После этого потребность в количестве растворённого в воде кислорода, расходуемого на процесс окисления, становится меньше, чем его поступает из атмосферно воздуха, и величина растворённого в воде кислорода начинает расти до тех пор, пока не достигнет величины предельного насыщения при данной температуре. В начале процесса происходит увеличение количества бактерий, что способствует активному уменьшению количества органических веществ. Когда пищи становится меньше, то наблюдается гибель бактерий.

Скорость, с которой растворённый кислород потребляется в природной воде или воде, загрязнённой стоками, впервые была изучена Фелпсом и Стритером. Было найдено, что биохимическое окисление протекает также, как мономолекулярная химическая реакция. Т.е. скорость приблизительно пропорциональна остающейся концентрации неокисленного органического вещества и является функцией температуры.

Изменение БПК и растворённого в воде кислорода по схеме Фелпса-Стритера (мономолекулярная модель) описывается системой уравнений. Эта система имеет ограниченный диапазон применимости: при больших дефицитах кислорода в условиях анаэробного режима кривая кислородного прогиба даёт неправдоподобную картину – отрицательное значение концентрации растворённого в воде кислорода.

В случае, если мономолекулярная модель не применима, используется бимолекулярная модель. Для определения параметров бимолекулярной модели используем решение мономолекулярной модели, но с изменёнными начальными условиями, с учётом ограничений по применению модели Фелпса-Стритера. Следует отметить, что в тех случаях, когда применима модель Фелпса-Стритера, естественно применима и бимолекулярная модель. Расчёт по бимолекулярной модели производится при различных значениях коэффициента α, который принимается последовательно: равным k 1; меньше, чем k 1; больше, чем k 1 и потом, методом последовательных приближений, находятся α, при котором решения по моно- и бимолекулярной моделям максимально совпадают.

 

Мономолекулярная модель:

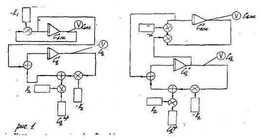
Программа моделирования Pspice запускается по команде Analysis/Simulation. Программа позволяет составить схемы моно- и бимолекулярной моделей на одном листе (в одном файле) и проводить моделирование и построение графиков для обеих моделей одновременно. Это делает очень удобной и быстрой процедуру визуального сравнения графиков для выбора наиболее подходящего α.

На рисунке представлены кривые изменения БПК и концентрации растворенного в воде кислорода по моно- и бимолекулярной моделям.

 

Схема

 

3. Исходные данные для расчёта

Исходные данные, необходимые для расчёта кислородного режима, сведены в таблицу:

СºБПК СºО2 К1 К2 С мг/л l υ
мг/л мг/л ºС 1/сут 1/сек 1/сут 1/сек км м/с
      0,2 0,00000231 0,15 0,00000174 9,95   0,2

 







Date: 2015-09-02; view: 788; Нарушение авторских прав



mydocx.ru - 2015-2026 year. (1.316 sec.) Все материалы представленные на сайте исключительно с целью ознакомления читателями и не преследуют коммерческих целей или нарушение авторских прав - Пожаловаться на публикацию