Главная Случайная страница


Полезное:

Как сделать разговор полезным и приятным Как сделать объемную звезду своими руками Как сделать то, что делать не хочется? Как сделать погремушку Как сделать так чтобы женщины сами знакомились с вами Как сделать идею коммерческой Как сделать хорошую растяжку ног? Как сделать наш разум здоровым? Как сделать, чтобы люди обманывали меньше Вопрос 4. Как сделать так, чтобы вас уважали и ценили? Как сделать лучше себе и другим людям Как сделать свидание интересным?


Категории:

АрхитектураАстрономияБиологияГеографияГеологияИнформатикаИскусствоИсторияКулинарияКультураМаркетингМатематикаМедицинаМенеджментОхрана трудаПравоПроизводствоПсихологияРелигияСоциологияСпортТехникаФизикаФилософияХимияЭкологияЭкономикаЭлектроника






Загальна характеристика сталі 5ХНТ





 

Дана сталь застосуються для виготовлення молотових штампів, пароповітряних і пневматичних молотів з масою падаючих частин до 3т контейнеров, штампових інструментів з великою робочою поверхнею, що працюють із невисокими питомими зусиллями й з розігрівом поверхні до 400-500˚С, вставок базових деталей. Найчастіше її використовують для виготовлення штампів, матриць, болтів матриць ТКМ.

Класифікаційні характеристики:

- інструментальний;

- доэвтектоидная;

- хромонікелева з титаном;

- штампова для гарячого деформування;

- помірної теплостійкості;

- підвищеної в'язкості.

Хімічний склад стали 5ХНТ приведен у таблиці2.1

 

Таблиця 2.1 - Хімічний склад стали 5ХНТ, % масс

 

Критичні крапки стали 5ХНТ показані в таблиці 2.2

 

Таблиця 2.2 - Критичні крапки стали 5ХНТ, оС

 

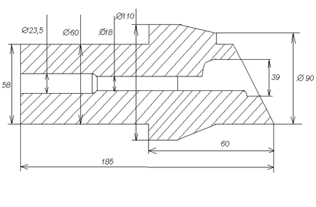
У даній роботі буде розглядатися термічна обробка матриці зі сталі 5ХНТ, креслення якої наведений на малюнку 2.1.

 

Рисунок 2.1. - Ескіз матриці зі сталі 5ХНТ, m=13,4кг

 

Штампи для гарячого деформування працюють у досить жорстких умовах, для яких характерні високі діючі напруги, рівні яких наближаються до границь текучості штампових сталей, високі температури нагрівання, підсилюються впливи напруг від закономірних зусиль при деформації, термічні напруги, певні умовами нагрівання й охолодження штампів. Основними причинами виходу з ладу штампів є зминання, зношування й термомеханическая утома. Основними вимогами до матриці зі сталі 5ХНТ є:

HRC= 40-44

σв ~ 1500 H/мм2

σт ~ 850 H/мм2

KCU ~ 40Дж/ см2

δ = 15%

Виплавку стали 5ХНТ здійснюють в основному в електродугових печах ємністю 5-50 т, що мають ряд переваг у порівнянні з мартенівськими. При цьому легше забезпечуються умови для більше повного розкислення метала й видалення включень, для досягнення більшої чистоти по змісту сірки й фосфору. Виплавку здійснюють методом электрошлакового переплаву, що забезпечують ефективне рафінування стали від неметалічних включень, сприяють значному підвищенню їхньої дисперсності й рівномірному розподілу їх в обсязі.

Макроструктура металу після ЭШП характеризується більше високою щільністю.

Сталь 5ХНТ розливають сифоном у восьмикутний злиток масою 4,8 т. У зв'язку з тим, що штампова сталь схильна до утворення термічних тріщин, при охолодженні на повітрі злитки уповільнено прохолоджують у неопалюваних колодязях до t~150-250 0С. Після вивантаження з колодязів не пізніше, ніж через 24-28 ч завантажують на відпал.

Після відпалу злиток прокочується на блюмінгу, а потім блюм прокочується на заготовочному стані. Заготівля ріжеться на мірні довжини й кується на гідравлічному пресі.

Після сфероідизуючого відпалу проводиться механічна обробка до кінцевих розмірів. Потім остаточна ТО.

Основні вимоги до сталі 5ХНТ:

HRC = 40-44;

σв = 1575 H/мм2;

δ = 15%;

KCU ~ 40Дж/см2

Основні етапи переділу матриці зі сталі 5ХНТ показані на малюнку 2.2.

Рисунок 2.2.- Основні етапи переділу матриці зі сталі 5ХНТ

 

 







Date: 2015-09-02; view: 1595; Нарушение авторских прав



mydocx.ru - 2015-2026 year. (1.192 sec.) Все материалы представленные на сайте исключительно с целью ознакомления читателями и не преследуют коммерческих целей или нарушение авторских прав - Пожаловаться на публикацию