Главная Случайная страница


Полезное:

Как сделать разговор полезным и приятным Как сделать объемную звезду своими руками Как сделать то, что делать не хочется? Как сделать погремушку Как сделать так чтобы женщины сами знакомились с вами Как сделать идею коммерческой Как сделать хорошую растяжку ног? Как сделать наш разум здоровым? Как сделать, чтобы люди обманывали меньше Вопрос 4. Как сделать так, чтобы вас уважали и ценили? Как сделать лучше себе и другим людям Как сделать свидание интересным?


Категории:

АрхитектураАстрономияБиологияГеографияГеологияИнформатикаИскусствоИсторияКулинарияКультураМаркетингМатематикаМедицинаМенеджментОхрана трудаПравоПроизводствоПсихологияРелигияСоциологияСпортТехникаФизикаФилософияХимияЭкологияЭкономикаЭлектроника






Логические и арифметические основы и принципы работы ЭВМ

МИНИСТЕРСТВО ОБРАЗОВАНИЯ И НАУКИ РЕПУБЛИКИ КАЗАХСТАН

КОЛЛЕДЖ МЕЖДУНАРОЛНОЙ АКАДЕМИИ БИЗНЕСА

 

 

ОТЧЕТ ПО УЧЕБНОЙ ПРАКТИКЕ

По дисциплине «Технические средства информации»

 

 

Выполнил: Буланов В. А.

Проверила: Турашев М.М.

Группа «32-ИС»

 

Алматы 2014

Содержание

 

Введение  
1. Логические и арифметические основы и принципы работы эвм  
1.1.История ЭВМ  
1.2.Логические основы  
1.3.Арифметические основы  
1.4.Структура однопрограммной ЭВМ  
1.5.Система кодирования команд. Способ адресации  
1.6.Цикл выполнения команд  
1.7.Основы схематической реализации ЭВМ  
1.8.Архитектура современных компьютеров  
Заключение  
Список использованных источников  

 

ВВЕДЕНИЕ

Учебная практика – неотъемлемая часть учебного процесса и проводится с целью закрепления полученных знаний и приобретения первоначальных практических навыков в решении конкретных проблем.

Во время учебной практики я начал изучение курса «Логические и арифметические основы и принципы работы ЭВМ» на сайте Национального открытого университета «ИНТУИТ». В Данном курсе рассматриваются история развития ЭВМ, основа алгебры логики, представление и минимизация логических функций. Рассмотрены способы представления чисел и методы выполнения арифметических операций в ЭВМ. Представлены принципы работы и структура однопрограммной ЭВМ и рассмотрены принципы работы машины Тьюринга и аппарата Неймана, структура классической ЭВМ и архитектура современных персональных компьютеров.

Цель данного курса – изучить теорию и приобрести практические навыки по решению задач связанных с этой темой.

 

ЛОГИЧЕСКИЕ И АРИФМЕТИЧЕСКИЕ ОСНОВЫ И ПРИНЦИПЫ РАБОТЫ ЭВМ

1.1 История ЭВМ

Идея использования программного управления для построения устройства, автоматически выполняющего арифметические вычисления, была впервые высказана английским математиком Ч.Бэббиджем еще в 1833г. Однако его попытки построить механическое вычислительное устройство с программным управлением не увенчались успехом.

Первой работающей универсальной автоматически управляемой ВМ считается расчетно-механическая машина "Марк - 1" (США, 1944г.).

За точку отсчета эры ЭВМ принимают сеансы опытной эксплуатации машины ЭНИАК, которые начались в Пенсильванском университете в 1946г. Проект первой ЭВМ ЭНИАК был разработан Дж.Моучли (США, 1942 г.); в 1946 г. машина вступила в строй. В этой машине 18.000 электрических ламп, 1500 электромеханических реле. Применение ламп повысило скорость выполнения операций в 1000 раз по сравнению с устройством "Марк - 1".

Электронные лампы стали элементной базой ВМ первого поколения. Основная схема – симметричный триггер был создан в 1918г. советским ученым Бонч-Бруевичем М.А. В 1919г. аналогичная схема была разработана также американскими учеными Икклзом и Джорданом.

С появлением транзисторов в середине 50-х годов на смену первого поколения ЭВМ пришли ЭВМ 2-го поколения, построенные на полупроводниковых приборах.

В начале 60-х годов возникло новое направление в электронике – интегральная электроника. Использование интегральных схем для построения ЭВМ стало революцией в ВТ и способствовало появлению машин 3-го поколения.

Одна из характерных особенностей ЭВМ 4-го поколения - переход от интегральных функциональных схем к интегральным подсистемам ЭВМ[1].

1.2 Логические основы

Кроме обычной алгебры существует специальная, основы которой были заложены английским математиком XIX века Дж. Булем. Эта алгебра занимается так называемым исчислением высказываний.

Ее особенностью является применимость для описания работы так называемых дискретных устройств, к числу которых принадлежит целый класс устройств автоматики и вычислительной техники.

При этом сама алгебра выступает в качестве модели устройства. Это означает, что работа произвольного устройства указанного типа может быть лишь в каком-то отношении описана с помощью построений этой алгебры. Действительное реальное устройство физически работает не так, как это описывает алгебра логики.

Существует несколько синонимов по отношению к функциям алгебры логики:

1. функции алгебры логики (ФАЛ);

2. переключательные функции;

3. булевские функции;

4. двоичные функции.

некоторый набор аргументов:


<X1,X2,X3,...Хi,...Xn>

Каждый из аргументов принимает только одно из двух возможных значений, независимо от других

Xi = {0, 1}

Поставим каждому набору в соответствие некоторое двоичное число:

X1,X2,...........Xn

0, 0,...........,0 нулевой набор

0, 0,...........,1 первый набор

0, 0,..........1,0 второй набор

...................

1, 1,...........,1 (2n-1)-ый набор

Очевидно, что количество различных X1,X2,...........Xn n -разрядных чисел в позиционной двоичной системе есть 2n.

Допустим, что некоторая функция F(X1,X2,....Xn) задана на этих наборах и на каждом из них она принимает либо ' 0 '-ое, либо ' 1 '-ое значение.

Такую функцию называют функцией алгебры логики или переключательной функцией.

Т.к. функция на каждом наборе может принять значение ' 0 ' или ' 1 ', а всего различных наборов 2n, то общее число различных функций ' n ' аргументов есть: 2^2n.

 

Таблица 1. Функции алгебры логики

Наименованиефункции Обозначение функции    
 
 
Константа "ноль" f(X1,X2)=0  
Конъюнкция, произведение R w7DyI7FoX35yGOWcWm0nPEm4G3SaJLfaYc/yocORHjpqDvujM/AZfHh839bz82G3XfDqJaYfjTXm 8mK5vwMVaYl/ZvjFF3SohKn2R7ZBDQaydZ6J1cCNDNGzLJGlNpBmOeiq1P8LVD8AAAD//wMAUEsB Ai0AFAAGAAgAAAAhALaDOJL+AAAA4QEAABMAAAAAAAAAAAAAAAAAAAAAAFtDb250ZW50X1R5cGVz XS54bWxQSwECLQAUAAYACAAAACEAOP0h/9YAAACUAQAACwAAAAAAAAAAAAAAAAAvAQAAX3JlbHMv LnJlbHNQSwECLQAUAAYACAAAACEARyQUp/ABAAD0AwAADgAAAAAAAAAAAAAAAAAuAgAAZHJzL2Uy b0RvYy54bWxQSwECLQAUAAYACAAAACEAZFjSM94AAAAIAQAADwAAAAAAAAAAAAAAAABKBAAAZHJz L2Rvd25yZXYueG1sUEsFBgAAAAAEAAQA8wAAAFUFAAAAAA== " strokecolor="#5b9bd5 [3204]" strokeweight=".5pt"> f(X1,X2)=X1X2f(X1,X2)= X1X2f(X1,X2)= =X1*X2f(X1,X2)=X1X2  
Запрет по X2 X1X2  
Переменная X1 f(X1,X2)= X1  
Запрет по X1 X2 X1  
Переменная X2 f(X1,X2)= X2  
Сложение по mod2(неравнозначность) f(X1,X2)=X1X2  
Дизъюнкция f(X1,X2)=X1X2f(X1,X2)=  
Стрелка Пирса f(X1,X2)=X1X2  
Равнозначность f(X1,X2)=X1= X2f(X1,X2)= X1X2  
Инверсия X2 f(X1, X2)=^X2 f(X1, X2)=X2  
Импликация от X2к X1 f(X1, X2)= X2 -> X1  
Инверсия X1 f(X1, X2)=^X1 f(X1, X2) = X1  
Импликация от X1к X2 f(X1, X2)= X1 -> X2  
Штрих Шеффера f(X1, X2)= X1|X2  
Константа "единица" f(X1, X2)=1  

 

Инверсия – отрицание. Читается НЕ Х или Х с чертой – отрицание Х[2].

 

1.3 Арифметические основы

Способ представления изображения произвольных чисел с помощью некоторого конечного множества символов назовем системой счисления.

В повседневной практике мы пользуемся, как правило, десятичной системой счисления.

римская система счета, которая использует символы: I - 1, V - 5, X - 10, L - 50, C - 100, D - 500, M - 1000.

Эта система является особой и применяется редко (циферблат, архитектура, история и т.д.)

Системы счисления принято делить на:

- Позиционные.

- Непозиционные.

- Символические.

В символических системах каждому числу ставится в соответствие свой символ. Эти системы не находят широкого применения в силу естественной их ограниченности (алхимия, кодированные сообщения) -бесчисленного множества символов, которое требуется для изображения всех возможных чисел.


В позиционных системах связь значимости числа и его изображения от позиции.

Позиция - некоторое место, в котором может быть представлен лишь один символ.

Примером позиционной системы счисления является десятичная система.

В этой системе число представляется в виде полинома " n " степени, а изображается совокупностью некоторых символов, каждый из которых имеет различный вес в зависимости от позиции, которую он занимает.

a4a3a2a1 - число; a1, a2, a3, a4 - символы.

Всем позициям приписывается различный вес, который чаще всего выбирается как целая степень основания системы.

Основание системы счисления - число, которое является мощностью множества различных символов, допустимых в каждой позиции числа.

Так для десятичной системы допускаемыми являются символы: 0, 1, 2, 3,..., 9.

Обозначим через " p " основание системы счисления. Тогда веса позиций числа могут быть представлены так:

... p3 p2 p1 p0.

Само число, изображение которого имеет вид, например, a3a2a1a0 может быть представлено так:

a0p0 + a1p1 + a2p2 + a3p3 - это развернутая запись числа в позиционной системе.

Любое число X в позиционной системе счисления можно представить в виде:

X= + pm

где

m - число позиций или разрядов, отведенное для изображения целой части числа.

n - общее число разрядов в числе.

ai - любой допустимый символ в разряде, т.е. ai = {0, 1, 2,..., p-1}.

p - основание системы счисления.

Применяются два основных способа представления чисел - с фиксированной и плавающей запятой. Большинство универсальных ЭВМ работает с числами, представленными с плавающей запятой, а большинство специализированных – с фиксированной запятой.

Однако целый ряд машин работает с числами в этих двух форматах.

В общем виде способ представления чисел сильно влияет на характер программирования. Так, программирование для ЭВМ, работающих в системе с фиксированной запятой, значительно усложняется, поскольку помимо алгоритмических трудностей этот процесс требует ещё отслеживания положения запятой.

Фиксированная запятая

Оговоримся, что разрядная сетка машины имеет постоянное число разрядов - n.

При представлении чисел с фиксированной запятой считают, что запятая всегда находится перед старшим разрядом, а все числа, которые участвуют в вычислениях, считаются по абсолютной величине меньше единицы:

|X| < 1

Введём две характеристики чисел: диапазон изменения и точность представления.

Диапазон изменения характеризуется теми пределами, в которых могут находиться числа, с которыми оперирует машина.

Отличное от нуля самое малое число:

Таким образом, диапазон чисел, с которыми работает ЭВМ, есть:

|X|min <= |X| <= |X|max

2-n <= |X| <= 1 - 2-n


Иными словами, числа, которые выходят за диапазон изменения, в ЭВМ не могут быть представлены точно. Если

|X| < |X|min = 2-n,

то такое число воспринимается как нуль.

Если:

|X| > |X|max = 1- 2-n,

то такое число воспринимается как бесконечно большое. Этим двум случаям соответствуют понятия машинного нуля и машинной бесконечности.

В ЭВМ с плавающей запятой число представляется в виде:

X = ± Mx * q±p,

где: Mx - мантисса числа;

q - основание системы счисления;

p - порядок.

Разрядная сетка машины принимает следующий вид:

Это лишь условное изображение основных слогов в числе. Заметим, что в реальной ЭВМ может быть принят любой другой порядок расположения.

Пусть " m " разрядов отведено под изображение мантиссы, а " k " разрядов под изображение порядка. Тогда для двоичной системы и нормализованного вида числа:

q = 2;

0,1 <= Mx< 1 - нормализованная мантисса.

То есть диапазон чисел:

Теоретически " плавающая запятая " имеет преимущества перед " фиксированной ". Но соответствующее устройство получается намного сложнее. К тому же специфика выполнения операций с плавающей запятой требует большего числа микроопераций, что приводит к снижению быстродействия ЭВМ. Однако " плавающая запятая " снимает с программиста обязанность отслеживать положение запятой в вычислениях и значительно упрощает сам процесс программирования вычислительных задач.

Основной особенностью различных методов выполнения арифметических операций является то, что любая операция (сложение,вычитание, умножение, деление и др.) сводится к некоторой последовательности микроопераций, таких как:

- сложение

- сдвиг

- передача

- преобразование кодов.

Сложение выполняется по правилам сложения чисел в позиционных системах счисления.

То есть эта операция выполняется поразрядно, а возникающий в младших разрядах перенос направляется в старшие разряды.

Пример:

0,101101 1-ое слагаемое

+0,000101 2-ое слагаемое

________

0,101000 сумма

0,00101 перенос

________

0,100010 сумма

0,01 перенос

________

0,110010 сумма

Различают два вида микрооперации сдвига:

- логический сдвиг;

- арифметический сдвиг;

Логический сдвиг приводит к смещению всех разрядов числа, включая и знак, влево или вправо. При этом освобождающиеся разряды заполняются нулями или единицами.

Арифметический сдвиг выполняется над частью числа, часть сдвинутых разрядов теряется. (Очевидно, знаковый разряд должен исключаться из рассмотрения).

Передача предполагает, что некоторый код (число) записывается в соответствующее устройство и вытесняет тот код, который там находился до передачи.

Различают два вида передач:

- запись (с разрушением ранее записанной информации);

- чтение (без разрушения).

Функция, выполняемая над передаваемыми числами, называется преобразованием. Чаще других в арифметических основах рассматривают инвертирование кода.

Это поразрядная микрооперация , которая выполняется над всеми разрядами одновременно[3].

 

1.4 Структура однопрограммной ЭВМ

Основы построения электронных вычислительных машин в их современном понимании были заложены в 30-е – 40-е годы прошлого века видными учеными: английским математиком Аланом Тьюрингом и американцем венгерского происхождения Джоном (Яношем) Нейманом.

Основные положения машины Тьюринга:

Машина Тьюринга имеет конечное число знаков si, образующих внешний алфавит, в котором кодируются сведения, подаваемые в МТ, а также вырабатываемые в ней. Среди знаков имеется пустой знак (s1), посылка которого в какую-либо ячейку стирает находившийся в ней знак и оставляет ее пустой.

Рисунок 1 - структура машины Тьюринга

В зависимости от поданной начальной информации (содержащихся на ленте внешней памяти знаков) возможны два случая:

после конечного числа тактов машина останавливается (имея информацию ), подавая сигнал об остановке. В этом случае МТ применима к информации и перерабатывает ее в информацию ;

остановка никогда не наступает. В этом случае МТ не применима к начальной информации

В каждый момент обозревается лишь одна ячейка ленты (памяти). Переход может осуществляться лишь к соседней ячейке (R– вправо, L –влево, N – нет перехода (остаться)). Переход к произвольной ячейке производится путем последовательного перебора всех ячеек, разделяющих текущую и необходимую ячейки. На каждом отдельном такте t команда предписывает только замену единственного знака si, хранящегося в обозреваемой ячейке, каким-либо другим знаком sj.

Логический блок МТ имеет конечное число состояний {qi} i=1..m.

Знаки R, L, N, q1,.., qm образуют внутренний алфавит машины.

Переработанный знак sj, записываемый в просматриваемую ячейку, состояние, которое примет машина Тьюринга в следующем такте q(t+1) и выполняемая в данном такте операция перехода к следующей ячейке P(t+1) являются функцией анализируемого в данном такте символа и текущего состояния машины si и q(t):

si(t+1)=f1(si,q(t));

q(t+1)=f2(si,q(t));

P(t+1)=f3(si,q(t)).

Программа для МТ определяется тройкой {si, P, q}t.

Автомат Неймана

По принципу обработки информации вычислительное устройство, предложенное Нейманом (автомат Неймана – АН), существенно отличается от машины Тьюринга.

Важная особенность машины Тьюринга – преобразование информации на каждом такте происходит лишь в одной ячейке, остальные дожидаются посещения головки, хотя часто имеется возможность работать параллельно.

Простейшее решение – использование нескольких машин Тьюринга с общей для них внешней памятью (лентой) – не всегда допустимо из-за возможных конфликтов при обращении к одной и той же ячейке памяти.

В автомате Неймана число одновременно обрабатываемых ячеек может неограниченно расти, оставаясь в каждый момент конечным.

В 1946 году Джоном Нейманом на летней сессии Пенсильванского университета был распространен отчет, заложивший основы развития вычислительной техники на несколько десятилетий вперед. Последующий опыт разработки ЭВМ показал правильность основных выводов Неймана, которые, естественно, в последующие годы развивались и уточнялись.

Основные рекомендации, предложенные Нейманом для разработчиков ЭВМ:

- Машины на электронных элементах должны работать не в десятичной, а в двоичной системе счисления.

- Программа должна размещаться в одном из блоков машины – в запоминающем устройстве (ЗУ), обладающем достаточной емкостью и соответствующими скоростями выборки и записи команд программы.

- Программа так же, как и числа, с которыми оперирует машина, представляется в двоичном коде. Таким образом, по форме представления команды и числа однотипны. Это обстоятельство приводит к следующим важным последствиям:

- промежуточные результаты вычислений, константы и другие числа могут размещаться в том же ЗУ, что и программа;

- числовая форма записи программы позволяет машине производить операции над величинами, которыми закодированы команды программы.

- Трудности физической реализации ЗУ, быстродействие которого соответствовало бы скорости работы логических схем, требует иерархической организации памяти.

- Арифметические устройства машины конструируются на основе схем, выполняющих операцию сложения. Создание специальных устройств для вычисления других операций нецелесообразно.

- В машине используется параллельный принцип организации вычислительного процесса (операции над словами производятся одновременно по всем разрядам).

- ЭВМ, построенная по принципам, определенным Нейманом, состоит из следующих основных блоков: запоминающего устройства, арифметико-логического устройства и устройства управления.


Рисунок 2 - Структура классической ЭВМ

 

1.5 Система кодирования команд. Способ адресации

Запись любой команды определяется ее форматом. Формат команды – это структура команды, позволяющая распознать назначение отдельных ее полей.

Исходя из определения, команда должна содержать информацию о выполняемой операции, адресах операндов и адресе ячейки ЗУ для записи результата. Этому в наибольшей степени соответствует формат команды, содержащий поле кода операции и три адресных поля. Такая система кодирования команд называется трехадресной (рисунок 3).

Схема выполнения трехадресной команды имеет вид:

1)*(А2)->А3.

Здесь (А1) и (А2) – адреса ячеек ЗУ, в которых хранятся первый и второй операнды соответственно; * – знак обобщеннойоперации (например, сложение или умножение), задаваемой полем кода операции (КОп). Знак " -> " обозначает передачу результата операции в ячейку памяти с адресом А3.


Рисунок 3 - Системы кодирования команд

Для выполнения операции сложения операндов, находящихся по адресам a и b, с записью результата в ячейку c (c = a + b) требуется одна команда такого формата:

КОп А1 А2 А3
ADD a b c

Здесь ADD – код операции сложения.

Формат двухадресной команды представлен на рисунок 3. Выполнение операции с помощью такой команды проходит последующей схеме:

1) * (А2) -> А1 или

1) * (А2) -> А2

Выполнение того же самого действия c = a + b в двухадресной системе кодирования команд потребует уже двух команд, например:

КОп А1 А2  
ADD a b a = a + b
MOV c a c = a

Одноадресная команда имеет формат, приведенный на рисунке 3. Обычно ЭВМ с одноадресной системой команд имеют особую структуру, в состав которой входит специальный регистр (регистр результата – РР). Он служит для хранения результатаоперации и используется в качестве одного из операндов при выполнении операции (рисунок 3).


Рисунок 4 - Схема выполнения операции в ЭВМ с одноадресной системой команд

Схема выполнения операции на ЭВМ с одноадресной системой команд имеет вид:

(А) * (РР) -> А или

(А) * (РР) -> РР.

Операцию c = a + b в одноадресной системе команд можно выполнить следующим образом:

КОп А1  
MOVR a РР = a
ADD b РР = РР + b
MOVS c c = РР

Рассмотренные форматы команд используются при так называемом естественном порядке выполнения программы. При этом подразумевается, что после выполнения любой команды, не меняющей в явном виде порядок выполнения программы, очереднаякоманда выбирается из ячейки ЗУ, располагающейся сразу же вслед за ячейкой (или ячейками), содержащей код текущей команды.

При четырехадресной системе кодирования команд (рисунок 3) первые три адреса выполняют те же функции, что и в трехадресной команде, а четвертый адрес указывает адрес ячейки, где хранится следующая выполняемая команда. Такая система обеспечивает принудительный порядок выполнения команд программы. Она хотя и повышает гибкость программирования, но практического применения не получила. Основной причиной этого является существенное увеличение размера каждой команды и, соответственно, увеличение объема ЗУ, необходимого для размещения программы, в то время как реальной потребности в такой кодировке каждой команды не существует.

Несколько особое положение занимает безадресное кодирование команд. Оно используются в компьютерах, имеющих стековуюорганизацию памяти. Обращение к ячейкам такой памяти производится последовательно с помощью специального указателя стека (УС), определяющего рабочую в данный момент ячейку. Каждая ячейка снабжена тэгом – специальным признаком хранимой информации. Такая ЭВМ имеет структуру, представленную на рисунке 5. В ее состав помимо АЛУ входят два специальных буферных регистра РР1 и РР2. Здесь значение тэгов следующее: Op – в данной ячейке хранится операнд, C – признак наличия в ячейкекода операции.


Рисунок 5 - Схема выполнения операции в ЭВМ с безадресной системой команд

Проиллюстрируем работу такой ЭВМ на примере вычисления выражения ((a + b) * c - d) / e.

На первых двух тактах работы из памяти извлекаются операнды a и b и помещаются в рабочие регистры РР1 и РР2. Считав следующую ячейку стековой памяти, устройство управления по ее тэгу определяет, что данная информация представляет собой кодоперации. Этот код направляется в АЛУ, где и проводится сложение хранящихся в регистрах операндов с записью результата в один из рабочих регистров. Так как в следующей ячейке хранится операнд, то он направляется в РР, свободный от записанного результата. После этого производится выполнение следующей операции и так далее.

Такая структура ЭВМ обеспечивает высокое быстродействие, но требует весьма сложного программирования.

 

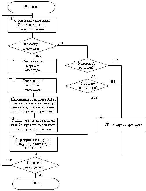
1.6 Цикл выполнения команд

 

Для улучшения понимания вопросов взаимодействия узлов и устройств ЭВМ рассмотрим автоматическое выполнение команды в трехадресной ЭВМ с классической архитектурой. Структурная схема такой ЭВМ показана на рисунке 6.

Рисунок 6 -Структурная схема трехадресной ЭВМ

Обработку команды можно разбить на ряд функционально завершенных действий (этапов), составляющих ее цикл (рисунок 7).

Изучение цикла команды проведем при следующих начальных условиях и предположениях:

программа и операнды находятся в оперативном запоминающем устройстве (ОЗУ);

адрес ячейки ОЗУ, в которой находится выполняемая команда (k), зафиксирован на счетчике команд (СК);

команда считывается за одно обращение к ОЗУ;

команда, операнды и приемник результата используют прямую адресацию памяти.


Рисунок 7 - Цикл выполнения команды

 

Определение взаимодействие узлов и устройств ЭВМ на каждом этапе.

Первый этап – выборка исполняемой команды из ОЗУ. Для реализации этого этапа необходимо код со счетчика команд (СК) = kпередать в ОЗУ, обратиться в ячейку ОЗУ с адресом k и содержимое этой ячейки, являющееся кодом этой команды, передать нарегистр команд. Соответствующие передачи отмечены на рисунке 6 цифрой 1: передача кода СК на РА (регистр адреса) ОЗУ, дешифрация адреса на дешифраторе адреса (ДшА), считывание команды из ячейки (k) ОЗУ и передача ее в РК.

Регистр адреса служит для хранения адреса, по которому происходит обращение к ОЗУ, на время этого обращения. Дешифраторпреобразует поступающий на него адрес в унитарный код, который непосредственно воспринимается физическими элементами схем памяти. На его выходах всегда имеется одна и только одна возбужденная шина, соответствующая адресу выбираемой ячейки.Регистр команд предназначен для хранения в процессоре считанной из ОЗУ команды на время ее выполнения. На этом этапе после приема команды на РК дешифратор кода операции (ДшКОп) по операционной части выполняемой команды определяет тип команды. Сигнал с ДшКОп таким образом настраивает блок управления операциями (БУОп), что на его выходах формируютсяуправляющие сигналы (УСi), которые необходимы для автоматического выполнения всего цикла команды вплоть до занесения вРК новой команды. Формирование УСi проходит на основе сигналов с датчика сигналов (ДС), который вырабатывает импульсы, равномерно распределенные по своим выходам. Регистр команд, дешифратор кода операции, блок управления операциями, датчик сигналов, счетчик команд составляют устройство управления.

Если данная команда не является командой перехода, то реализуется следующая последовательность этапов как продолжение первого.

Второй этап – выборка первого операнда (a). Необходимо код из поля адреса первого операнда – a из РК передать в ОЗУ, обратиться к ячейке с адресом a в оперативной памяти и код этой ячейки передать в АЛУ. Соответствующие передачи обозначены на рисунке 6 цифрой 2.

Третий этап – выборка второго операнда (b). Производится по аналогии со вторым этапом. Соответствующие передачи на рисунке 5 отмечены цифрой 3.

Четвертый этап – выполнение операции в соответствии с полем кода операции команды. Еще в конце первого этапа коммутаторопераций определил тип выполняемой команды. Операнды переданы в АЛУ на втором и третьем этапах. Блок управления операциями формирует управляющие сигналы, необходимые для выполнения данной операции в АЛУ. Результат выполненной в АЛУоперации сохраняется в его внутреннем регистре результата (РР), а признаки результата – в регистре признаков АЛУ. Соответствующие передачи и взаимодействия блоков обозначены на рисунке 6 цифрой 4.

Пятый этап – обращение к ОЗУ и запись по адресу c результата операции. Здесь код поля c регистра команд передается в ОЗУ наРА. Затем в ячейку ОЗУ с адресом c записывается результат операции, находящийся в регистре результата АЛУ. Признаки результата записываются из регистра признаков АЛУ в регистр флагов компьютера, из которого они передаются в БУОп, если очередная считанная в РК команда окажется командой условного перехода. Соответствующие передачи обозначены на рисунке 6цифрой 5.

Шестой этап – формирование адреса ячейки ОЗУ, где находится следующая команда программы, то есть замена старого кода всчетчике команд на новый. Так как в ЭВМ предполагается естественный порядок выполнения программы, то следующая команданаходится в ячейках ОЗУ, располагающихся сразу же вслед за ячейками, занятыми выполненной командой. Считая, что выполненнаякоманда занимает в памяти ячеек, получим, что суть этого этапа заключается в следующем изменении счетчика команд: . На этом заканчивается цикл выполнения команды: в СК сформирован адрес следующей команды . Выполнение этого этапа может совмещаться с выполнением предшествующих этапов, что и реализовано в большинстве ЭВМ.

Приведенная последовательность этапов повторяется и в дальнейшем для каждой из последующих команд программы, что обеспечивает автоматическое выполнение программы[6].

1.7 Основы схематической реализации ЭВМ

Системой логических элементов называется функционально полный набор логических элементов, объединенных общими электрическими, конструктивными и технологическими параметрами и использующих одинаковый тип межэлементных связей. Системы элементов содержат элементы для выполнения логических операций, запоминающие элементы, элементы, реализующие функции узлов ЭВМ, а также элементы для усиления, восстановления и формирования сигналов стандартной формы.

Условно-графические обозначения (УГО) некоторых логических элементов представлены на рисунке 8.


Рисунок 8 - Условно-графические обозначения логических элементов

Каждый логический элемент – это электронно-техническое изделие (рисунок 9). В этих схемах все транзисторы работают в ключевом режиме. Это означает, что при подаче сигнала высокого уровня на базу транзистора, его сопротивление становится пренебрежимо малым, то есть транзистор как бы "стягивается в точку". При низком потенциале на базе транзистора сопротивление между коллектором и эмиттером становится чрезвычайно большим, что фактически означает разрыв цепи.


Рисунок 9 - Схемотехническая реализация логических элементов

При проектировании схем, выполняющих ту или иную логическую функцию, необходимо обеспечить минимизацию аппаратных затрат на реализацию этих схем, а также во многих случаях необходимо сократить номенклатуру используемых логических элементов. Последнее требование реализуется путем выбора соответствующей системы элементов. В настоящее время основные серии интегральных логических схем включают в себя элементы, составляющие некоторый функционально полный логический базис, а также дополнительные элементы, реализующие часто встречающиеся логические функции. В качестве функционально полных базисов используются, как правило, одноэлементные базисы "И-НЕ" либо "ИЛИ-НЕ".

Рассмотрим этапы проектирования комбинационных логических схем на одноэлементном базисе "И-НЕ" без использования каких-либо дополнительных логических элементов на примере проектирования одноразрядного комбинационного сумматора. Такойсумматор является основой построения многоразрядной суммирующей схемы, выполняющей операции над числами, представленными в том или ином коде.

Пример выполнения операции суммирования чисел, представленных в обратном коде:

Xок=0.1011

Yок=1.0110

+0.1011

1.0110

+1.0.0001

_______1

0.0010

Из примера видно, что в каждом разряде происходит суммирование соответствующих разрядов операндов и переноса, поступающего из предыдущего разряда (для младшего разряда – циклический перенос из знакового разряда). При этом вырабатывается значение суммы в этом разряде и перенос в следующий разряд.

Условно-графическое обозначение элемента, выполняющего эти действия, приведено на рисунке 10.


Рисунок 10 - Условно-графическое обозначение одноразрядого сумматора

 

1.8 Архитектура современных компьютеров

В настоящее время персональные ЭВМ выпускаются миллионными тиражами с большим разнообразием архитектур. Однако наибольшее распространение получили компьютеры, построенные на базе микропроцессоров фирмы Intel. Персональная ЭВМ типа IBM PC (рисунок 11) включает в себя микропроцессор (МП), оперативную память и устройства ввода-вывода (УВВ), объединенные между собой системной шиной.


Рисунок 11 - Структура персональной ЭВМ

Микропроцессор предназначен для выполнения собственно арифметических и логических операций и управления взаимодействием блоков компьютера. Оперативная память хранит операнды и программу во время ее выполнения. Устройства ввода-вывода обеспечивают обмен информацией между ядром компьютера (МП и ОП) и средствами ввода и отображения данных. Сюда относятся мониторы, печатающие устройства, графопостроители, жесткие и гибкие магнитные диски и так далее.

Компьютер строится по магистрально-модульному принципу, при котором все блоки компьютера связываются между собой системной шиной, предназначенной для обмена данными, адресной и управляющей информацией между составными частями ЭВМ. Как правило, при такой организации в любой момент может быть установлена связь только между двумя модулями ЭВМ. Системная шина определяет общий порядок обмена между любыми блоками компьютера, а также максимальное количество используемых устройств ввода-вывода. Она включает в себя шину адреса (ША), шину данных (ШД) и шину управления (ШУ), содержащую набор линий, по которым передаются управляющие сигналы между блоками компьютера. Специфика каждого конкретного блока учитывается особыми управляющими устройствами – контроллерами, входящими в состав этих блоков, например, работой жесткого диска управляет контроллер жесткого диска, используя информацию, поступающую к нему от микропроцессора по системной магистрали.

Структура 16-разрядного микропроцессора I8086 представлена на рисунке 12.


Рисунок 12 - Структура 16-разрядного микропроцессора

 

В состав микропроцессора входят:

1. арифметико-логическое устройство (АЛУ), предназначенное для выполнения арифметических и логических операций;

2. внутренняя регистровая память, состоящая из восьми 16-разрядных регистров; четыре из них допускают раздельное использование своих младших и старших байтов, обеспечивая тем самым возможность обработки как 16-разрядных слов, так и байтов информации;

3. устройство управления, включающее в себя

буфер команд, который представляет собой регистровую память объемом 6 байт, предназначенную для хранения выполняемой в данный момент команды и заполняемую очередными командами из оперативной памяти по мере своего освобождения;

дешифратор кода операций, определяющий тип выполняемой команды;

блок управления операциями, который на основании расшифрованного дешифратором кода операции формирует управляющие сигналы, организующие работу всех блоков микропроцессора;

4. указатель команд (IP – instructionpointer), определяющий адрес выполняемой команды в сегменте команд оперативной памяти;

5. регистр флагов (FLAGS), содержащий признаки результата выполненных команд и некоторую управляющую информацию. Среди признаков результата отметим следующие:

ZF – флаг нуля: равен 1 при получении нулевого результата,

SF – флаг знака: устанавливается равным старшему биту результата,

CF – флаг переноса: фиксирует факт переноса из старшего бита в арифметических операциях,

OF – флаг переполнения: устанавливается в 1 при получении результата вне допустимого диапазона чисел,

PF – флаг паритета: устанавливается в 1, если младшие 8 бит результата операции содержат четное число единиц;

к флагам управления относятся

DF – флаг направления, применяется в командах обработки последовательности байт в памяти: если флаг равен 0, последовательность обрабатывается с элемента, имеющего наименьший адрес; если флаг установлен в 1, последовательность обрабатывается от старшего адреса к младшему,

TF – флаг трассировки: если значение флага равно 1, то в микропроцессоре после выполнения каждой команды генерируется внутреннее прерывание, позволяющее перейти к соответствующей подпрограмме (используется при отладке программ);

6. блок сегментных регистров, состоящий из четырех 16-разрядных регистров, каждый из которых содержит старшие разряды базового (начального) адреса сегмента оперативной памяти, выделяемого программе при ее выполнении: кодового сегмента CS, в котором содержится код программы; сегмента данных DS; сегмента стека SS и дополнительного сегмента данных ES;

7. шинный интерфейс, который содержит схемы, обеспечивающие связь внутренней магистрали микропроцессора с системной шиной.

Вся информация в ЭВМ хранится в виде наборов бит, то есть комбинаций 0 и 1.

Для чисел имеется три числовых формата:

- двоичный с фиксированной точкой;

- двоичный с плавающей запятой;

- двоично-кодированный десятичный (BCD).

Оперативная память (ОП) является основной памятью для хранения информации. Она организована как одномерный массив ячеек памяти размером в 1 байт. Каждый из байтов имеет уникальный 20 битный физический адрес в диапазоне от 00000 до FFFFFh (здесь и далее для записи адресов используется шестнадцатеричная система счисления, признаком которой является символ h в конце кода). Таким образом, размер адресного пространства ОП составляет 220 = 1Мбайт. Любые два смежных байта в памяти могут рассматриваться как 16-битовое слово. Младший байт слова имеет меньший адрес, а старший - больший. Так шестнадцатеричное число 1F8Ah, занимающее слово, в памяти будет расположено в последовательности 8Ah, 1Fh. Адресом слова считается адрес его младшего байта. Поэтому 20 битовый адрес памяти может рассматриваться и как адрес байта, и как адрес слова.

Адресное пространство ОП делится на сегменты. Сегмент состоит из смежных ячеек ОП и является независимой и отдельно адресуемой единицей памяти, которая в базовой архитектуре персональной ЭВМ имеет фиксированную емкость 216 = 64К байт. Каждому сегменту назначается начальный (базовый) адрес, являющийся адресом первого байта сегмента в адресном поле ОП. Значение физического адреса ячейки складывается из адреса сегмента и смещения ячейки памяти относительно начала сегмента(внутрисегментное смещение). Для хранения значений адреса сегмента и смещения используются 16-битовые слова[8].

 

 



<== предыдущая | следующая ==>
 | Ведомость отделки помещений





Date: 2015-07-27; view: 2514; Нарушение авторских прав



mydocx.ru - 2015-2026 year. (1.279 sec.) Все материалы представленные на сайте исключительно с целью ознакомления читателями и не преследуют коммерческих целей или нарушение авторских прав - Пожаловаться на публикацию