Главная Случайная страница


Полезное:

Как сделать разговор полезным и приятным Как сделать объемную звезду своими руками Как сделать то, что делать не хочется? Как сделать погремушку Как сделать так чтобы женщины сами знакомились с вами Как сделать идею коммерческой Как сделать хорошую растяжку ног? Как сделать наш разум здоровым? Как сделать, чтобы люди обманывали меньше Вопрос 4. Как сделать так, чтобы вас уважали и ценили? Как сделать лучше себе и другим людям Как сделать свидание интересным?


Категории:

АрхитектураАстрономияБиологияГеографияГеологияИнформатикаИскусствоИсторияКулинарияКультураМаркетингМатематикаМедицинаМенеджментОхрана трудаПравоПроизводствоПсихологияРелигияСоциологияСпортТехникаФизикаФилософияХимияЭкологияЭкономикаЭлектроника






Практична робота № 3





Тема: Визначення ефекту роботи біологічного фільтру

Ціль: навчитись визначати ефективність роботи біофільтрів

Теоретична частина

Біологічні фільтри (біофільтри) являють собою спорудження біологічного очищення, у яких стічна вода фільтрується через грубозернистий матеріал, покритий біологічною плівкою, утвореної колоніями аеробних мікроорганізмів. Зважені речовини, а також колоїдні й розчинені органічні речовини, що втримуються в неочищеній стічній рідині, при фільтрації через завантаження біофільтра сорбируются біологічною плівкою. Мікроорганізми біологічної плівки окисляють органічні речовини. Відпрацьована биопленка вимивається стічною водою, що протікає, і виноситься з тіла біофільтра.

 

Найбільш широке застосування в практиці будівництва очисних споруджень одержали краплинні й високонавантажувані біофільтри.

Відмінною рисою краплинних біофільтрів є невеликий (12-25 мм) розмір фракцій завантажувального матеріалу, а також низьке гідравлічне навантаження - від 0,5 до 1 м3 стічної води на 1м3 завантажувального матеріалу в добу. Висота шаруючи завантаження вставляє 1,5-2 м.

Високонавантажувані біофільтри мають крупність завантажувального матеріалу 40-65 мм, висоту шару завантаження від 2 до 4 м. Величина гідравлічного навантаження становить 4-6 м3/(м3 добу).

Хід роботи:


1 Опис установки.

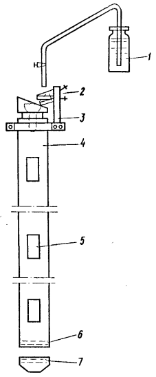
Робота проводиться на моделі біологічного фільтра (рис. 3.1) із внутрішнім діаметром 0,1 м. Корпус виконаний з органічного скла. У нього завантажений гранітні щебені із крупністю фракцій 15-30 мм. Знизу завантажувальний матеріал підтримується ґратами. Неочищена стічна вода із сулії подається в перекидний жолоб. При наповненні стічної води жолоб перекидається й вода надходить на біофільтр. Пройшовши крізь шар завантажувального матеріалу, біологічно очищена вода надходить в ексикатор, у якому відбувається осідання відпрацьованої біологічної плівки.

Витрата стічної води регулюється за допомогою крана. Висота шару завантажувального матеріалу в моделі біофільтра 1,5 м, загальний обсяг завантаження 12 дм3. Модель біофільтра працює цілодобово з гідравлічним навантаженням 1 - 1,5 м3 стічної води на 1 м3 обсягу біофільтра.

 

 

Рисунок. 3.1 - Лабораторна установка біофільтра із гравійним завантаженням

1 - сулія з неочищеною стічною водою; 2 - перекидний жолоб; 3 - кронштейн; А - корпус біофільтра; 5 - вікна для відбору проб і огляду біоплівки; 6 - підтримуючі ґрати; 7 - збірник стічної води







Date: 2015-07-27; view: 459; Нарушение авторских прав



mydocx.ru - 2015-2026 year. (1.976 sec.) Все материалы представленные на сайте исключительно с целью ознакомления читателями и не преследуют коммерческих целей или нарушение авторских прав - Пожаловаться на публикацию