Главная Случайная страница


Полезное:

Как сделать разговор полезным и приятным Как сделать объемную звезду своими руками Как сделать то, что делать не хочется? Как сделать погремушку Как сделать так чтобы женщины сами знакомились с вами Как сделать идею коммерческой Как сделать хорошую растяжку ног? Как сделать наш разум здоровым? Как сделать, чтобы люди обманывали меньше Вопрос 4. Как сделать так, чтобы вас уважали и ценили? Как сделать лучше себе и другим людям Как сделать свидание интересным?


Категории:

АрхитектураАстрономияБиологияГеографияГеологияИнформатикаИскусствоИсторияКулинарияКультураМаркетингМатематикаМедицинаМенеджментОхрана трудаПравоПроизводствоПсихологияРелигияСоциологияСпортТехникаФизикаФилософияХимияЭкологияЭкономикаЭлектроника






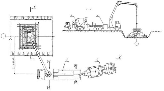
Схема производства бетонных работ при подаче бетонной смеси краном в бункерах





1 - кран автомобильный КС-35715; 2 - автобетоносмеситель СБ-92В-2; 3 -бункер поворотный БПВ-1,6; 4 - строп; 5 - кронштейн; 6 - ограждение; 7 - щиты опалубки; 8 - бетонируемый фундамент; 9 - площадка складирования

Рис. 8

Схема производства бетонных работ при подаче бетонной смеси автобетононасосом

1 - автобетононасос СБ-170-1; 2 -автобетоносмеситель СБ-92В-2; 3 - щиты опалубки; 4 - бетонируемый фундамент

Рис. 9

 

арматурные работы - установку арматурных сеток башмаков, укрупнительную сборку арматурных сеток подколонников на кондукторе, сварочные работы - звено № 3:

арматурщики 3 разр. - 1человек,

2 разр. - 2человека,

электросварщик 3 разр. - 1человек;

бетонные работы(при подаче бетонной смеси краном) - прием бетонной смеси из автобетоносмесителя, подачу бетонной смеси краном, укладку бетонной смеси с уплотнением вибраторами, уход за бетоном - звено № 4:

бетонщики 4 разр.- 1 человек,

3 разр. - 1человек,

2 разр. - 2человека;

бетонные работы(при подаче бетонной смеси автобетононасосом) - укладку бетонной смеси автобетононасосом с уплотнением вибраторами, очистку бетоновода, уход за бетоном- звено № 5:

машинист 5разр. - 1 человек;

оператор 5разр. - 1 человек,

бетонщики 3 разр.- 1 человек,

2 разр. - 1человек.

2.34.Производство бетонных работ при отрицательных температурах воздуха.

При производстве бетонных работ в зимнее время следует руководствоваться правилами СНиП 3.03.01-87 «Несущие и ограждающие конструкции» и СНиП III-4-80 * «Техника безопасности в строительстве».

Зимние условия бетонирования считаются при среднесуточной температуре наружного воздуха не выше 5 °С или минимальной температуре в течение суток ниже 0 °С.

В зимних условиях выбор добавок и расчет их количества осуществляется так же, как в летнее время.

Возведение монолитных железобетонных конструкций может быть осуществлено, как правило, с использованием нескольких способов зимнего бетонирования. Выбор способа следует производить, исходя из требований минимальных величин трудоемкости и энергоемкости, стоимости и продолжительности работ, а также с учетом местных условий (температуры наружного воздуха, объемов работ, наличия специального оборудования, электрических мощностей и т.п.).

Перспективными являются комбинированные способы зимнего бетонирования, которые представляют собой сочетание двух или более традиционных способов, например, термос +применение бетонов с противоморозными добавками, электропрогрев или обогрев в греющей опалубке бетонов, содержащих противоморозные добавки, электрообработка бетона в тепляках и др.

Способ термоса

Сущность способа заключается в нагревании бетона за счет подогрева заполнителей и воды и использовании тепла, выделяющегося при твердении цемента, для приобретения бетоном заданной прочности в процессе его медленного остывания в утепленной опалубке.

Применение бетонов с противоморозными добавками

Сущность способа заключается во введении в бетонную смесь при ее приготовлении добавок,понижающих температуру замерзания воды, обеспечивающих протекание реакции гидротации цемента и твердения бетона при температуре ниже 0 °С.

Добавки вводят в бетонную смесь в виде водных растворов рабочей концентрации, которые получают смешиванием концентрированных растворов добавок с водой затворения и подают в бетоносмеситель через дозатор воды.

Предварительный электроразогрев бетонной смеси

Сущность способа заключается в быстром разогреве бетонной смеси вне опалубки путем пропускания через нее электрического тока, укладке смеси в утепленную опалубку, при этом бетон достигает заданной прочности в процессе медленного остывания.

Предварительный электроразогрев бетонной смеси производят в кузовах самосвалов с помощью оборудования поста для разогрева смеси.

При доставке бетонной смеси автобетоносмесителями производят предварительный разогрев смеси на посте разогрева с последующей загрузкой автобетоносмесителя разогретой смесью.

Во избежание чрезмерного загустения горючей бетонной смеси продолжительность ее разогрева не должна превышать 15 минут, а продолжительность транспортирования и укладки - 20минут.

Для предварительного разогрева бетонной смеси может применяться экзотерический способ. При смешивании смеси с алюминиевой пудрой происходит экзотермическая (с выделением тепла) реакция.

Электропрогрев бетона

Сущность электропрогрева бетона заключается в пропускании через него, как через омическое сопротивление, переменного тока, в результате чего в бетоне выделяется тепло.


Для подведения напряжения к бетону применяются стальные электроды.

Для питания электроподогрева и других способов электротермообработки допускается, как правило, применять понижающие трансформаторы.

Обогрев бетона в термоактивной опалубке

Метод обогрева целесообразен при использовании инвентарных опалубок со стальной или фанерной палубой при бетонировании стен, перекрытий и т.п.

Особенно эффективен он при возведении конструкций и сооружений, бетонирование которых должно вестись без перерывов, а также конструкций, насыщенных арматурой. Метод обогрева экономически и технологически целесообразен не только при использовании разборно-переставных, но и блочных, объемно-переставных, катучих и скользящих опалубок.

Применение термоактивной опалубки не вызывает дополнительных требований к составу бетонной смеси и не ограничивает применение пластифицирующих добавок. Обогрев бетона в греющей опалубке может быть совмещен с электроразогревом бетонной смеси, с применением противоморозных химических добавок или ускорителей твердения.

Обогрев бетона конструкций производят после опалубочной формы для бетонирования. Те части конструкции, которые не перекрыты термоактивной опалубкой, утепляют гибкими покрытиями (одеялами) из стеклоткани и стекловаты.

Технология бетонирования в термоактивной опалубке практически не отличается от технологии работ в летний период. Для предотвращения тепловых потерь с горизонтальных поверхностей при перерывах в укладке бетонной смеси и температуре наружного воздуха ниже минус 20 °С бетонируемую конструкцию укрывают брезентом или пленочным материалом.

Обогрев бетона с применением греющих проводов

Сущность способа обогрева бетона с применением греющих проводов заключается в обогреве бетона с помощью проводов, находящихся в бетоне, которые нагреваются при пропускании электрического тока. Провода закрепляют на арматурных стержнях сеток и каркасов перед укладкой бетонной смеси.

Обогрев бетона горячим воздухом

Применение для обогрева бетона горячего воздуха приводит к большим потерям теплоты. Поэтому данный метод целесообразно использовать при небольшой отрицательной температуре наружного воздуха и достаточно надежной и герметичной тепловой изоляции.Горячий воздух получают в электрокалориферах или огневых калориферах,работающих на жидком топливе.

2.35. Перечень машин и оборудования приведен в таблице 1.

2.36. Перечень технологической оснастки, инструмента, инвентаря и приспособлений приведен в таблице 2.







Date: 2015-07-27; view: 1681; Нарушение авторских прав



mydocx.ru - 2015-2026 year. (0.905 sec.) Все материалы представленные на сайте исключительно с целью ознакомления читателями и не преследуют коммерческих целей или нарушение авторских прав - Пожаловаться на публикацию