Главная Случайная страница


Полезное:

Как сделать разговор полезным и приятным Как сделать объемную звезду своими руками Как сделать то, что делать не хочется? Как сделать погремушку Как сделать так чтобы женщины сами знакомились с вами Как сделать идею коммерческой Как сделать хорошую растяжку ног? Как сделать наш разум здоровым? Как сделать, чтобы люди обманывали меньше Вопрос 4. Как сделать так, чтобы вас уважали и ценили? Как сделать лучше себе и другим людям Как сделать свидание интересным?


Категории:

АрхитектураАстрономияБиологияГеографияГеологияИнформатикаИскусствоИсторияКулинарияКультураМаркетингМатематикаМедицинаМенеджментОхрана трудаПравоПроизводствоПсихологияРелигияСоциологияСпортТехникаФизикаФилософияХимияЭкологияЭкономикаЭлектроника






Розрахунок розмірів і часу роботи іонообмінної колони





Вступ

 

У 2007 році МОЗ України в Наказі № 483 від 08.08.07 р. віднесло фонтани до потенційних джерел інфікування населення легіонельозом. Дослідження авторів статті, що проводилися в 2008-2010 р.р. у м. Харкові показали наявність у водах фонтанів мікобактерій туберкульозу. Дане дозволило віднести фонтани до відкритих вогнищ інфекційних захворювань роблять істотний вплив на епідеміологічну ситуацію в містах. У зв'язку зі значним збільшенням числа фонтанів і враховуючи їх здатність до акумуляції практично всього видового складу мікробів мешкающих у містах (у тому числі й патогенних), ймовірність виникнення надзвичайних епідеміологічних ситуацій з кожним роком зростає, що вже є питанням національної безпеки країни.

На початку експлуатації чаші фонтанів заповнюються питною водою з міських водопроводів, які служать і для підживлення компенсує втрати на випаровування, розбризкування і формування штучних туманів. Установка апаратів знезараження у фонтанах України сьогодні не передбачена, що робить їх води уразливими при мікробіологічному зараженні. Розглянемо шляхи по яких мікроби надходять у води фонтанів.

Постійним джерелом внесення мікроорганізмів у води фонтанів є вторинні аерозолі, що облягають - частки пилу, що осіли на міських територіях, але під дією вітру, повернулися в тимчасове зважений стан. До даної категорії відносяться і аерозолі ерозійного походження - частинки грунту, підняті вітром у приземні шари повітря.

Інфікована пил в процесі роботи фонтанів затримується і накопичується в чашах, в яких мікроорганізми розвиваються, чому сприяють високі середньодобові температури і присутність у водах органіки, що міститься в осаджувальних аерозолях. У зв'язку з тим, що при сильних поривах вітру йдеться про хмари пилу переносячи на десятки кілометрів, то можна внести припущення про акумуляції в чашах фонтанів практично всього видового складу мікробів мешкають в забрудненнях накопичуються на міських територіях, включаючи і ділянки є вкрай не сприятливими в санітарно-епідеміологічному плані: відкриті торгові точки, базари, місця збору харчових та побутових відходів, не санкціоновані смітника і т.д.

Розглянута проблема може бути вирішена і при використанні систем знезараження води, що працюють в режимі оборотного водопостачання. У вигляді прикладу можна навести апарат знезараження питних і технічних вод [1, 10, 11], що забезпечують мікробіологічні показники оброблюваних вод на рівні питних із збереженням даних властивостей на протязі тривалого часу. Необхідний ефект роботи апаратів досягається шляхом двохстадійної обробки вод - проводиться знезараження ультрафіолетовим випромінюванням з подальшим насиченням іонами срібла,

Розрахунок розмірів і часу роботи іонообмінної колони.

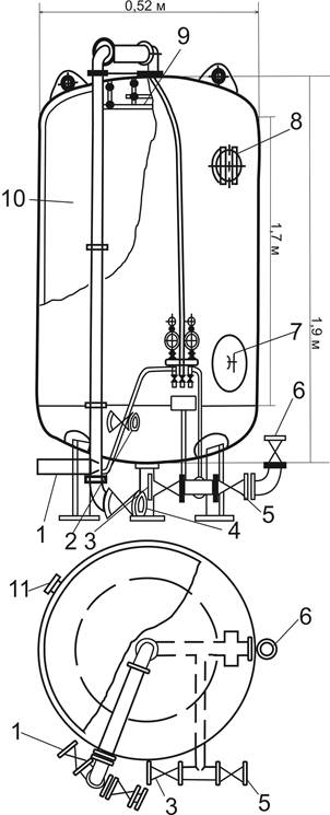
Рис 1. катіонітовий фільтр. 1 – подача води; 2 – подача регенераційного розчину; 3,4 – подача та спуск промивної води; 5 – скидання води; 6 – вихід пом'якшеної води; 7,8 - лаз для завантаження і вивантаження цеоліту; 9 – розподільний пристрій; 10 – шар катіоніту; 11 – штуцер для гідравлічного вивантаження катіоніту.

 

Вихідні дані:

с(Cu)=3 г/м3

с(Ag+)=0,3 г/м3

Q(Vфонтанів)=490 м3

 

Площа катионітового фільтра:

 

де Q – кількість пом'якшеної води,м3

с – жорсткість початкової води, г-екв/м3

ер – робоча обмінна ємність катіоніту, г-екв/м3

hk – висота катіонітового шару.

Обмінна ємність використаного модифікованого цеоліту складає ep=1700 г-экв/м3.

Висота катионітового фільтра hk = 1,7 м, тоді площа катионітового фільтра складе –

 

м2

Диаметр фільтра складає d = 0,6 м.

Тривалість роботи фільтра (межрегенераціонного період) знаходиться за формулою:

 

Де швидкість проходження води.

 

ч

Час проходження фільтрату:

=10,625 мин

Об'єм катіонітового фільтра:

 

Продуктивність однієї фільтраційної колони становить:

 

 

м3

Маса одного катіонітового фільтру складає близько 300 кг.

Отже, з урахуванням, що фільтраційна установка містить 3 колони, то 1470 м3 води пройде через установку за 544 години.

 

Матеріальні розрахунки:

На стадії відмивки цеолітових колон від срібла та міді необхідно розрахувати кількість розчинів кислот.

Cu[K2] + 2HCl = CuCl2 + 2H[K]

Концентрація іонів міді у відпрацьованій воді складає 3 г/м3. Отже у 1470 м3 води міститься 4410 г Cu.

Знайдемо масу соляної кислоти:

m(Cu)=4410 г М(Cu)=63,5


m(HCl)=x M(HCl)=36,5*2

Для відмивки використовується 7,5% розчин –

7,5%=72,65 л

 

Ag[K] + HNO3 = AgNO3 + H[K]

Концентрація іонів срібла у відпрацьованій воді складає 0,3 г/м3. Отже у 1470 м3 води міститься 441 г Ag.

Знайдемо масу азотної кислоти:

m(Ag)=441 г M(Ag) =108

m(HNO3)=x M(HNO3)=63

Для відмивки використовується 7,5% розчин –

m(HNO3)7,5%=3,7 л

Після операції вилучення міді та срібла з цеолітів – катионіти переводять у первісну «натрієву» форму –

H2(K,Ca)Al6Si30O72 x 18 H2O + 2NaOH = (Na2,K2,Ca)Al6Si30O72 x 18 H2O + 2H2O

Тобто пропускають через шар катионіту розчин лугу – NaOH, причому зверху вниз. Завдяки цьому протиточному напрямку руху рідини шар цеоліту розпушується, що запобігає його злежування. Об'єм NaOH5% для кожної колони складає 10 л, сума NaOH для обох каскадів – 30 л.

 







Date: 2015-07-25; view: 530; Нарушение авторских прав



mydocx.ru - 2015-2026 year. (0.285 sec.) Все материалы представленные на сайте исключительно с целью ознакомления читателями и не преследуют коммерческих целей или нарушение авторских прав - Пожаловаться на публикацию