Главная Случайная страница


Полезное:

Как сделать разговор полезным и приятным Как сделать объемную звезду своими руками Как сделать то, что делать не хочется? Как сделать погремушку Как сделать так чтобы женщины сами знакомились с вами Как сделать идею коммерческой Как сделать хорошую растяжку ног? Как сделать наш разум здоровым? Как сделать, чтобы люди обманывали меньше Вопрос 4. Как сделать так, чтобы вас уважали и ценили? Как сделать лучше себе и другим людям Как сделать свидание интересным?


Категории:

АрхитектураАстрономияБиологияГеографияГеологияИнформатикаИскусствоИсторияКулинарияКультураМаркетингМатематикаМедицинаМенеджментОхрана трудаПравоПроизводствоПсихологияРелигияСоциологияСпортТехникаФизикаФилософияХимияЭкологияЭкономикаЭлектроника






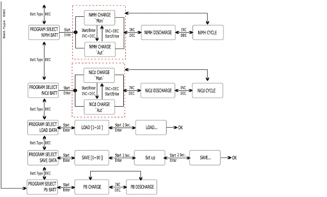
Блок-схема программы





 

 

НАСТРОЙКА НАЧАЛЬНЫХ ПАРАМЕТРОВ (ЗАДАЕТСЯ ПОЛЬЗОВАТЕЛЕМ)

В данном зарядном устройстве при его первом подключении к источнику переменного тока 110-240В или прямого тока 11-18В по умолчанию будут установлены стандартные пользовательские настройки. Экран последовательно отображает следующую информацию, и пользователь может менять значения на каждом экране.

 

Если Вам необходимо изменить величину параметра в программе, нажмите кнопку «Start/Enter» (Запуск/Ввод), пока он не начнет мигать, затем измените величину кнопками «INC»(УВЕЛИЧИТЬ) или «DEC»(УМЕНЬШИТЬ). Значение сохранится при однократном нажатии кнопки «Start/Enter».

 

Экран запуска, настраиваемый пользователем.

 

Экран отображает номинальное напряжение литиевой батареи. Существует три типа литиевых батарей: литий-железные (3,3В), ионно-литиевые (3,6В) или литий-полимерные (3,7В). Это очень важно, поэтому Вам необходимо тщательно проверить батарею и правильно задать её напряжение. Если оно отличается от правильного значения, батарея может взорваться в процессе зарядки.

 

Устройство В6АС автоматически распознает количество элементов литиевой батареи в начале процесса зарядки или разрядки, чтобы избежать ошибочной настройки пользователем. Однако сильно разряженная батарея может быть распознана неправильно. Во избежание ошибки, Вы можете задать временной срок для проверки количества элементов процессором. Как правило, 10 минут достаточно, чтобы правильно определить количество элементов. Для батареи большей емкости Вы можете увеличить время. Но если Вы задаете временной период для батареи меньшей емкости, процесс зарядки или разрядки может быть закончен в течение заданного времени с ошибочным подсчетом элементов. Это может привести к неисправимому результату. Если процессор распознает в начале процесса зарядки или разрядки количество элементов неправильно, Вы можете увеличить время. В противном случае лучше пользоваться значениями, заданными по умолчанию.

 

 

 

 

НАСТРОЙКА НАЧАЛЬНЫХ ПАРАМЕТРОВ (ЗАДАЕТСЯ ПОЛЬЗОВАТЕЛЕМ)

 

Здесь показано пусковое напряжение для автоматической остановки зарядки никель-металлогидридной и никель-кадмиевой батареи. Эффективная величина варьируется от 5 до 20 мВ на элемент. Если пусковое напряжение задается выше, существует опасность перегрузки батареи; если оно задано ниже,

существует возможность досрочного прекращения процесса. Пожалуйста, учитывайте техническую спецификацию батареи. (Значения по умолчанию для никель-кадмиевой батареи: 12мВ,

для никель-металлогидридной: 7мВ).

 

 

Дополнительную функцию при использовании датчика температуры, соприкасающегося с поверхностью батареи –

ограничение температуры – можно включать или отключать. Если функция включена, задайте максимальную температуру, которой может достигнуть батарея во время зарядки. Когда батарея достигнет этой температуры при зарядке, процесс будет прекращен, чтобы защитить батарею.

 

 

НАСТРОЙКА НАЧАЛЬНЫХ ПАРАМЕТРОВ (ЗАДАЕТСЯ ПОЛЬЗОВАТЕЛЕМ)

После циклов процесса зарядки/разрядки батарея нагревается. Программа внесет временную отсрочку после каждого процесса зарядки/разрядки, чтобы обеспечить батарее достаточно времени на охлаждение перед началом следующего цикла процесса зарядки/разрядки. Действительная величина варьируется от 0 до 60 минут.

 

Вы можете включить или отключить режим компенсационного заряда. Если он включен, зарядное устройство будет автоматически подавать компенсационный зарядный ток для полной зарядки, не перегревая батарею после прекращения быстрой зарядки.

 

С началом процесса зарядки одновременно запускается встроенный таймер безопасности. В случае обнаружения ошибки или в случае, если резистор нагрузки цепи не может определить, была ли батарея заряжена полностью или нет, данное устройство запрограммировано на предотвращение перегрузки. Пожалуйста, воспользуйтесь нижеследующей информацией, чтобы вычислить необходимое значение таймера.

 







Date: 2015-07-22; view: 368; Нарушение авторских прав



mydocx.ru - 2015-2026 year. (1.017 sec.) Все материалы представленные на сайте исключительно с целью ознакомления читателями и не преследуют коммерческих целей или нарушение авторских прав - Пожаловаться на публикацию