Главная Случайная страница


Полезное:

Как сделать разговор полезным и приятным Как сделать объемную звезду своими руками Как сделать то, что делать не хочется? Как сделать погремушку Как сделать так чтобы женщины сами знакомились с вами Как сделать идею коммерческой Как сделать хорошую растяжку ног? Как сделать наш разум здоровым? Как сделать, чтобы люди обманывали меньше Вопрос 4. Как сделать так, чтобы вас уважали и ценили? Как сделать лучше себе и другим людям Как сделать свидание интересным?


Категории:

АрхитектураАстрономияБиологияГеографияГеологияИнформатикаИскусствоИсторияКулинарияКультураМаркетингМатематикаМедицинаМенеджментОхрана трудаПравоПроизводствоПсихологияРелигияСоциологияСпортТехникаФизикаФилософияХимияЭкологияЭкономикаЭлектроника






Принципы построения радиоприёмных устройств





Структура и характеристики РПрУ определяются, прежде всего, свойствами сигнала, для приёма которого они предназначаются. Структурные схемы РПрУ отличаются построением ЛТП, в котором может осуществляться прямое усиление принимаемых радиосигналов или усиление с преобразованием частоты. Классификация РПрУ по способу построения ЛТП показана на рис. 2.1.

Рис.2.1. Классификация РПрУ по способу построения ЛТП

 

Здесь необходимо пояснить термин «линейный тракт приёма» (ЛТП). Для этого представим структурную схему РПрУ в следующем виде (рис.2.2):

Рис.2.2. Линейная и нелинейная части РПрУ

 

В состав линейной части приёмника включены все усилительные и изби-

рательные элементы, расположенные до детектора. Линейной эту часть

приёмника называют потому, что амплитуда усиливаемого сигнала очень мала и изменение его мгновенного значения происходит в пределах настолько малого участка ВАХ усилительных элементов, что нелинейность этих характеристик практически непроявляется. Именно поэтому додетекторную часть РПрУ называют «линейным трактом приёма».

В состав нелинейной части приёмника входят детектор и усилители низкой (модулирующей) частоты. Здесь амплитуда сигнала значительно больше, чем в додетекторной части. Поэтому приходится учитывать нелинейность ВАХ усилительных элементов.

Со времени появления радиосвязи было разработано достаточно большое вариантов радиоприёмных устройств. Однако, несмотря на большое разнообразие схем, в настоящее время основным вариантом построения стал супергетеродинный радиоприёмник. Это объясняется тем, что супергетеродинный приёмник обладает целым рядом преимуществ перед другими вариантами построения РПрУ. Для понимания этих преимуществ рассмотрим построение предшественника супергетеродинного приёмника – РПрУ прямого усиления.

РПрУ прямого усиления

Структурная схема приёмника прямого усиления показана на рис.2.3:

Рис.2.3. Структурная схема приёмника прямого усиления

 

Для простоты будем считать, что данный приёмник предназначен для приёма амплитудно-модулированных сигналов.Радиоприёмник прямого усиления состоит из приёмной антенны, входной цепи (ВЦ), усилителя радиочастоты (УРЧ), амплитудного детектора (АД), усилителя низкой (модулирующей) частоты (УНЧ) и воспроизводящего устройства.

Электромагнитные поля наводят в приёмной антенне электрические сигналы, которые подаются во входную цепь, представляющую собой колебательный контур, настроенный на частоту принимаемого сигнала (fC), и предназначенную для передачи сигнала от антенно-фидерного устройства (АФУ) к УРЧ. Поскольку ВЦ представляет собой частотный фильтр, то она осуществляет частотную избирательность. ВЦ и УРЧ объединяют понятием «преселектор» (предварительный селектор).

УРЧ предназначен для усиления сигнала до уровня, при котором возможна нормальная работа детектора. Обычно этот уровень составляет 0,1…1 В, поэтому коэффициент усиления УРЧ должен быть достаточно высоким, порядка 102…106. УРЧ может быть апериодическим или резонансным. Если УРЧ апериодический, то он только усиливает сигнал до уровня нормальной работы детектора. При этом фильтрация сигнала осуществляется только в ВЦ. Резонансный УРЧ наряду с усилением, так же как и ВЦ, дополнительно фильтрует сигнал от помех, что повышает избирательные свойства РПрУ.

Усиленный сигнал с выхода УРЧ поступает на вход детектора, где из высокочастотного модулированного сигнала получают передаваемое сообщение с частотой модуляции FM, которое через УНЧ подаётся на воспроизводящее устройство. Резонансные контуры ВЦ и УРЧ могут перестраиваться в пределах выбранного диапазона рабочих частот fС. МИН. …fС.МАКС .

Таким образом, отличительной особенностью РПрУ прямого усиления является то, что селекция и основное усиление осуществляются в нём непосредственно на частоте fC принимаемого сигнала.

Приёмникам прямого усиления свойственны следующие недостатки.

1. Низкая частотная избирательность. Обычно в РПрУ прямого усиления используются одиночные колебательные контуры, поэтому такие приёмники имеют низкую частотную избирательность. Сложные избирательные системы с перестройкой по частоте реализовать в преселекторе конструктивно очень сложно. Поэтому на высоких частотах полоса пропускания преселектора будет настолько широкой, что из-за влияния помех приём станет невозможным.

2. Невысокая чувствительность. Она является следствием того, что на высоких радиочастотах в РПрУ прямого усиления получить большое усиление невозможно, т.к. усилительные свойства активных элементов, применяемых в УРЧ, ухудшаются. Увеличить усиление можно, если использовать многокаскадный УРЧ, однако на высоких частотах он теряет устойчивость и может даже возбуждаться. Кроме того, в многокаскадном УРЧ очень сложно осуществлять одновременную настройку на выбранную частоту сигнала всех избирательных систем.


3. Сильная зависимость полосы пропускания и коэффициента усиления преселектора от частоты настройки.

Несмотря на указанные недостатки, РПрУ прямого усиления с фиксированной настройкой применяются практически в микроволновом и оптическом диапазонах.

Супергетеродинные РПрУ

Недостатки, присущие РПрУ прямого усиления, отсутствуют в супергетеродинном РПрУ, в котором осуществляется преобразование частоты радиосигнала в промежуточную частоту. Суть такого преобразования заключается в том, что спектр радиосигнала переносится в область более низких частот без нарушения амплитудных и фазовых соотношений его составляющих, т.е. без изменения формы сигнала.

Структурная схема супергетеродинного приёмника приведена на рис.2.4:

Рис.2.4. Структурная схема супергетеродинного приёмника

 

В супергетеродинном приёмнике антенна, ВЦ и УРЧ выполняют те же функции, что и в приёмнике прямого усиления. С выхода УРЧ усиленный на радиочастоте сигнал подаётся на вход преобразователя частоты (ПрЧ). Преобразователь частоты состоит из смесителя (См), гетеродина (Г) и полосового фильтра (ПФ). Усиленный сигнал после УРЧ подаётся на один из входов смесителя. На другой его вход подаётся напряжение от гетеродина, представляющего собой маломощный генератор незатухающих гармонических

колебаний. Частота колебаний гетеродина (fГ) может быть либо ниже, либо выше частоты приятого радиосигнала на частоте fС. Смеситель представляет собой нелинейный элемент, в котором под действием напряжений с частотами fГ и fC происходит процесс преобразования входного сигнала. В результате взаимодействия двух напряжений с разными частотами в спектре выходного тока смесителя появляются частоты fC, fГ, их гармоники nfC и mfГ, а также комбинационные частоты вида │nfC ± mfГ, где n,m = 1,2,3, …

На выходе ПрЧ полосовой фильтр (ПФ) настроен на разностную частоту

fПР= │fГ – fС│. Это соответствует первой гармонике комбинационных частот (m = n = 1). При этом частоту гетеродина можно выбрать так, чтобы она была выше или ниже частоты принимаемого сигнала. Если fГ>fС, то имеет место верхняя настройка частоты гетеродина, а в случае fГ<fС – его нижняя настройка.

При любом виде модуляции (АМ, ЧМ или ФМ) закон изменения модулирующего сигнала в ПрЧ сохраняется. Отсюда ясно, что назначение ПрЧ состоит в переносе радиочастоты принимаемого сигнала fC в область более низких (промежуточных) частотбез изменения закона модуляции.

Вдиапазонных РПрУ для поддержания постоянства промежуточной частоты fПР при перестройке контуров преселектора необходимо одновременно перестраивать и частоту гетеродина. Это достигается сопряжением настройки ВЦ, УРЧ и гетеродина с помощью единого органа управления.

С выхода ПрЧ сигнал на промежуточной частоте поступает в усилитель промежуточной частоты (УПЧ).


В УПЧ решаются две основные задачи:

1. Осуществление основного усиления принятого сигнала;

2. Обеспечение высокой избирательности.

Постоянство промежуточной частоты и её относительно небольшое значение позволяет производить усиление сигнала до необходимого уровня без применения специальных мер по защите от самовозбуждения. Так, например, в РПрУ радиолокационных станций (РЛС), чувствительность которых достигает РПР.МИН. = 10 – 13 … 10 – 15 Вт, число каскадов УПЧ может достигать 7…8. Поскольку промежуточная частота остаётся неизменной даже при перестройке, то это позволяет применять в УПЧ многозвенные полосовые фильтры на LC -элементах или монолитные пьезокерамические фильтры (ПКФ), электромагнитные фильтры (ЭМФ) и другие высокоизбирательные фильтры, имеющие частотные характеристики, весьма близкие по форме к прямоугольной.

Преселектор супергетеродинного приёмника, как и в РПрУ прямого усиления, на частоте сигнала fС не может обеспечить подавления соседнего канала (станции), так как полоса пропускания преселектора обычно велика (несколько десятков кГц). Если учесть, что стандартный интервал по частоте между соседними радиостанциями установлен равным 10 кГц, то в этом случае говорят, что преселектор не обеспечивает избирательности по соседнему каналу.

В супергетеродинном РПрУ высокую избирательность по соседнему каналу обеспечивает усилитель промежуточной частоты. В этом можно убедиться на следующем примере. Предположим, что антенна принимает одновременно сигналы четырёх радиостанций: fС (полезный сигнал), fП.1 (первый сигнал помехи), fП.2 (второй сигнал помехи) и fСК (сигнал соседнего канала). Как и для полезного сигнала, будем полагать, что помехи – это сигналы, модулированные по амплитуде. Ввиду широкой АЧХ преселектора все эти сигналы будут усилены в УРЧ и поданы на ПрЧ.

В ПрЧ происходит преобразование частот всех действующих на входе приёмника сигналов, в результате чего появятся: fГ – fС= fПР,fГ – fСК = f 'СК,

fГ – fП.1= f 'П.1 иfГ– fП.2= f 'П.2. При этом в полосу пропускания УПЧ попадает лишь преобразованная частота полезного сигнала fПР. Преобразованные частоты соседнего канала, как и помех, оказываются вне полосы УПЧ и поэтому будут подавлены.

Таким образом, в супергетеродинном приёмнике осуществляется избирательность по соседнему каналу, которая может быть очень высокой, поскольку УПЧ не перестраивается.

Постоянство промежуточной частоты и её низкое значение обеспечивает ряд важных преимуществ супергетеродинного приёмника перед другими видами РПрУ, а именно:

· независимость параметров УПЧ от частоты настройки РПрУ, в частности, ширины полосы пропускания, избирательности по соседнему каналу и коэффициента усиления;

· высокую избирательность, так как число контуров может быть сколь угодно большим, что позволяет реализовать АЧХ УПЧ, близкую кидеальной (прямоугольной);


· высокий коэффициент усиления УПЧ при высокой устойчивости его работы.

Преобразование переменной частоты принимаемых сигналов fС в постоянную промежуточную частоту fПР обеспечивает следующие особенности построения супергетеродинных РПрУ:

· резонансные цепи УПЧ не требуют перестройки, что упрощает конструкцию приёмника;

· благодаря постоянству коэффициента усиления УПЧ ослабляется зависимость общего коэффициента усиления РПрУ от частоты настройки;

· при преобразовании частоты с переносом спектра сигнала вниз паразитные индуктивные и емкостные обратные связи проявляются слабее, что позволяет увеличить коэффициент усиления без ухудшения устойчивости работы;

· использование пониженной частоты fПР позволяет сузить полосу пропускания УПЧ без усложнения конструкции резонансных цепей. При этом полоса пропускания УПЧ может выбираться в соответствии с шириной спектра сигнала и тем самым обеспечивать эффективное подавление помех за пределами этого спектра.

С выхода УПЧ сигнал на промежуточной частоте подаётся на вход детектора и далее на усилитель частоты модуляции (усилитель низкой частоты), которые выполняют те же функции, что и в РПрУ прямого усиления.

Усиление в супергетеродинном приёмнике осуществляется на трёх частотах: на радиочастоте fC, в преселекторе, на промежуточной частоте fПР в УПЧ и на частоте модуляции FM в УНЧ.

Наряду с достоинствами супергетеродинный метод приёма имеет и недостатки. Наиболее серьёзный из них – появление так называемых побочных каналов приёма. В приёмнике прямого усиления основным источником помех являются соседние по частоте станции. В супергетеродинном приёмнике, как уже было показано, эти помехи могут эффективно подавляться в УПЧ. Однако в супергетеродинном приёмнике помехи могут возникать как результат преобразования частоты.

Побочными каналами приёма называются полосы частот, находящиеся за пределами канала, на который настроен приёмник, но сигналы которых могут проходить на его выход.

Наибольшую опасность нормальному приёму радиосигналов представляет зеркальный канал и канал приёма на промежуточной частоте.

Предположим, что приёмник одновременно принимает сигналы нескольких радиостанций (рис.2.5).

Рис.2.5. Появление побочных каналов приёма в супергетеродином РПрУ

 

Из этих сигналов полезным является сигнал на частоте f2 = fC. Для приёма

этого сигнала устанавливается такая частота гетеродина fГ, при которой выполняется условие fПР = fГ – fС. Теперь предположим, что на входе приёмника действует помеха с частотой f3, для которой выполняется условие fПР = f3 – fГ. Тогда напряжение с частотой fПР на выходе ПрЧ, а следовательно, и на выходе приёмника появится одновременно как от полезного сигнала с частотой

fC, так и с частотой f3. Канал на частоте f3, создающий при преобразовании также частоту fПР, называется симметричным, или зеркальным,каналом (fЗЕРК). Если помеха с этой частотой попадает в полосу пропускания преселектора, то в ПрЧ появляется составляющая с частотой │fЗЕРК – fГ│= fПР, т.е. точно такой же, какую образует полезный сигнал. В результате происходит наложение спектров полезного сигнала и помехи, и их частотная фильтрация становится невозможной.

В случае нижней настройки гетеродина (fГ<fC) полезный сигнал и зеркальная помеха на частотной оси относительно частоты гетеродина меняются местами, что показано на рис.2.6:

Рис.2.6. Возникновение зеркальных каналов приёма при различных

настройках частоты гетеродина

 

Таким образом, зеркальным называется побочный канал приёма радиосигналов, отличающийся по частоте от частоты настройки РПрУ на удвоенное значение промежуточной частоты (рис2.6).

Подавить зеркальный канал можно только в преселекторе двумя способами:

1. Повышение избирательных свойств преселектора путём создания сложных избирательных систем и повышения их добротности.

2. Увеличение значения промежуточной частоты, что позволяет «отодвинуть» частоту зеркального канала.

Не менее опасным в смысле создания помех радиоприёму является канал приёма на промежуточной частоте. На рис.2.5этот канал на частотной оси обозначен как f1 = fПР. В этом случае помеха на промежуточной частоте проходит в тракт УПЧ и усиливается так же, как и полезный сигнал. Основной способ борьбы с такой помехой – включение в состав ВЦ режекторного фильтра (фильтра-пробки), настроенного на частоту fПР, и повышение избирательности преселектора.

В супергетеродинном РПрУ существуют также побочные каналы приёма, связанные с преобразованием на гармониках гетеродина 2fГ, 3fГ, … Вокруг этих гармоник могут располагаться помехи с частотами 2fГ ± fПР, 3fГ ± fПР

и т. д., что показано на рис 2.5. Основными мерами по ослаблению побочных каналов приёма этого вида являются снижение уровня гармоник гетеродина, повышение линейности ВАХ преселектора и выбор соответствующего режима работы смесителя.

РПрУ с двойным преобразованием частоты

Как уже было сказано, одним из способов повышения избирательности по зеркальному каналу является увеличение промежуточной частоты. Однако из курса«Теоретических основ радиотехники» известно, что полоса пропускания (П) резонансного контура определяется из выражения:

f0

П = ───,

Q

где f0 – резонансная частота колебательного контура;

Q – добротность колебательного контура.

Из этого выражения видно, что повышение f0, (т.е. fПР)может привести к недопустимому расширению полосы пропускания УПЧ, а вместе с этим к снижению избирательности по соседнему каналу. Таким образом, требования высокой избирательности супергетеродинного приёмника одновременно по зеркальному и соседнему каналам противоречат друг другу. В тех случаях, когда разумный компромисс найти не удаётся, применяют двойное преобразование частоты.

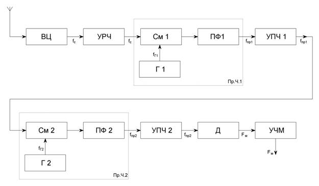
Приёмник с двойным преобразованием частоты имеет в своём составе два преобразователя частоты и два канала УПЧ. Структурная схема РПрУ с двойным преобразованием частоты показана на рис.2.7:

Рис.2.7. Структурная схема РПрУ с двойным преобразованием частоты

 

В таких приёмниках первая промежуточная частота выбирается возможно более высокой для обеспечения высокой избирательности преселектора по зеркальному каналу, а вторая промежуточная частота – достаточно низкой для обеспечения необходимой полосы пропускания и избирательности по соседнему каналу. Основное усиление сигнала происходит в тракте УПЧ2.

При высоких значениях частоты радиосигнала на качество радиоприёма может оказывать влияние нестабильность первого гетеродина. Уменьшить влияние нестабильности частоты первого гетеродина можно исполнением гетеродина в виде синтезатора частоты (СЧ) с заданным шагом перестройки.

Синтезатор частоты представляет собой устройство для формирования гармонических колебаний с заданными частотами из колебаний одного или нескольких опорных генераторов. Гетеродин в этом случае делают неперестраиваемым и стабилизируют его кварцем. При этом плавную настройку на частоту принимаемого сигнала осуществляют перестройкой контуров УПЧ1 и гетеродином Г2 (рис.2.7). Так как частота Г2 значительно меньше частоты Г1, то и влияние его нестабильности на работу РПрУ также меньше.

РПрУ с двойным преобразованием частоты применяют в диапазоне СВЧ (на частотах свыше 10 ГГц). В этом диапазоне работают спутниковые ТВ-системы и некоторые РЛС.

 

Контрольные вопросы:

· Объясните, что понимают под термином «линейный тракт приёма».

· Начертите структурную схему приёмника прямого усиления и объясните назначение его функциональных узлов. Перечислите недостатки этого приёмника.

· Объясните, почему приёмник прямого усиления имеет низкую чувствительность и избирательность.

· Начертите структурную схему РПрУ супергетеродинного типа и поясните назначение его функциональных узлов.

· Перечислите достоинства супергетеродинного приёмника и объясните, чем они достигаются.

· Перечислите недостатки супергетеродинного приёмника и объясните, чем они вызваны.

· Объясните, какие преимущества даёт преобразование частоты в супергетеродинном приёмнике.

· Объясните причины появления побочных каналов приёма в супергетеродинном РПрУ. Покажите на частотной оси побочные каналы приёма и объясните, чем они опасны.

· Какие цепи супергетеродинного приёмника осуществляют защиту от помех зеркального канала, соседнего канала и от помехи на промежуточной частоте? Каким способом осуществляется эта защита?

· В каких случаях переходят к супергетеродинному приёму с двойным преобразованием частоты?

· Объясните, какими способами можно осуществить подавление помехи по зеркальному каналу.

· Начертите структурную схему супергетеродинного приёмника с двойным преобразованием частоты и объясните принцип его работы. Поясните назначение функциональных узлов этого приёмника.

 

 







Date: 2015-07-22; view: 4501; Нарушение авторских прав



mydocx.ru - 2015-2026 year. (1.061 sec.) Все материалы представленные на сайте исключительно с целью ознакомления читателями и не преследуют коммерческих целей или нарушение авторских прав - Пожаловаться на публикацию