Главная Случайная страница


Полезное:

Как сделать разговор полезным и приятным Как сделать объемную звезду своими руками Как сделать то, что делать не хочется? Как сделать погремушку Как сделать так чтобы женщины сами знакомились с вами Как сделать идею коммерческой Как сделать хорошую растяжку ног? Как сделать наш разум здоровым? Как сделать, чтобы люди обманывали меньше Вопрос 4. Как сделать так, чтобы вас уважали и ценили? Как сделать лучше себе и другим людям Как сделать свидание интересным?


Категории:

АрхитектураАстрономияБиологияГеографияГеологияИнформатикаИскусствоИсторияКулинарияКультураМаркетингМатематикаМедицинаМенеджментОхрана трудаПравоПроизводствоПсихологияРелигияСоциологияСпортТехникаФизикаФилософияХимияЭкологияЭкономикаЭлектроника






Железобетонные каркасы зданий и сооружений

Каркасы одноэтажных зданий. Элементы каркаса. Основные элементы железобетонного сборного каркаса одноэтажных промышленных зданий: фундаменты, фундаментные балки (рандбалки), колонны, подкрановые балки, несущие элементы покрытия (фермы, балки) и связи.

Все элементы сборных железобетонных каркасов унифицированы. Характеристика каждого из них дана в специальных каталогах. Для соединения сборных железобетонных элементов каркаса между собой, а также для крепления стен, покрытий и других элементов зданий они имеют закладные стальные детали.

Рис. 49. Общий вид сборного железобетонного каркаса: 1— колонна; 2 — подкрановая балка; 3 — ферма; 4— плиты покрытия; 5 – стальные рама фонаря; связи

Для строповки элементов каркаса при их транспортировании, складировании и монтаже в процессе изготовления в них закладывают монтажные (подъемные) петли из мягкой арматурной стали (класса А-1) или устраивают специальные отверстия. Сборку железобетонных элементов в каркас производят путем сварки стальных закладных деталей. На рис. 49 приведен общий вид сборного железобетонного каркаса одноэтажного промышленного здания.

Фундаменты. Под колонны каркаса зданий устраивают отдельно стоящие железобетонные фундаменты ступенчатой формы, имеющие в верхней части стакан, в который устанавливают колонны (рис. 50). Устройство этих фундаментов см. в § 24. фундаментные балки. В промышленных каркасных зданиях с шагом колонны 6 и 12 м фундаментные балки служат для опирания на них самонесущих стен и передачи от них нагрузок на фундаменты. Балки имеют тавровое (рис. 51) или трапецеидальное поперечное сечение. Длина основных балок при шаге колонны 6 м—4950 мм, при шаге 12 м— 10700 мм.

Рис. 50. Опирание колонны на фундамент: 1 — колонна; 2 — фундамент

Рис. 51. Фундаментная балка

Балки, укладываемые у торцов здания и температурных швов, где шаг колонн уменьшен, на 500 мм короче основных —4450 и 10 200 мм. Толщина балок для кирпичных стен—250, 380 и 510 мм, блочных —380 и 510 мм, панельных —200, 240, 300 и 400 мм. Высота фундаментных балок 400 и 600 мм.

Балки длиной 6 м изготовляют без предварительного напряжения, длиной 12 м—предварительно напряженными.

Рис. 52. Опирание фундаментной балки: 1 — фундаментная балка; 2 — бетонный столбик; 3 — фундамент

Под наружные стены балки укладывают с внешней стороны колонны, под внутренние стены — между колоннами на продольной раз-бивочной оси. Балки опирают непосредственно на ступени фундаментов или на бетонные столбики (рис. 52), выложенные по этим ступеням с таким расчетом, чтобы верхняя грань балок была расположена на отметке —0,030, т. е.на 30 мм ниже уровня чистого пола. Зазоры между торцами балок, а также между концами балок и колоннами заполняют бетоном марки 100.

По выровненной поверхности балок устраивают горизонтальную гидроизоляцию стен. Во избежание деформации балок при пучинистых (глинистых) грунтах, а также для защиты пристенной полосы пола от промерзания снизу и с боков фундаментных балок делают шлаковую подсыпку.

Фундаментные балки изготовляют из бетона марок 200—400, рабочую арматуру балок ФБ— из стали класса А-П, балок ФБН (фундаментные балки напряженные) — из стали класса А-Шв.

Колонны. В одноэтажных промышленных зданиях сборные Железобетонные колонны применяют сплошные прямоугольного сечения (рис. 53, а, б) и сквозные двухветвевые (рис. 53, в). В зданиях, оборудованных мостовыми кранами, колонны имеют консоли для опирания на них подкрановых балок, на которые укладывают рельсы для передвижения крана. Унифицированные колонны имеют высоту, кратную модулю 600 мм. Проектная высота колонны (Н) исчисляется от уровня чистого пола помещения, т. е. от отметки 0, 000 до верха колонны без учета ее нижнего конца длиной 900—1350 мм, заделываемого в фундамент.

 

Рис. 53. Типы сборных железобетонных колонн одноэтажных промышленных зданий: а — для бескрановых зданий; б—крановые прямоугольного сечения; в — крановаядвухветвевая для средних рядов

Часть колонны, расположенную выше консолей, называют над-крановой, ниже — подкрановой. Надкрановую часть колонны, поддерживающую элементы покрытия, называют надколонником. В двух-ветвевых колоннах надколонник выполняют из одной ветви, вследствие чего для опчрания подкрановых балок создаются уступы. Верхний торец колонны имеет стальной закладной лист с анкерными болтами для крепления несущих элементов покрытия. Стальные закладные детали предусматривают также в местах установки подкрановых балок и связей и, кроме того, в боковых плоскостях крайних колонн (для крепления стен).


Для выверки положения колонн при их монтаже предусмотрены риски в виде вертикальных канавок треугольного профиля. Их наносят на четырех гранях колонн (вверху и внизу), а также на боковых гранях консолей колонн.

Колонны изготовляют из бетона марок 200, 300 и 400, рабочую арматуру — из стали класса А-Ш.

Колонны фахверка (вспомогательного каркаса) устраивают торцовых фахверках и фахверках продольных стен одноэтажных промышленных зданий при длине стеновых панелей 6 и 12 м.

Колонны рассчитывают на нагрузку от ветра и массыпанельныхстен. устанавливают колонны на самостоятельные фундаменты. Наружная грань колонн рассполагаетсяв плоскости внутренней поверхности стен.

Колонны изготовляют из бетона марок 200—-400, рабочая арматура — из стали класса А-Ш.

Рис. 54. Сборные железобетонные подкрановые балки: а —таврового сечения длиной 6 м б — двутаврового сечения длиной 12 м

Подкрановые балки служат для передвижения по ним мостовых кранов и являются продольными связями между колоннами каркаса. Балки устанавливают на железобетонные колонны при их шаге 6 и 12 м. Подкрановые балки имеют тавровое или двутавровое сечение. Балки пролетом 6 м изготовляют таврового поперечного сечения с утолщением стенки на опорах высотой 800 и 1000 мм (рис. 54, а), а пролетом 12 м. — двутаврового сечения высотой 1400 мм с усиленной верхней полкой (рисс 54, б). Верхние полки балок служат в основном для крепления к ним крановых рельс. В балках предусмотрены закладные детали, необходимые для крепления балок к колоннам и рельсовых путей к балкам. Все балки — предварительно напряженные.

Балки изготовляются из бетона марки 300—500, рабочая арматура—из высокопрочной проволоки Вр-П, стали класса А-Шв и др.

Стропильные балки. Их изготовляют односкатными, двускатными и с параллельными поясами (рис. 55).

Односкатные балки (рис. 55, а) применяют в покрытиях одноэтажных промышленных зданий пролетом 6—12 м, с шагом колонн 6 м и наружным водостоком. Двускатные балки (рис. 55, б) используют в покрытиях одноэтажных промышленных зданий при пролетах 6—18 м, шаге колонн 6 и 12 м с наружным и внутренним водостоком. Балки с параллельными поясами (рис. 55, в) применяют в покрытиях промышленных зданий с плоской кровлей при пролетах 12 и 18ми шаге колонн 6 и 12 м. Стропильные балки имеют тавровое или двутавровое сечение. В целях уменьшения массы балок и пропуска коммуникаций в их стенках устраивают отверстия различного очертания. Одно- и двускатные балки можно собирать из отдельных блоков с последующим натяжением пропущенной через них арматуры.

Балки устанавливают на железобетонные колонны или на несущие стены с устройством железобетонных подушек, а балки пролетом 18 м также на подстропильные балки. К колоннам балки покрытия прикрепляют анкерными болтами, выпущенными из колонн и проходящими через опорный лист, приваренный к закладной детали балки. Опорный лист балки прикрепляют к листу, заложенному в колонну.

В продольных температурных швах одну из балок устанавливают цакатковую опору.

Балки изготовляют из бетона марок 300, 400 и 500, рабочуюарма-туру — из высокопрочной проволоки класса Вр-П или стержней из стали класса A-IV и А-Шв.


Рис. 55. Железобетонные балки: а — односкатные; б — двускатные; в — с параллельными поясами

Стропильные фермы — конструкции, состоящие из отдельных соединенных между собой стержней, образующих каркас.

Стержни фермы, расположенные по ее верхнему контуру, составляют верхний пояс, а по нижнему контуру — нижний пояс. Вертикальные стержни фермы называют стойками, наклонные — расколами. Стойки и раскосы, расположенные между верхними и нижними поясами, образуют решетку фермы, а точки (места), в которых сходятся концы стоек и раскосов,— узлы фермы. Участок между двумя соседними узлами называется панелью.

В зависимости от очертания верхнего пояса фермы делят на сегментные, с параллельными поясами и др. (рис. 56). Железобетонные фермы могут быть цельными или составными. Составные фермы выполняют из двух полуферм или нескольких блоков.

Рис. 56. Железобетонные предварительно напряженные Стропильные фермы: а — сегментная ферма; б — ферма с параллельными поясами

Их применяют в скатных и плоских покрытиях одноэтажных промышленных зданий пролетом 18 м и более. Устанавливают стропильные фермы на железобетонные колонны или подстропильные фермы. Для крепления ферм к колоннам (подстропильным фермам), а также к фермам плит покрытия, рам фонаря, связей в них предусмотрены соответствующие стальные закладные детали.

Фермы выполняют с предварительным напряжением нижнего пояса и растянутых раскосов (в фермах с параллельными поясами).

Изготовляют фермы из бетона марок 300—500, рабочую арматуру. — из высокопрочной проволоки Вр-Н и стержней из стали класса A-IV
и др.

Подстропильные фермы и балки применяют в покрытиях одноэтажных многопролетных промышленных зданий наряду со стропильными фермами и балками (рис. 57),

Подстропильные фермы и балки применяют в средних рядах зданий для опирания ферм или балок покрытия в тех случаях, когда их шаг составляет 6 м, а шаг колонн средних рядов — 12 м.

Подстропильные фермы (балки) устанавливают вдоль здания непосредственно на колонны, с которыми их скрепляют путем сварки закладных деталей. Все фермы (балки) имеют одинаковый пролет 12 м, кроме ферм, устанавливаемых в торцах здания и у поперечных температурных швов, пролет которых составляет 11, 5 м (в соответствии с расположением колонн). По концам и посредине (в нижнем узле) подстропильных ферм (балок) предусмотрены площадки для опирания стропильных ферм (балок). В площадках имеются закладные листы с приваренными к ним анкерными болтами.

Фермы (балки) изготовляют с предварительным напряжением нижнего пояса из бетона марок 400 и 500. Основная (напрягаемая) арматура — из высокопрочной проволоки класса Вр-11 и стали класса А-1У и др.

Связи. Жесткость сборного железобетонного каркаса в поперечном направлении (поперек пролетов) обеспечивается жесткостью самих колонн и их закреплением в фундаментах. В продольном на-правлении (вдоль пролетов) в зданиях с мостовыми кранами и без них при высоте более 9,6 м жесткость каркаса обеспечивается уста, новкой продольных вертикальных стальных связей(рис. 58), которые располагаются в каждом продольном ряду колонн у середины каждого температурного блока. Их выполняют из прокатных профилей и приваривают к специальным закладным деталям колонн.


Рис. 57. Подстропильные железобетонные предварительно напряженные конструкции: а — балка; б — ферма; в—деталь опиравши ферм покрытия на подстропильную ферму; 1 — подстропильная ферма; 2 — стропильные фермы; 3 — плиты покрытия; 4— закладные детали для крепления ферм; 5 — то же, для крепления плит

Рис. 58. Вертикальные связи между колоннами: а — крестовые; б — портальные; 1 —железобетонные колонны; 2 — подкрановые балки; 3 — балки (или фермы) покрытия; 4 — вертикальные связи

Кроме вертикальных связей между колоннами устанавливают также горизонтальные и вертикальные связи между фермами (балками) покрытия. Гори-, онтальные связи устанавливаются в горизонтальных плоскостях, е. в плоскостях верхнего и нижнего поясов ферм, вертикальные — в вертикальных плоскостях между фермами.

Каркасы многоэтажных зданий бывают рамного, связевого и рамно-связевого типа. Для зданий из сборных железобетонных элементов чаще применяют каркасы рамно-связевой системы (рис. 59).

Рис. 59. Многоэтажное здание с балочными перекрытиями рамно-связевой системы: 1 — самонесущая стена; 2 — ригель с полками; 3 — ребристые плиты; 4 — консоль колонны

B 2WH2EQxGfXjIfc1iX0N4AlAx1hh116nu9t6yliwvwJNvC8PFMYxJxiyFzQh1UW2GC9aOzWSzIs1e 239bq90in/wGAAD//wMAUEsDBBQABgAIAAAAIQBMoOks2AAAAAMBAAAPAAAAZHJzL2Rvd25yZXYu eG1sTI9BS8NAEIXvgv9hGcGL2I0iUmI2RQpiEaGYas/T7JgEs7NpdpvEf9+pHvQyw+MNb76XLSbX qoH60Hg2cDNLQBGX3jZcGXjfPF3PQYWIbLH1TAa+KcAiPz/LMLV+5DcailgpCeGQooE6xi7VOpQ1 OQwz3xGL9+l7h1FkX2nb4yjhrtW3SXKvHTYsH2rsaFlT+VUcnIGxXA/bzeuzXl9tV573q/2y+Hgx 5vJienwAFWmKf8dwwhd0yIVp5w9sg2oNSJH4M8W7m4va/W6dZ/o/e34EAAD//wMAUEsBAi0AFAAG AAgAAAAhALaDOJL+AAAA4QEAABMAAAAAAAAAAAAAAAAAAAAAAFtDb250ZW50X1R5cGVzXS54bWxQ SwECLQAUAAYACAAAACEAOP0h/9YAAACUAQAACwAAAAAAAAAAAAAAAAAvAQAAX3JlbHMvLnJlbHNQ SwECLQAUAAYACAAAACEAf6NgOg0DAAAQBgAADgAAAAAAAAAAAAAAAAAuAgAAZHJzL2Uyb0RvYy54 bWxQSwECLQAUAAYACAAAACEATKDpLNgAAAADAQAADwAAAAAAAAAAAAAAAABnBQAAZHJzL2Rvd25y ZXYueG1sUEsFBgAAAAAEAAQA8wAAAGwGAAAAAA== " filled="f" stroked="f">

Рис. 60. Колонны многоэтажных промышленных зданий

Основными элементами такого каркаса являются колонны, ригели, плиты перекрытий, связи.

Колонны (рис. 60) каркаса многоэтажных промышленных зданий обычно имеют сплошное прямоугольное сечение размером 400×400 или 400×600 мм, высоту на один или два этажа и выполняются консольного типа. В плане здания колонны имеют сетку 6×6 или 9×6 м.

Колонны нижнего этажа опирают на фундаменты стаканного типа. Колонны верхних этажей соединяют между собой путем сварки закладных стальных деталей. Торцы колонны снабжены стальными оголовками (сваренными из уголков и полос), к вертикальным стенкам которых приварены концы рабочей арматуры колонн. Стык осуществляется приваркой к тем же оголовкам коротких стыковых стержней.

В каркасах многоэтажных зданий стык колонн для удобства монтажа обычно предусматривают на высоте 0,6 м от уровня пола.

Колонны изготовляют из бетона марок 200—500, рабочуюарма-ТУРУ — из стали класса А-Ш.

Ригели (рис. 61) используют в составе сборных железобетонных междуэтажных перекрытий в многоэтажных зданиях. Ригели изготовляют с полками для опирания плит и прямоугольного сечения без ц0ч лок длиной 6 и 9 м, высотой 800 мм и шириной 300 мм.

Ригели пролетом 6 м изготовляют без предварительного напряже. ния, а пролетом 9 м — с предварительным напряжением двух-трех стержней нижней рабочей арматуры. Для подвешивания комму.никаций в ригелях предусмотрены сквозные отверстия диаметром 50 мм. При монтаже каркаса эти отверстия используют для подъема ригелей.

M DrOPYDDqw0Puaxb7GsITgIqxxqi7TnS395a1ZHkBnnxbGC5OYEwyZilsRqiLajNcsHZsJpsVafba /tta3S7yo98AAAD//wMAUEsDBBQABgAIAAAAIQBMoOks2AAAAAMBAAAPAAAAZHJzL2Rvd25yZXYu eG1sTI9BS8NAEIXvgv9hGcGL2I0iUmI2RQpiEaGYas/T7JgEs7NpdpvEf9+pHvQyw+MNb76XLSbX qoH60Hg2cDNLQBGX3jZcGXjfPF3PQYWIbLH1TAa+KcAiPz/LMLV+5DcailgpCeGQooE6xi7VOpQ1 OQwz3xGL9+l7h1FkX2nb4yjhrtW3SXKvHTYsH2rsaFlT+VUcnIGxXA/bzeuzXl9tV573q/2y+Hgx 5vJienwAFWmKf8dwwhd0yIVp5w9sg2oNSJH4M8W7m4va/W6dZ/o/e34EAAD//wMAUEsBAi0AFAAG AAgAAAAhALaDOJL+AAAA4QEAABMAAAAAAAAAAAAAAAAAAAAAAFtDb250ZW50X1R5cGVzXS54bWxQ SwECLQAUAAYACAAAACEAOP0h/9YAAACUAQAACwAAAAAAAAAAAAAAAAAvAQAAX3JlbHMvLnJlbHNQ SwECLQAUAAYACAAAACEAqgKPIQ0DAAAQBgAADgAAAAAAAAAAAAAAAAAuAgAAZHJzL2Uyb0RvYy54 bWxQSwECLQAUAAYACAAAACEATKDpLNgAAAADAQAADwAAAAAAAAAAAAAAAABnBQAAZHJzL2Rvd25y ZXYueG1sUEsFBgAAAAAEAAQA8wAAAGwGAAAAAA== " filled="f" stroked="f">

Рис. 61. Ржели

Y HWYfwWDUh4fc1yz2NYQnABVjjVF3nehu7y1ryfICPPm2MFycwJhkzFLYjFAX1Wa4YO3YTDYr0uy1 /be1ul3kR78BAAD//wMAUEsDBBQABgAIAAAAIQBMoOks2AAAAAMBAAAPAAAAZHJzL2Rvd25yZXYu eG1sTI9BS8NAEIXvgv9hGcGL2I0iUmI2RQpiEaGYas/T7JgEs7NpdpvEf9+pHvQyw+MNb76XLSbX qoH60Hg2cDNLQBGX3jZcGXjfPF3PQYWIbLH1TAa+KcAiPz/LMLV+5DcailgpCeGQooE6xi7VOpQ1 OQwz3xGL9+l7h1FkX2nb4yjhrtW3SXKvHTYsH2rsaFlT+VUcnIGxXA/bzeuzXl9tV573q/2y+Hgx 5vJienwAFWmKf8dwwhd0yIVp5w9sg2oNSJH4M8W7m4va/W6dZ/o/e34EAAD//wMAUEsBAi0AFAAG AAgAAAAhALaDOJL+AAAA4QEAABMAAAAAAAAAAAAAAAAAAAAAAFtDb250ZW50X1R5cGVzXS54bWxQ SwECLQAUAAYACAAAACEAOP0h/9YAAACUAQAACwAAAAAAAAAAAAAAAAAvAQAAX3JlbHMvLnJlbHNQ SwECLQAUAAYACAAAACEA1eC/DQ0DAAAQBgAADgAAAAAAAAAAAAAAAAAuAgAAZHJzL2Uyb0RvYy54 bWxQSwECLQAUAAYACAAAACEATKDpLNgAAAADAQAADwAAAAAAAAAAAAAAAABnBQAAZHJzL2Rvd25y ZXYueG1sUEsFBgAAAAAEAAQA8wAAAGwGAAAAAA== " filled="f" stroked="f">

Рис. 62. Плиты перекрытий

По концам ригелей в верхней части имеются выемки, в которых размещаются выпуски верхней опорной арматуры ригеля, стыкуемые с выпусками арматуры колонн.

Ригели устанавливают на консоли железобетонных колонн и соединяют с колоннами сваркой арматуры и закладных деталей с последующим замоноличиванием. Изготовляют их из бетона марок 200— 400, арматуру — из стали класса А-Ш (без предварительного напряжения) и А-Шв — для предварительно напряженной.

Плиты перекрытий (рис. 62) используют в составе сборных железобетонных перекрытий зданий. В многоэтажных зданиях применяют два типа плит перекрытий. Плиты 1-го типа изготовляют шириной 1500 и 750 и длиной 5550 и 5050, плиты 2-го типа — шириной 1500 и длиной 5950 мм. У продольных стен здания укладываются плит” номинальной ширины 750 мм.

Все плиты выполняют П-образного сечения высотой 400 мм. П торцам плит размещены глухие поперечные ребра такой же высот (плиты 1-го типа) и высотой 150 мм (плиты 2-готипа). Кроме того, в прилете имеются три промежуточных поперечных ребра высотой 200 мм. Толщина полки плит 50 мм. В продольных ребрах расположены отвер’ стия диаметром 35 мм {через 1 м) для подвешивания к перекрытию электропроводки и других грузов массой до 300 кг на одно отверстие.
Межколонные плиты (2-го типа), укладываемые по продольным разбивочным осям, так называемые распорные или связевые плиты, имеют вырезы в полках в местах примыкания к колоннам. Плиты изготовляют без предварительного напряжения или с предварительным напряжением рабочей арматуры. Продольные и поперечные ребра плит армируют плоскими сварными каркасами, полку — сварной сеткой. Основная арматура — стержневая.

Плиты 1-го типа укладывают на полки железобетонных ригелей(1-го типа), плиты 2-го типа — поверх железобетонных ригелей прямоугольного сечения (2-го типа).

Изготовляют плиты из бетона марок 200—300 (плиты 1-го типа) 300—400 (плиты 2-го типа), а основную рабочую арматуру — из сТали класса А-И, А-Ш и А-Ш в.

Связи. В сборных железобетонных каркасах рамно-связевой системы многоэтажных зданий колонны и ригели перекрытий образуют рЯд поперечных рам, обеспечивающих пространственную жесткость каркаса в поперечном направлении. Жесткость узлов сопряжения ригелей с колоннами достигается сваркой закладных деталей реги-лей и консолей колонн, а также сваркой выпусков верхней арматуры ригелей со стержнями, пропущенными сквозь тело колонны. Зазоры между колоннами и торцами ригелей заполняют бетоном.

Для обеспечения пространственной жесткости каркаса здания в продольном направлении на всех этажах в середине каждого температурного блока между колоннами продольных рядов ставят вертикальные стальные связи крестового или портального типа, привариваемые к закладным деталям колонн (см. рис. 58).

В многоэтажных зданиях пространственная жесткость здания в целом обеспечивается также проектированием в них так называемых стенок (диафрагм) и ядер жесткости. Стенки жесткости выполняют из сборного или монолитного железобетона”. В качестве сборного железобетона применяют отдельные стеновые панели, которые устанавливают между колоннами каркаса здания. Крепление панелей к колоннам и между собой (по высоте этажей) осуществляют электросваркой закладных стальных деталей в панелях и колоннах. Количество и места расположения стенок жесткости в каждом здании определяются расчетом и указываются в проекте.

Пространственные ядра жесткости, как правило, устраивают монолитными железобетонными, с толщиной стенок 20—40 см и более, в скользящей или переставной опалубке. В пределах ядра обычно размещаются лестнично-лифтовые узлы, вентиляционные шахты, мусоропроводы и другие коммуникации. Ядра жесткости обеспечивают (за счет выгодной статической работы) высокую жесткость здания при минимальном расходе бетона и стали по сравнению с плоскими системами связевых диафрагм. Кроме того, пространственные ядра жесткости эффективно работают и на восприятие крутящих моментов, возникающих под действием несимметричных горизонтальных (ветровых) нагрузок.

Деформационные швы. В каркасах зданий значительной протяженности устраивают деформационные (температурные) швы, которые расчленяют каркас и все опирающиеся на него конструкции на отдельные участки — блоки (рис. 63). Различают швы поперечные и продольные.

Поперечные температурные швы выполняют из сдвоенных колонн и> как правило, без вставки, т. е. без удвоения поперечных разбивоч-ньгх осей. Ось температурного шва совмещается с поперечной разбитной осью, а геометрические оси колонн (а также и опирающихся на них несущих конструкций перекрытия) смещаются с оси температур, ного шва на 500 мм. При этом на примыкающих к швам участках при.меняют плиты укороченной длины, а для заполнения промежутка между спаренными ригелями — специальные железобетонные элементы.

Y HWYfwWDUh4fc1yz2NYQnABVjjVF3nehu7y1ryfICPPm2MFycwJhkzFLYjFAX1Wa4YO3YTDYr0uy1 /be1ul3kR78BAAD//wMAUEsDBBQABgAIAAAAIQBMoOks2AAAAAMBAAAPAAAAZHJzL2Rvd25yZXYu eG1sTI9BS8NAEIXvgv9hGcGL2I0iUmI2RQpiEaGYas/T7JgEs7NpdpvEf9+pHvQyw+MNb76XLSbX qoH60Hg2cDNLQBGX3jZcGXjfPF3PQYWIbLH1TAa+KcAiPz/LMLV+5DcailgpCeGQooE6xi7VOpQ1 OQwz3xGL9+l7h1FkX2nb4yjhrtW3SXKvHTYsH2rsaFlT+VUcnIGxXA/bzeuzXl9tV573q/2y+Hgx 5vJienwAFWmKf8dwwhd0yIVp5w9sg2oNSJH4M8W7m4va/W6dZ/o/e34EAAD//wMAUEsBAi0AFAAG AAgAAAAhALaDOJL+AAAA4QEAABMAAAAAAAAAAAAAAAAAAAAAAFtDb250ZW50X1R5cGVzXS54bWxQ SwECLQAUAAYACAAAACEAOP0h/9YAAACUAQAACwAAAAAAAAAAAAAAAAAvAQAAX3JlbHMvLnJlbHNQ SwECLQAUAAYACAAAACEAAEFQFg0DAAAQBgAADgAAAAAAAAAAAAAAAAAuAgAAZHJzL2Uyb0RvYy54 bWxQSwECLQAUAAYACAAAACEATKDpLNgAAAADAQAADwAAAAAAAAAAAAAAAABnBQAAZHJzL2Rvd25y ZXYueG1sUEsFBgAAAAAEAAQA8wAAAGwGAAAAAA== " filled="f" stroked="f">

Рис. 63. Деформационные швы в каркасных зданиях; а — схема температурного поперечного шва (без вставки); б, в — то же, продольных швов (со вставкой); г — поперечный шов в покрытии; 1 — ось ряда; 2 — ось колонны; 3 — стальной столик; 4 ~ железобетонная вставка; 5 — железобетонная плита покрытия; 6, 7 — компенсаторы; 8 — кирпичная стенка; 9 — доска; 10 — фартук

Продольные температурные швы в зданиях с железобетонным каркасом выполняют из двух рядов колонн со вставкой между раз-бивочными осями размером 500, 1000 и 1500 мм, а в зданиях со стальным или смешанным каркасом — из одного ряда колонн.

Если в продольном температурном шве в покрытии имеются подстропильные конструкции, то для их размещения необходима привязка колонн 250 мм. Иногда температурный шов совмещают с осадочным. В таких случаях температурно-осадочный шов устраивают и в фундаментах спаренных колонн. Расстояния между температурными и температурно-осадочными швами для различных зданий и сооружений даны в соответствующих нормах проектирования.

Каркасы сооружений. Силосы. Силосные корпуса служат дл) хранения сыпучих материалов (зерна, цемента). Каркасы силосу сооружают из сборных железобетонных конструкций или из монолитного железобетона. Однако возведение монолитных силосов имеет ояд существенных недостатков: невозможность применения предварительного напряжения арматуры, термической обработки и т. д. применение монолитного железобетона осложняет производство работ в зимних условиях.

Y HWYfwWDUh4fc1yz2NYQnABVjjVF3nehu7y1ryfICPPm2MFycwJhkzFLYjFAX1Wa4YO3YTDYr0uy1 /be1ul3kR78BAAD//wMAUEsDBBQABgAIAAAAIQBMoOks2AAAAAMBAAAPAAAAZHJzL2Rvd25yZXYu eG1sTI9BS8NAEIXvgv9hGcGL2I0iUmI2RQpiEaGYas/T7JgEs7NpdpvEf9+pHvQyw+MNb76XLSbX qoH60Hg2cDNLQBGX3jZcGXjfPF3PQYWIbLH1TAa+KcAiPz/LMLV+5DcailgpCeGQooE6xi7VOpQ1 OQwz3xGL9+l7h1FkX2nb4yjhrtW3SXKvHTYsH2rsaFlT+VUcnIGxXA/bzeuzXl9tV573q/2y+Hgx 5vJienwAFWmKf8dwwhd0yIVp5w9sg2oNSJH4M8W7m4va/W6dZ/o/e34EAAD//wMAUEsBAi0AFAAG AAgAAAAhALaDOJL+AAAA4QEAABMAAAAAAAAAAAAAAAAAAAAAAFtDb250ZW50X1R5cGVzXS54bWxQ SwECLQAUAAYACAAAACEAOP0h/9YAAACUAQAACwAAAAAAAAAAAAAAAAAvAQAAX3JlbHMvLnJlbHNQ SwECLQAUAAYACAAAACEAKyTeVQ0DAAAQBgAADgAAAAAAAAAAAAAAAAAuAgAAZHJzL2Uyb0RvYy54 bWxQSwECLQAUAAYACAAAACEATKDpLNgAAAADAQAADwAAAAAAAAAAAAAAAABnBQAAZHJzL2Rvd25y ZXYueG1sUEsFBgAAAAAEAAQA8wAAAGwGAAAAAA== " filled="f" stroked="f">

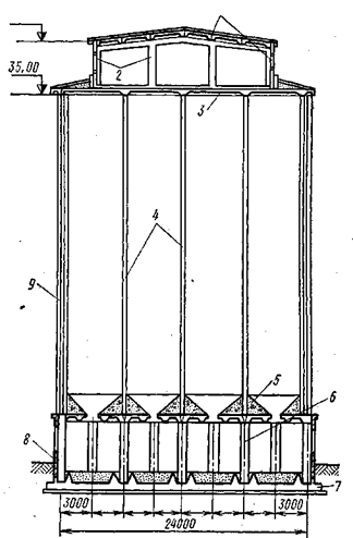
Рис. 64. Силосный корпус из сборного железобетона (поперечный разрез): 1 — крупные панели; 2 — рама; 3 — плита; 4 — кольца; 5 — шлакобетон; 6 — колонны; 7 — монолитная железобетонная плита; 8 — стеновые блоки; 9 —• пилястры в крайних блоках

В последние годы строят сборные железобетонные силосы для хранения зерна и цемента, при сооружении которых в значительной степени устранены указанные выше недостатки, свойственные монолитным силосам. В силосном корпусе для хранения зерна, состоящем Из Двух блоков по 24 банки общей емкостью 32 тыс. т, из монолитного Железобетона выполняют только фундаментную плиту, остальные конструкции — из сборного железобетона (рис. 64). Силосные банки, имеющие высоту около 30 м, состоят из железобетонных колец высотой 1480 мм, армированных сварными сетками; внутренний диаметр колец 5,7 м, толщина стенок 120 мм, масса 8,1 т.

Силосы для хранения цемента высотой около 25 м монтируют из колец высотой 1490 мм, имеющих внутренний диаметр 10 м, стенки толщиной 200 мм и массу 24 т. Для стыкования колец на их верхних торцах предусматривают трапецеидальные пазы, на нижних торцах — гребни.

Соединение колец в банки производят двумя вариантами. Первый вариант заключается в том, что кольца опираются друг на друга насухо по двум круговым площадкам. По второму варианту стык колец выполняют с зазором около 20 мм, который заполняют раствором в процессе монтажа. По окружности колец в их пазы и гребни заранее (при изготовлении) заделывают три стальные плитки-опоры, которыми кольца при установке опираются друг на друга через центрирующие прокладки. Первый вариант соединения колец значительно проще второго, но не всегда обеспечивает точную Горизонтальность стыков колец; при нем возможны местные открытые зазоры в стыках и нарушение вертикальности стен банок.

Y HWYfwWDUh4fc1yz2NYQnABVjjVF3nehu7y1ryfICPPm2MFycwJhkzFLYjFAX1Wa4YO3YTDYr0uy1 /be1ul3kR78BAAD//wMAUEsDBBQABgAIAAAAIQBMoOks2AAAAAMBAAAPAAAAZHJzL2Rvd25yZXYu eG1sTI9BS8NAEIXvgv9hGcGL2I0iUmI2RQpiEaGYas/T7JgEs7NpdpvEf9+pHvQyw+MNb76XLSbX qoH60Hg2cDNLQBGX3jZcGXjfPF3PQYWIbLH1TAa+KcAiPz/LMLV+5DcailgpCeGQooE6xi7VOpQ1 OQwz3xGL9+l7h1FkX2nb4yjhrtW3SXKvHTYsH2rsaFlT+VUcnIGxXA/bzeuzXl9tV573q/2y+Hgx 5vJienwAFWmKf8dwwhd0yIVp5w9sg2oNSJH4M8W7m4va/W6dZ/o/e34EAAD//wMAUEsBAi0AFAAG AAgAAAAhALaDOJL+AAAA4QEAABMAAAAAAAAAAAAAAAAAAAAAAFtDb250ZW50X1R5cGVzXS54bWxQ SwECLQAUAAYACAAAACEAOP0h/9YAAACUAQAACwAAAAAAAAAAAAAAAAAvAQAAX3JlbHMvLnJlbHNQ SwECLQAUAAYACAAAACEA/oUxTg0DAAAQBgAADgAAAAAAAAAAAAAAAAAuAgAAZHJzL2Uyb0RvYy54 bWxQSwECLQAUAAYACAAAACEATKDpLNgAAAADAQAADwAAAAAAAAAAAAAAAABnBQAAZHJzL2Rvd25y ZXYueG1sUEsFBgAAAAAEAAQA8wAAAGwGAAAAAA== " filled="f" stroked="f">

Рис. 65. Вентиляторная градирня

Соединение банок между собой по образующим выполняется путем армирования стыка вертикальными пространственными каркасами и сетками, заходящими также в горизонтальные стыки между кольцами. Бетонирование стыка осуществляется в металлической опалубке, прикрепляемой к выпускам арматуры.

Градирни. В СССР разработаны и строятся многосекционные вентиляторные градирни из сборных железобетонных унифицированных элементов (рис. 65). Наземный каркас такой градирни состоит из колонн сечением 200×200 мм, устанавливаемых на расстоянии 4 м одна от другой и связываемых между собой поперечными и продольными двухветвевыми балками длиной 8 м общим сечением 500 X 200 мм. Каждая балка имеет три гнезда для соединения с колоннами. Для установки блоков оросителей в трех нижних ярусах на балки основного каркаса укладывают промежуточные балки. Верх градирни состоит из железобетонных коротких стоек, располагаемых по наружному периметру секций градирни, балок и кровельных плит.

 



<== предыдущая | следующая ==>
Выклейка готового изделия | Заполните пропуски в следующей таблице





Date: 2015-07-23; view: 1604; Нарушение авторских прав



mydocx.ru - 2015-2026 year. (1.143 sec.) Все материалы представленные на сайте исключительно с целью ознакомления читателями и не преследуют коммерческих целей или нарушение авторских прав - Пожаловаться на публикацию