Главная Случайная страница


Полезное:

Как сделать разговор полезным и приятным Как сделать объемную звезду своими руками Как сделать то, что делать не хочется? Как сделать погремушку Как сделать так чтобы женщины сами знакомились с вами Как сделать идею коммерческой Как сделать хорошую растяжку ног? Как сделать наш разум здоровым? Как сделать, чтобы люди обманывали меньше Вопрос 4. Как сделать так, чтобы вас уважали и ценили? Как сделать лучше себе и другим людям Как сделать свидание интересным?


Категории:

АрхитектураАстрономияБиологияГеографияГеологияИнформатикаИскусствоИсторияКулинарияКультураМаркетингМатематикаМедицинаМенеджментОхрана трудаПравоПроизводствоПсихологияРелигияСоциологияСпортТехникаФизикаФилософияХимияЭкологияЭкономикаЭлектроника






Трехфазный асинхронный электродвигатель с короткозамкнутым ротором





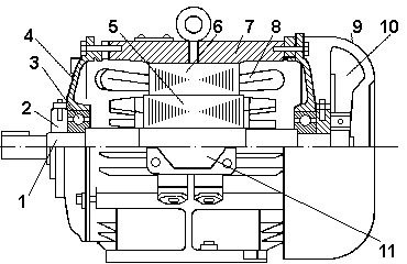
Устройство. Трехфазный асинхронный электродвигатель с короткозамкнутым ротором состоит из корпуса 7, неподвижного статора 6, вращающего ротора и двух подшипниковых щитов 4 с подшипниками качения или скольжения, расположенными в центре щитов (рис. 1). Статор двигателя состоит из сердечника 6 и трехфазной обмотки 8. Корпус изготовляется из чугуна или из алюминиевых сплавов.

Сердечник статора (рис. 2, а) набирается из штампованных листов электротехнической стали толщиной 0,3 или 0,5 мм, изолированных друг от друга покраской лаком для уменьшения потерь на вихревые токи. На внутренней поверхности сердечника имеются открытые пазы для укладки в них трехфазной обмотки, выполненной из изолированного провода. Оси обмоток расположены симметрично под углом 120° друг к другу.

Ротор (рис. 2, б) асинхронного электродвигателя состоит из вала, опирающегося на подшипники, сердечника и обмотки. Сердечник ротора набирается из штампованных листов электротехнической стали. На внешней поверхности сердечника имеются пазы, в которых размещаются медные или алюминиевые стержни обмотки ротора без изоляции. Концы стержней путем сварки или литья под давлением соединяются с кольцами. В результате получается короткозамкнутая обмотка ротора, напоминающая беличье колесо (рис. 3).

Рис. 1 Устройство трехфазного электродвигателя
  • 1 - вал ротора,
  • 2 - крышка подшипника,
  • 3 - подшипник,
  • 4 - подшипниковый щит,
  • 5 - пакет ротора,
  • 6 - сердечник статора,
  • 7 - корпус,
  • 8 - обмотка,
  • 9 - кожух вентилятора,
  • 10 - вентилятор,
  • 11 - коробка выводов.

 

 
Рис. 2, а Статор асинхронного электродвигателя 1 - сердечник, 2 - скоба, 3 - паз. Рис. 2, б Ротор короткозамкнутый   Рис. 3 Короткозамкнутая обмотка ротора асинхронного электродвигателя






Date: 2015-07-23; view: 417; Нарушение авторских прав



mydocx.ru - 2015-2026 year. (0.668 sec.) Все материалы представленные на сайте исключительно с целью ознакомления читателями и не преследуют коммерческих целей или нарушение авторских прав - Пожаловаться на публикацию