Главная Случайная страница


Полезное:

Как сделать разговор полезным и приятным Как сделать объемную звезду своими руками Как сделать то, что делать не хочется? Как сделать погремушку Как сделать так чтобы женщины сами знакомились с вами Как сделать идею коммерческой Как сделать хорошую растяжку ног? Как сделать наш разум здоровым? Как сделать, чтобы люди обманывали меньше Вопрос 4. Как сделать так, чтобы вас уважали и ценили? Как сделать лучше себе и другим людям Как сделать свидание интересным?


Категории:

АрхитектураАстрономияБиологияГеографияГеологияИнформатикаИскусствоИсторияКулинарияКультураМаркетингМатематикаМедицинаМенеджментОхрана трудаПравоПроизводствоПсихологияРелигияСоциологияСпортТехникаФизикаФилософияХимияЭкологияЭкономикаЭлектроника






Значения импульсного коэффициента a при разных удельных сопротивлениях грунта





Тип заземлителя Значение импульсного коэффициента при электрическом удельном сопротивлении грунта r, Ом×м
До 100       2000 и более
Вертикальный 0,9 0,9 0,7 0,5 0,35
Горизонтальный 0,9 0,8 0,6 0,4 0,3
Комбинированный 0,9 0,7 0,5 0,3 -

Таблица 13

(к п. 8.1.8 главы XI)

Вид Место расположения токоотвода
снаружи здания на воздухе в земле
Круглые токоотводы и перемычки диаметром, мм   -
Круглые вертикальные электроды диаметром, мм -  
Круглые горизонтальные электроды диаметром, мм* -  
Прямоугольные (из квадратной и полосовой стали):    
площадь сечения, мм2    
толщина, мм    
Из угловой стали:    
площадь сечения, мм2 -  
толщина, мм -  
Трубы стальные с толщиной стенок, мм - 3,5

____________

* Применяются только для углубления заземлителей и выравнивания потенциалов внутри зданий.

Приложение 2

(к главе XI)

Рис. 1 (к пп. 6.1, 6.4). Отдельно стоящий стержневой молниеотвод:

l - протяженность токопровода от точки А до заземлителя; Sв - наименьшее допустимое расстояние до защищаемого сооружения; Sз - наименьшее допустимое расстояние от заземлителя до металлических коммуникаций; 1 - защищаемое сооружение; 2 - металлические коммуникации

Рис. 2 (к пп. 6.1, 6.3, 6.4). Отдельно стоящий тросовый молниеотвод:

L - расстояние между молниеотводами; L1, L3 - протяженность токопроводов; L2 - высота защищаемого сооружения; Sв1, Sв2 - наименьшие допустимые расстояния от тросового молниеотвода соответственно в точках А и С до защищаемого сооружения; Sз - наименьшее допустимое расстояние от заземления до металлических коммуникаций; 1 - защищаемое сооружение; 2 - металлические коммуникации

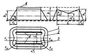
Рис. 3 (к пп. 6.3, 11.14). Наименьшие допустимые расстояния от стержневого молниеотвода до защищаемого сооружения

Рис. 4 (к п. 6.3). Наименьшие допустимые расстояния от троса в середине пролета до защищаемого сооружения

Рис. 5 (к п. 6.3). Наименьшие допустимые расстояния от молниеотвода до защищаемого сооружения

Рис. 6 (к п. 6.8). Схема защиты от заноса высоких потенциалов в хранилище

Рис. 7 (к п. 7.1). Схема зоны зашиты одиночного стержневого молниеотвода:

1, 2 - границы зоны защиты на уровнях земли и высоты защищаемого сооружения соответственно

Рис. 8 (к п. 7.2.1). Схема зоны защиты двойного стержневого молниеотвода:

1, 2, 3 - границы зоны защиты на уровнях земли и высоты защищаемого сооружения соответственно

Рис. 9 (к п. 7.2.2). Схема зоны защиты двух стержневых молниеотводов разной высоты:

1, 2 - границы зон защиты на уровнях земли и высоты защищаемого сооружения соответственно

Рис. 10 (к п. 7.3.1). Схема зоны защиты (в плане) многократно стержневого молниеотвода:

L1, L2, L3 - расстояния между молниеотводами; 1, 2 - граница зон защиты на уровнях земли и высоты защищаемого сооружения соответственно

Рис. 11 (к п. 7.4.1). Схема зоны защиты одиночного тросового молниеотвода:

1, 2 - границы зон защиты на уровне земли и высоты защищаемого сооружения соответственно; 3 - трос

Рис. 12 (к п. 7.5.1). Схема зоны защиты двойного тросового молниеотвода:

1, 2, 3 - границы зон защиты на уровнях земли и высот защищаемого сооружения соответственно; 4 - трос

Рис. 13 (к пп. 8.1.1, 8.1.3). Устройство стержневых молниеотводов на деревянных опорах:

а - двух; б - одной

Рис. 14 (к п. 8.1.5). Конструкции молниеприемников из круглой стали (а, б), стальной трубы (в), полосовой стали (г), угловой стали (д):

1 - токоотвод

Рис. 15 (к п. 8.1.7). Зажим для присоединения плоского (а) и круглого (б) токоотводов к металлической кровле:

1 - токоотвод; 2 - кровля; 3 - свинцовая прокладка; 4 - стальная пластина; 5 - пластина с приваренным токоотводом

Рис. 16 (к п. 11.11). Двухлучевая (а) и однолучевая (б) схемы расположения электродов при измерении сопротивлений сложных заземлений и одиночных горизонтальных полос:

П - потенциальный электрод; Т - токовый электрод

Рис. 17 (к п. 11.12). Схема измерения сопротивления заземлителей способом трех измерений

Рис. 18 (к п. 11.14). Схема к примеру расчета молниезащиты хранилища взрывчатых материалов:

1, 2 - заземлители вторичного воздействия и молниеотвода соответственно; 3, 4 - границы зон защиты на уровнях высоты защищенного сооружения и земли соответственно


Приложение 3

(к п. 9 главы I)

 

Форма

ЖУРНАЛ УЧЕТА ИСПЫТАНИЙ ВЗРЫВЧАТЫХ МАТЕРИАЛОВ*

___________________________________________________________________________

[наименование склада организации (шахты, рудника, карьера и т.п.)]







Date: 2015-07-10; view: 515; Нарушение авторских прав



mydocx.ru - 2015-2026 year. (1.208 sec.) Все материалы представленные на сайте исключительно с целью ознакомления читателями и не преследуют коммерческих целей или нарушение авторских прав - Пожаловаться на публикацию