Главная Случайная страница


Полезное:

Как сделать разговор полезным и приятным Как сделать объемную звезду своими руками Как сделать то, что делать не хочется? Как сделать погремушку Как сделать так чтобы женщины сами знакомились с вами Как сделать идею коммерческой Как сделать хорошую растяжку ног? Как сделать наш разум здоровым? Как сделать, чтобы люди обманывали меньше Вопрос 4. Как сделать так, чтобы вас уважали и ценили? Как сделать лучше себе и другим людям Как сделать свидание интересным?


Категории:

АрхитектураАстрономияБиологияГеографияГеологияИнформатикаИскусствоИсторияКулинарияКультураМаркетингМатематикаМедицинаМенеджментОхрана трудаПравоПроизводствоПсихологияРелигияСоциологияСпортТехникаФизикаФилософияХимияЭкологияЭкономикаЭлектроника






Решение. 1 Из таблицы В.1 приложения В выписывают значения наружной освещенности в течение дня для сентября





1 Из таблицы В.1 приложения В выписывают значения наружной освещенности в течение дня для сентября. Последовательно подставляя значения Е г ° в формулу (15), получают значения естественной освещенности в заданных точках Е г А , Е г Б , Е г В . Результаты расчета записывают в таблицу 14.

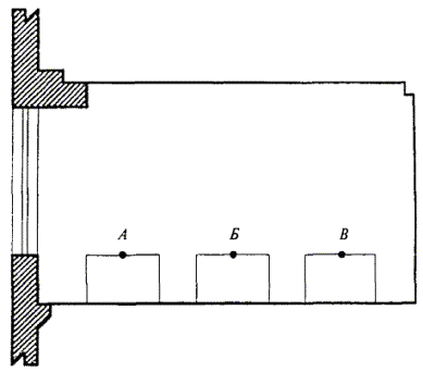
А, Б, В - Расчетные точки

Рисунок 27 - Схематический поперечный разрез школьного класса

Примечание - Учитывая, что в таблице В.1 приложения В для 50° с. ш. наружная освещенность не приведена, находят требуемое значение наружной освещенности методом линейной интерполяции.

Таблица 14

Время суток (местное солнечное время) Наружная горизонтальная освещенность Е г °, лк Естественная освещенность в точках класса, лк
Е г А Е г Б Е г В
         
         
         
         
         
         
         

2 По данным таблицы 14 строят график рисунка 28, для этого проводят горизонталь через точку оси ординат, которой соответствует освещенность 300 лк, до пересечения с кривыми освещенности Е г А , Е г Б , Е г В (кривые 1, 2, 3).

3 Проектируют точки пересечения горизонтали с кривыми на ось абсцисс; время использования естественного освещения в точке А определяют из соотношения:

t 2 - t 1 = 14 ч 00 мин - 8 ч 20 мин = 5 ч 40 мин.

Из рисунка 28 следует, что в точках Б и В при сплошной облачности осенью необходимо иметь постоянное дополнительное искусствен ное освещение, так как в течение всего дня на втором и третьем рядах парт естественная освещенность ниже нормированного значения.

1 - в точке А; 2 - в точке Б; 3 - в точке В

Рисунок 28 - График изменения естественной освещенности в трех расчетных точках школьного класса в течение рабочего дня







Date: 2015-07-10; view: 362; Нарушение авторских прав



mydocx.ru - 2015-2026 year. (1.274 sec.) Все материалы представленные на сайте исключительно с целью ознакомления читателями и не преследуют коммерческих целей или нарушение авторских прав - Пожаловаться на публикацию