Главная Случайная страница


Полезное:

Как сделать разговор полезным и приятным Как сделать объемную звезду своими руками Как сделать то, что делать не хочется? Как сделать погремушку Как сделать так чтобы женщины сами знакомились с вами Как сделать идею коммерческой Как сделать хорошую растяжку ног? Как сделать наш разум здоровым? Как сделать, чтобы люди обманывали меньше Вопрос 4. Как сделать так, чтобы вас уважали и ценили? Как сделать лучше себе и другим людям Как сделать свидание интересным?


Категории:

АрхитектураАстрономияБиологияГеографияГеологияИнформатикаИскусствоИсторияКулинарияКультураМаркетингМатематикаМедицинаМенеджментОхрана трудаПравоПроизводствоПсихологияРелигияСоциологияСпортТехникаФизикаФилософияХимияЭкологияЭкономикаЭлектроника






Определение элементов корпуса





К корпусным деталям относят детали, обеспечивающие взаимное расположение деталей узла и воспринимающие основные силы, действующие в машине или в механизме. Так же корпуса защищают детали и узлы от загрязнения, и является емкостью для жидкой смазки.

Корпусные детали обычно имеют довольно сложную форму, поэтому их изготавливаем литьем. Для изготовления корпусных деталей используем серый чугун СЧ 15-32. Корпусная деталь состоит из стенок, ребер, бобышек, фланцев и других элементов, соединенных в единое целое.

При конструировании литой корпусной детали стенки следует по возможности выполнять одинаковой толщины. Толщина стенки, обеспечивающая необходимую прочность и жесткость, а так же хорошее заполнение формы жидким металлом:

 

,

 

принимаем мм.

где – вращающий момент на выходном (тихоходном) валу, Н∙м.

Толщина стенки крышки:

.

принимаем мм.

Радиусы сопряжений стенок (для α = 90º) по табл. 11.1. Размеры элементов сопряжения стенок разной толщины в табл. 11.2. Размеры посадочных мест под крепежные детали даны в табл. 11.3.Таблица 11.1 Радиусы сопряжений, мм

 

Таблица 11.2 Размеры элементов сопряжения стенок разной толщины, мм

 

Таблица 11.3 Размеры посадочных мест под крепежные детали, мм

 

Размеры фланцев для крепления корпуса к раме (фундаменту) и крепления крышки к корпусу даны в таблице 11.4.Таблица 11.4 Размеры фланцев корпуса и крышки редуктора, мм

Фланцы для крепления к фундаменту
Диаметр болта крепления к раме d1  
Толщина фланца  
Ширина фланца S1  
Фланцы корпуса и крышки в районе подшипниковых узлов
Диаметр болта крепления крышки к корпусу d2  
Ширина фланца S2  
       

 


 

Фланцы корпуса и крышки
Диаметр болта крепления к раме d3  
Толщина фланца корпуса  
Толщина фланца крышки  
Ширина фланца S3  

 

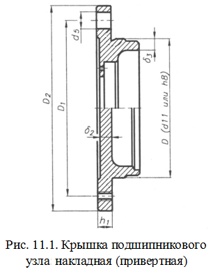
Конструкция и размеры крышек подшипниковых узлов (рис. 11.1) даны в таблице 11.5.

 

Таблица 11.5 Основные размеры крышек подшипниковых узлов, мм

D Болт крепления крышки Кол-во болтов z Диаметр отверстия d5 Толщина фланца h1 Толщина стенки δ2
  М12        
  М8        
  М10        
Диаметр установки болтов D1  
-ведомый вал  
-ведомый вал  
-ведущий вал  
Наружный диаметр фланца D2  
-ведомый вал  
-ведомый вал  
-ведущий вал  
Толщина цилиндрической части крышки δ3  
-ведомый вал  
-ведомый вал  
-ведущий вал  
             

 


 

 

 

В конструкции корпуса и крышки необходимо предусмотреть возможность строповки с помощью проушин.

Для периодического осмотра состояния червячного зацепления в крышке корпуса необходимо предусмотреть смотровой люк (табл. 11.6). Его же используют для заливки масла. На люке устанавливается отдушина (рис. 11.2) для компенсации давления при нагреве редуктора.

Для контроля уровня масла необходим маслоуказатель (рис. 11.3).

Для слива масла используют сливное отверстие (рис. 11.4), в нижней части боковой стенки.

 

 


Таблица 11.6 Крышка смотрового люка, мм

A A1 A2 A3 B B1 B2 d4
 
            М6






Date: 2015-07-01; view: 614; Нарушение авторских прав



mydocx.ru - 2015-2026 year. (2.236 sec.) Все материалы представленные на сайте исключительно с целью ознакомления читателями и не преследуют коммерческих целей или нарушение авторских прав - Пожаловаться на публикацию