Главная Случайная страница


Полезное:

Как сделать разговор полезным и приятным Как сделать объемную звезду своими руками Как сделать то, что делать не хочется? Как сделать погремушку Как сделать так чтобы женщины сами знакомились с вами Как сделать идею коммерческой Как сделать хорошую растяжку ног? Как сделать наш разум здоровым? Как сделать, чтобы люди обманывали меньше Вопрос 4. Как сделать так, чтобы вас уважали и ценили? Как сделать лучше себе и другим людям Как сделать свидание интересным?


Категории:

АрхитектураАстрономияБиологияГеографияГеологияИнформатикаИскусствоИсторияКулинарияКультураМаркетингМатематикаМедицинаМенеджментОхрана трудаПравоПроизводствоПсихологияРелигияСоциологияСпортТехникаФизикаФилософияХимияЭкологияЭкономикаЭлектроника






Какой из методов усиления фундаментов позволяет проводить работы без разработки котлованов и траншей, без нарушения структуры основания





а) усиление фундамента путем подведения фундаментной плиты

б) усиление фундамента с помощью железобетонных обойм

в) усиление фундамента с помощью выносных буронабивных и вдавливаемых свай

58. Определите метод усиления фундаментов, указанный на рисунке:

а) устройство железобетонных обойм

б) устройство приливов из монолитного железобетона

в) устройство приливов из сборного железобетона с обжатием грунта основания

г) устройство выносных опор

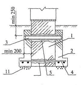
59. На рисунке представлен способ усиления фундамента путем «пересадки» существующего фундамента на выносные сваи. Установите соответствие между номером элемента и его названием


а) сваи, работающие на вдавливание  
б) существующий фундамент  
в) сваи, работающие на выдергивание  
г) монолитный железобетонный ростверк  
д) система разгрузочных и опорных металлических балок  

60. Определите метод усиления фундаментов, указанный на рисунке:

а) устройство железобетонных обойм

б) устройство приливов из монолитного железобетона

в) устройство приливов из сборного железобетона с обжатием грунта основания

г) устройство выносных опор

61. Определите верную последовательность выполнения работ по укреплению фундаментов железобетонными обоймами: В-А-Б-Г-Д

а ) просверливание отверстий для арматуры, пропускаемой сквозь фундамент

б) тщательная очистка поверхности фундамента

в) отрывка траншеи по обеим сторонам фундамента

г) установка арматурных каркасов и инвентарной опалубки

д) омоноличивание бетоном

62. С какой целью перед началом работ по усилению фундаментов производят их разгрузку?

а) обеспечение устойчивости здания и предохранение конструкций от возможных деформаций

б) предотвращение деформаций грунтов основания

в) передача нагрузки на нижележащие слои грунта

г) обеспечение прочности фундаментов

63. Повышение несущей способности оснований можно осуществить следующими методами:

а) химическими

б) термическими

в) физико-механическими

г) всеми перечисленными

64. К физико-механическим методам повышения несущей способности оснований относятся:

а) термозакрепление

б) устройство буронабивных свай

в) силикатизация

г) цементация

65. Метод усиления фундаментов путем устройства приливов из монолитного железобетона называется:

а) укрепление кладки фундамента без уширения подошвы

б) увеличение опорной площади фундамента

в) передача нагрузки на нижележащие слои грунта

г) углубление фундаментов

66. Определите метод усиления фундаментов, указанный на рисунке:


а) устройство железобетонных обойм

б) устройство приливов из монолитного железобетона

в) устройство приливов из сборного железобетона с обжатием грунта основания

г) устройство выносных опор

67. Определите метод усиления фундаментов, указанный на рисунке:


а) устройство железобетонных обойм

б) устройство приливов из монолитного железобетона

в) устройство приливов из сборных железобетонных элементов с обжатием грунта основания

г) устройство выносных опор

 

68. Метод усиления фундаментов путем устройства железобетонных обойм называется:

а) укрепление кладки фундамента без уширения подошвы

б) увеличение опорной площади фундамента

в) передача нагрузки на нижележащие слои грунта

г) углубление фундаментов

69. Метод усиления фундаментов путем вновь устраиваемых свай называется:

а) укрепление кладки фундамента без уширения подошвы

б) увеличение опорной площади фундамента

в) передача нагрузки на нижележащие слои грунта

г) углубление фундаментов

70. Проектные решения по усилению конструктивных элементов зданий должны удовлетворять следующим условиям:

а) экономической целесообразности

б) технологической пригодности

в) соответствия объемно-планировочному решению здания

г) всем перечисленным условиям

71. Определите верную последовательность выполнения работ по усилению фундаментов путем увеличения опорной площади фундаментов с помощью приливов из монолитного железобетона:

а) очистка поверхности фундамента от грязи, продувка струей сжатого воздуха, смачивание водой

б) обнажение фундамента с обеих сторон отдельными участками

в) уплотнение грунта основания в местах расположения приливов

г) пробивка отверстий для пропуска металлических балок и арматурных элементов

д) установка арматуры, опалубки

е) укладка бетона

72. Какими способами возможно восстановление гидроизоляции фундаментов?


а) электротермический способ

б) выштрабовыванием

в) химико-инъекционные методы

г) всеми перечисленными

73. Какими из методов обеспечивается устойчивость здания и предохранение конструкций от возможных деформаций перед началом работ по усилению фундаментов?

а) устройство временных деревянных опор

б) устройство железобетонных обойм

в) подводка новых фундаментов

г) устройство рандбалок

74. Усиление простенков каменных стен обоймами производится в следующих случаях:

а) несоответствие несущей способности стены фактической нагрузке или ее возможному увеличению

б) недостаточный уровень теплозащиты

в) неравномерная осадка оснований под фундаментами

г) несущая способность кладки достаточна, но ослабление кладки превышает 1/3 первоначального сечения

75. Повышение пространственной жесткости здания возможно:

а) заделкой трещин

б) устройством напряженных поясов по периметру здания

в) скреплением разрывов кладки путем устройства местных стальных накладок

г) перекладкой отдельных участков стен

76. Выбор методов усиления стен зданий зависит от следующих факторов:

а) величины нагрузки на стены и ее возможного увеличения

б) технического состояния стен здания и фундаментов

в) недостаточного уровня теплозащиты

г) вида грунтов основания

77. Какой из методов восстановления несущей способности простенков и усиления кладки стен зданий рекомендуется в качестве основного?

а) перекладка отдельных участков кирпичных стен

б) заделка трещин инъецированием

в) применение обойм

г) устройство армокирпичных поясов

78. В реконструируемых зданиях, имеющих сложную конфигурацию, при смене перекрытий целесообразно принимать следующее конструктивное решение:

а) устройство перекрытий из сборных железобетонных элементов

б) устройство монолитных железобетонных перекрытий

в) устройство перекрытий по деревянным балкам

г) все перечисленные конструктивные решения

79. Усиление существующих железобетонных перекрытий из плит может производиться:

а) методом наращивания сечения

б) путем установки затяжек из арматурной стали

в) путем установки концевых протезов

г) всеми перечисленными методами и способами

80. Усиление существующих железобетонных перекрытий путем установки шпренгельных затяжек относится к следующей группе методов:

а) увеличение несущей способности конструкций с изменением расчетной схемы

б) разгрузка конструкции

в) увеличение несущей способности конструкций без изменения расчетной схемы и напряженного состояния

г) увеличение несущей способности конструкций с изменением напряженного состояния конструкции

81. Усиление существующих железобетонных плит перекрытий методом, указанным на рисунке относится к следующей группе методов:

 

а) увеличение несущей способности конструкций с изменением расчетной схемы

б) разгрузка конструкции

в) увеличение несущей способности конструкций без изменения расчетной схемы и напряженного состояния

г) увеличение несущей способности конструкций с изменением напряженного состояния конструкции

82. В каком случае при реконструкции в зданиях с каменными стенами, фундаментами и деревянными конструкциями перекрытия целесообразно заменять такие перекрытия на железобетонные?


а) износ стен и фундаментов незначителен

б) износ стен и фундаментов значителен

в) в любом случае целесообразно заменить

83. Определите метод усиления стропильной ноги:


а) усиление накладками

б) усиление прутковыми протезами

в) наложение бандажей

г) превращение конструкции в шпренгельную систему

84. Определите метод усиления деревянной балки:

а) усиление прутковыми протезами

б) превращение балки в шпренгельную систему

в) усиление накладками

г)наложение бандажей

85. Усиление существующих железобетонных балок перекрытий может производиться:

а) методом наращивания снизу

б) устройством ж/б обоймы

в) путем установки внешней листовой арматуры на полимеррастворе

г) всеми перечисленными методами и способами

86. Локальная перекладка участка кирпичной стены производится в следующих случаях:

а) несущая способность стены достаточна, состояние кладки работоспособное.

б) несущая способность стены достаточна, но ослабление кладки превышает 1/3 первоначального сечения, наблюдаются расслоение кладки, состояние кладки ограниченно работоспособное.

в) наблюдаются значительные сквозные трещины в наружных стенах здания на всю высоту здания

г) несущая способность кладки недостаточна. Техническое состояние кладки аварийное.

87. Метод усиления конструкции путем устройства шпренгельных затяжек рекомендуется для:

а) усиления фундаментов

б) усиления железобетонных балок и плит перекрытий

в) усиления железобетонных колонн

г) усиления кирпичных стен

88. Определите метод усиления балки перекрытия:


а) усиление накладками

б) усиление прутковыми протезами

в) наложение бандажей

89. Усиление существующих железобетонных перекрытий композитными материалами относится к следующей группе методов:

а) увеличение несущей способности конструкций с изменением расчетной схемы

б) разгрузка конструкции

в) увеличение несущей способности конструкций без изменения расчетной схемы и напряженного состояния

г) увеличение несущей способности конструкций с изменением напряженного состояния конструкции

90. Определите метод восстановления и усиления балконной плиты:


а) ремонт без усиления конструкции

б) ремонт с усилением несущей конструкции

в) усиление заделки консолей, плит

г) замена всей конструкции

91. Установите соответствие между цифрами, указанными на рисунке п.1 и названиями элементов:

а) стена

б) арматурная сетка

в) балконная плита

г) временные подпорки

92. Определите метод восстановления и усиления балконной плиты:

а) ремонт без усиления конструкции

б) ремонт с усилением несущей конструкции

в) усиление заделки консолей

г) замена всей конструкции

93. Установите соответствие между цифрами, указанными на рисунке п.3 и названиями элементов:

а) ребро жесткости

б) балконная плита


в) опорный столик

94. К какому виду реконструктивных работ относится устройство на крыше рекреационных пространств?

а) надстройка зданий

б) пристройка зданий

в) перемещение зданий

95. К какому виду реконструктивных работ относится устройство мансард?

а) надстройка зданий

б) пристройка зданий

в) перемещение зданий







Date: 2015-07-17; view: 1611; Нарушение авторских прав



mydocx.ru - 2015-2026 year. (0.778 sec.) Все материалы представленные на сайте исключительно с целью ознакомления читателями и не преследуют коммерческих целей или нарушение авторских прав - Пожаловаться на публикацию