Главная Случайная страница


Полезное:

Как сделать разговор полезным и приятным Как сделать объемную звезду своими руками Как сделать то, что делать не хочется? Как сделать погремушку Как сделать так чтобы женщины сами знакомились с вами Как сделать идею коммерческой Как сделать хорошую растяжку ног? Как сделать наш разум здоровым? Как сделать, чтобы люди обманывали меньше Вопрос 4. Как сделать так, чтобы вас уважали и ценили? Как сделать лучше себе и другим людям Как сделать свидание интересным?


Категории:

АрхитектураАстрономияБиологияГеографияГеологияИнформатикаИскусствоИсторияКулинарияКультураМаркетингМатематикаМедицинаМенеджментОхрана трудаПравоПроизводствоПсихологияРелигияСоциологияСпортТехникаФизикаФилософияХимияЭкологияЭкономикаЭлектроника






Система охлаждения двигателя ТНВД 3371-20.03





Система охлаждения предназначена для обеспечения оптимального теплового режима работы двигателя. Система охлаждения двигателя жидкостная, закрытого типа, с принудительной циркуляцией охлаждающей жидкости. К основным агрегатам и узлам системы охлаждения относятся: радиатор, вентилятор с вязкостной муфтой привода, кожух вентилятора, обечайка вентилятора, корпус водяных каналов, водяной насос, термостаты, каналы и соединительные трубопроводы для прохода охлаждающей жидкости.

рис.1

Схема системы охлаждения (рис.1): 1 — расширительный бачок; 2 — пароотводящая трубка; 3 — трубка отвода жидкости из компрессора; 4 — канал выхода жидкости из правого ряда головок цилиндров; 5 — соединительный канал; 6 — канал выхода жидкости из левого ряда головок цилиндров; 7 — входная полость водяного насоса; 8 — водяной насос; 9 — канал входа жидкости в левый ряд гильз цилиндров;10 — канал подвода жидкости в водяной насос из радиатора; 11 — выходная полость водяного насоса; 12 — соединительный канал; 13 — перепускной канал из водяной коробки на вход водяного насоса; 14 — канал входа жидкости в правый ряд гильз цилиндров; 15 — канал отвода жидкости в теплообменник масляный; 16 — теплообменник масляный; 17 — водяная коробка; 18 — трубка подвода жидкости в компрессор; 19 — перепускная труба.

 

Во время работы двигателя циркуляция охлаждающей жидкости в системе создается водяным насосом.Охлаждающая жидкость из насоса нагнетается в полость охлаждения левого ряда цилиндров через канал (9) и через канал (14) - в полость охлаждения правого ряда цилиндров. Омывая наружные поверхности гильз цилиндров, охлаждающая жидкость через отверстия в верхних привалочных плоскостях блока цилиндров поступает в полости охлаждения головок цилиндров.
Из головок цилиндров нагретая жидкость по каналам (4), (5) и (6) поступает в водяную коробку корпуса водяных каналов, из которой, в зависимости от температуры, направляется в радиатор или на вход насоса. Часть жидкости, отводится по каналу в масляный теплообменник, где происходит передача тепла от масла в охлаждающую жидкость. Из теплообменника охлаждающая жидкость направляется в водяную рубашку блока цилиндров в зоне расположения четвертого цилиндра.

Тепловой режим двигателя регулируется автоматически:

•двумя термостатами, которые управляют направлением потока жидкости в зависимости от температуры охлаждающей жидкости на выходе из двигателя. Номинальная температура охлаждающей жидкости на выходе из двигателя должна находиться в пределах 85...90 °С.

• вязкостной муфтой привода вентилятора в зависимости от температуры воздуха на выходе из радиатора ОНВ.

 

Корпус водяных каналов отлит из чугунного сплава и закреплен болтами на переднем торце блока цилиндров. В корпусе водяных каналов отлиты входная и выходная полости водяного насоса, соединительные каналы (5) и (12), каналы (9) и (14), подводящие охлаждающую жидкость в блок цилиндров, каналы (4) и (6), отводящие охлаждающую жидкость из головок цилиндров, перепускной канал (13), канал (15) отвода в масляный теплообменник, полости водяной коробки (17) для установки термостатов, канал (10) подвода охлаждающей жидкости в водяной насос из радиатора.

Радиатор (автомобилей КАМАЗ) медно-паяный, для повышения теплоотдачи охлаждающие ленты выполнены с жалюзийными просечками, крепится боковыми кронштейнами через резиновые подушки к лонжеронам рамы, а верхней тягой к объединительному воздушному коллектору

 

рис.2

Насос водяной (рис.2): 1 — корпус; 2 — сальник; 3 — крыльчатка; манжета уплотнительная; 5 — кольцо скольжения; 6 — подшипник радиальный шарико-роликовый с валиком; 7 — шкив; 8 — кольцо упорное.

 

 

Насос водяной центробежного типа, установлен на корпусе водяных каналов. В корпус запрессован радиальный двухрядный шарико-роликовый подшипник с валиком. С обеих сторон торцы подшипника защищены резиновыми уплотнениями. Упорное кольцо препятствует перемещению наружной обоймы подшипника в осевом направлении. На концы валика подшипника напрессованы крыльчатка и шкив. Сальник запрессован в корпус насоса, а его кольцо скольжения постоянно прижато пружиной к кольцу скольжения, которое вставлено в крыльчатку через резиновую манжету.В корпусе водяного насоса между подшипником и сальником выполнено два отверстия: нижнее и верхнее. Верхнее отверстие служит для вентиляции полости между подшипником и сальником, а нижнее - для контроля исправности торцового уплотнения.


рис.3

 

Сальник водяного насоса (рис.3): 1 — корпус наружный; 2 — манжета; 3 — пружина; 4 — внутренний каркас; 5 — наружный каркас; 6 — кольцо скольжения.

Сальник водяного насоса состоит из латунного наружного корпуса, в который вставлена резиновая манжета. Внутри манжеты размещена пружина с внутренним и наружным каркасами. Пружина поджимает кольцо скольжения. Кольцо скольже­ния изготовлено из графито-свинцового твердо-прессованного антифрикционного материала.

 

рис.4

Вентилятор с муфтой привода (рис.4): 1 — вентилятор; 2 — муфта; 3 - ступица; 4 — термобиметаллическая спираль.

 

Девятилопастной вентилятор 1 диаметром 710 мм изготовлен из стеклонаполненногополиамида, ступица вентилятора - металлическая. Для привода вентилятора применяется автоматически включаемая муфта вязкостного типа, которая крепится к ступице вентилятора.Принцип работы муфты основан на вязкостном трении жидкости в небольших зазорах между ведомой и ведущей частями муфты. В качестве рабочей жидкости используется силиконовая жидкость с высокой вязкостью.Муфта вязкостная неразборная и не требует технического обслуживания в эксплуатации. Включение муфты происходит при повышении температуры воздуха на выходе из радиатора до 61...67 °С. Управляет работой муфты термобиметаллическая спираль.Вентилятор размещен в неподвижной кольцевой обечайке, жестко прикрепленной к двигателю. Кожух вентилятора, обечайка вентилятора способствуют увеличению расхода потока воздуха нагнетаемого вентилятором через радиатор. Кожух вентилятора и обечайка вентилятора соединены кольцевым резиновым уплотнителем П-образного сечения.

 

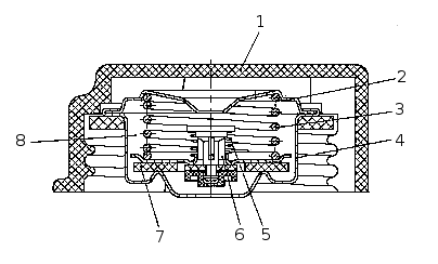
рис.5

Термостаты (рис.5): 1 — датчик указателя температуры; 2 — датчик сигнализатора аварийного перегрева; 3 — канал выхода жидкости из двигателя; 4 — канал перепуска жидкости на вход водяного насоса; 5 — коробка водяная; 6 — перепускной клапан; 7 — пружина перепускного клапана; 8 — резиновая вставка; 9 — наполнитель; 10 — баллон; 11 — пружина основного клапана; 12 — основной клапан; 13 — поршень; 14 — корпус; 15 — патрубок водяной; 16 — прокладка.

Термостаты позволяют ускорить прогрев холодного двигателя и поддерживать температуру охлаждающей жидкости не ниже 75 °С путем изменения ее расхода через радиатор. В водяной коробке корпуса водяных каналов установлено параллельно два термостата с температурой начала открытия (80±2) °С.

При температуре охлаждающей жидкости ниже 80 °С, основной клапан прижимается к седлу корпуса пружиной и перекрывает проход охлаждающей жидкости в радиатор. Перепускной клапан открыт и соединяет водяную коробку корпуса водяных каналов по перепускному каналу с входом водяного насоса.

При температуре охлаждающей жидкости выше 80 °С, наполнитель, находящийся в баллоне, начинает плавиться, увеличиваясь в объеме. Наполнитель состоит из смеси 60 % церезина (нефтяного воска) и 40 % алюминиевой пудры. Давление от расширяющегося наполнителя через резиновую вставку передается на поршень, который, выдавливаясь наружу, перемещает баллон с основным клапаном, сжимая пружину. Между корпусом и клапаном открывается кольцевой проход для охлаждающей жидкости в радиатор. При температуре охлаждающей жидкости 93 °С происходит полное открытие термостата, клапан поднимается на высоту не менее 8,5 мм.


Одновременно с открытием основного клапана вместе с баллоном перемещается перепускной клапан, который перекрывает отверстие в водяной коробке корпуса водяных каналов, соединяющее ее с входом водяного насоса.

При понижении температуры охлаждающей жидкости до 80 °С и ниже, под действием пружин и происходит возврат клапанов (6) и (12) в исходное положение.

Для контроля температуры охлаждающей жидкости, на водяной коробке корпуса водяных каналов установлено два датчика температуры (1) и (2.) Датчик (1) выдает показания текущего значения температуры на щиток приборов, датчик (2) служит сигнализатором перегрева охлаждающей жидкости. При повышении температуры до 98 - 104 °С на щитке приборов загорается контрольная лампа аварийного перегрева охлаждающей жидкости.

 

рис.6

Пробка расширительного бачка (рис.6): 1 — корпус пробки; 2 — тарелка пружины выпускного клапана; 3 — пружина выпускного клапана; 4 — седло выпускного клапана; 5 — пружина клапана впускного; 6 — клапан впускной в сборе; 7 — прокладка выпускного клапана; 8 — блок клапанов.

Расширительный бачок (рис.1) (1) установлен на двигателе автомобилей КАМАЗ с правой стороны по ходу автомобиля. Расширительный бачок соединен перепускной трубой (19) с входной полостью водяного насоса (13), пароотводящей трубкой (2) с верхним бачком радиатора и с трубкой отвода жидкости из компрессора (3).

Расширительный бачок служит для компенсации изменения объема охлаждающей жидкости при ее расширении от нагрева, а также позволяет контролировать степень заполнения системы охлаждения и способствует удалению из нее воздуха и пара.

Расширительный бачок изготовлен из полупрозрачного сополимера пропилена. На горловину бачка навинчивается пробка расширительного бачка (рис.6) с клапанами впускным (воздушным) и выпускным (паровым). Выпускной и впускной клапаны объединены в блок клапанов. Блок клапанов неразборный. Выпускной клапан, нагруженный пружиной (3), поддерживает в системе охлаждения избыточное давление 65 кПа (0,65 кгс/см2), впускной клапан, нагруженный более слабой пружиной(5), препятствует созданию в системе разряжения при остывании двигателя.

Впускной клапан открывается и сообщает систему охлаждения с окружающей средой при разряжении в системе охлаждения 1...13 кПа (0,01...0,13 кгс/см2).

Заправка двигателя охлаждающей жидкостью производится через заливную горловину расширительного бачка. Перед заполнением системы охлаждения надо предварительно открыть кран системы отопления.

Для слива охлаждающей жидкости следует открыть сливные краны теплообменника и насосного агрегата предпускового подогревателя, отвернуть пробки на нижнем бачке радиатора и расширительного бачка.







Date: 2015-07-17; view: 586; Нарушение авторских прав



mydocx.ru - 2015-2026 year. (1.018 sec.) Все материалы представленные на сайте исключительно с целью ознакомления читателями и не преследуют коммерческих целей или нарушение авторских прав - Пожаловаться на публикацию