Главная Случайная страница


Полезное:

Как сделать разговор полезным и приятным Как сделать объемную звезду своими руками Как сделать то, что делать не хочется? Как сделать погремушку Как сделать так чтобы женщины сами знакомились с вами Как сделать идею коммерческой Как сделать хорошую растяжку ног? Как сделать наш разум здоровым? Как сделать, чтобы люди обманывали меньше Вопрос 4. Как сделать так, чтобы вас уважали и ценили? Как сделать лучше себе и другим людям Как сделать свидание интересным?


Категории:

АрхитектураАстрономияБиологияГеографияГеологияИнформатикаИскусствоИсторияКулинарияКультураМаркетингМатематикаМедицинаМенеджментОхрана трудаПравоПроизводствоПсихологияРелигияСоциологияСпортТехникаФизикаФилософияХимияЭкологияЭкономикаЭлектроника






Усиление балки настила





 

Исходные данные

-балки настила – прокатные, 23Б1

-пролет балки настила lбн=5,5 м

-статическая схема – однопролетная, шарнирноопертая;

- коэффициент условий работы γс=1,

-коэффициент надежности по ответственности γn=1

- материал балки – сталь С245 (Ry=240 H/мм2)

Проверка прочности балки настила с учетом увеличения нагрузки:

Так как зависимость изгибающего момента М и перерезывающей силы Q от внешней нагрузки q прямо пропорционально, то увеличиваем момент Мmax и Qmax на 43 % (по заданию) и делаем проверку несущей способности.

1. Проверка на прочность

 

Mmax=56.83*1.43=81.25 кНм

 

2. Проверка на общую устойчивость

Общая устойчивость балки обеспечивается плоским стальным настилом, передающим нагрузку на балку, опирающимся на ее сжатый пояс и приваренным к нему непрерывным швом.

3. Проверка на местную устойчивость

Местная устойчивость прокатных балок не проверяется

4. Проверка на жесткость

 

M n, max= 48.97*1.43=70.03

 

 

Вывод: проверки на прочность и жесткость не удовлетворяют условиям, необходимо выполнить усиление.

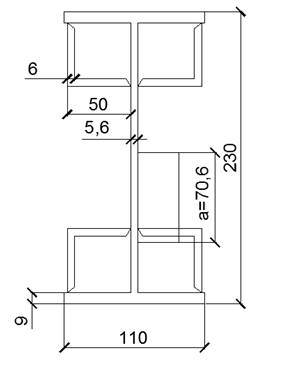
Вариантом усиления принимаю увеличение рабочего сечения путем приваривания 4 уголков с размером полки b=5 cм, толщиной 6 мм, площадью 5,69 см2.

Параметры усиленного сечения.

 

a=11.5-5-0.9+1.46=7.06 cм

 

I=I1+A*a2=2996+4*5.69*7.062=4130 cм4

 

Проверка на прочность нового сечения.

 

условие выполняется

Запас прочности 5,74 %

Проверка на жесткость нового сечения.

 

 

2.59<2.83

Усл. выполняется

 

 

Вывод: все проверки выполняются данное усиление может применяться

 

 

Рисунок 1 – Исходная эпюра М

Рисунок 2 – Эпюра М от нагрузки увеличенной на 43 % от исходной.

Рисунок 3 – расчетная схема шарнирной балки

Рисунок 4 – сечение балки до усиления

 

Рисунок 5 – сечение балки после усиления

Единицы измеpения усилий: кН

Единицы измеpения напpяжений: кН/м**2

Единицы измеpения моментов: кН*м

Единицы измеpения pаспpеделенных моментов: кН*м/м

Единицы измеpения pаспpеделенных пеpеpезывающих сил: кН/м

Единицы измеpения пеpемещений повеpхностей в элементах: м

 

Используемые обозначения для загружений:

S1,S2,... - расчетные значения

SD - амплитуда суммарной динамической составляющей нагрузки

ST - шаг нелинейного нагружения

Разработан SCAD Soft

Mon Apr 21 20:16:10 2014 12 основная сxема 6.0001

----------------------------------------------------------------------------------------------------

| У С И Л И Я /НАПРЯЖЕНИЯ/ В ЭЛЕМЕНТАХ |

----------------------------------------------------------------------------------------------------

| 002_ 1-1 1-2 1-3 |

| 1 1 1 |

| 2 2 2 |

----------------------------------------------------------------------------------------------------

|1 - "1" |

| M 56.8321 |

| Q 41.3325 -41.3325 |

|2 - "2" |

| M 70.0287 |

| Q 50.93 -50.93 |

----------------------------------------------------------------------------------------------------

Разработан SCAD Soft

Mon Apr 21 20:16:10 2014 12 основная сxема 6.0002

------------------------------------------------------------------------

| МАКСИМАЛЬНЫЕ УСИЛИЯ /НАПРЯЖЕНИЯ/ В ЭЛЕМЕНТАХ |

| РАСЧЕТНОЙ СХЕМЫ |

 

------------------------------------------------------------------------

| | max + | max - |

| Имя |----------------------------------------------------------------|

| | Величина | Элем.| Сеч.| Нагp. | Величина | Элем.| Сеч.| Нагp. |

------------------------------------------------------------------------

 

| M 70.0287 1 2 2 |

| Q 50.93 1 1 2 -50.93 1 3 2 |

------------------------------------------------------------------------

Результаты расчета.

 







Date: 2015-07-17; view: 532; Нарушение авторских прав



mydocx.ru - 2015-2026 year. (1.203 sec.) Все материалы представленные на сайте исключительно с целью ознакомления читателями и не преследуют коммерческих целей или нарушение авторских прав - Пожаловаться на публикацию