Главная Случайная страница


Полезное:

Как сделать разговор полезным и приятным Как сделать объемную звезду своими руками Как сделать то, что делать не хочется? Как сделать погремушку Как сделать так чтобы женщины сами знакомились с вами Как сделать идею коммерческой Как сделать хорошую растяжку ног? Как сделать наш разум здоровым? Как сделать, чтобы люди обманывали меньше Вопрос 4. Как сделать так, чтобы вас уважали и ценили? Как сделать лучше себе и другим людям Как сделать свидание интересным?


Категории:

АрхитектураАстрономияБиологияГеографияГеологияИнформатикаИскусствоИсторияКулинарияКультураМаркетингМатематикаМедицинаМенеджментОхрана трудаПравоПроизводствоПсихологияРелигияСоциологияСпортТехникаФизикаФилософияХимияЭкологияЭкономикаЭлектроника






Производство стали в вакуумных индукционных печах






В настоящее время вакуумные индукционные печи делятся на периодические и полунепрерывные. В печах периодического действия после каждой плавки печь открывают для извлечения слитка и загрузки шихты. В печах полунепрерывного действия загрузка шихты, смена изложниц и извлечение слитка проводятся без нарушения вакуума в плавильной камере.

В промышленности применяют печи полунепрерывного действия. Печи периодического действия используют в основном в лабораториях и для фасонного литья. Емкость существующих вакуумных индукционных печей достигает 60 т.


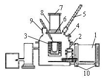
Рисунок 6. Схема вакуумной индукционной печи полунепрерывного действия

Здесь показана схема вакуумной индукционной печи полунепрерывного действия. Печи этого типа имеют три камеры: плавильную (2), загрузочную (8) и камеру изложниц (1). В плавильной камере установлен водоохлаждаемый индикатор с огнеупорным тиглем (3), в котором проводиться плавление шихты. Каркас тигля, выполненный из уголков нержавеющей стали, опирается на цапфы. При сливе металла и чистке тигля последний наклоняется с помощью механического или гидравлического привода. Камера изложниц и загрузочная камера сообщаются с плавильной камерой через вакуумные затворы (6 и 10), которые позволяют загружать шихту в печь и выгружать слиток без нарушения вакуума в плавильной камере. Присадка легирующих и раскислителей осуществляется через дозатор (9), установленный на крышке печи (7). Для контроля процесса плавки печь снабжена гляделкой (4) и термопарой (5).

Технология выплавки металла в вакуумной индукционной печи полунепрерывного действия определяется маркой выплавляемой стали и качеством шихтовых материалов. Для плавки применяют шихтовые материалы, очищенные от масла и влаги. Для легирования используют ферросплавы и чистые металлы. Перед загрузкой шихту предварительно прокаливают. После загрузки печи включают ток и расплавление шихты ведут на максимальной мощности. При появлении первых порций жидкого металла и при наличии в шихте углерода в печь напускают аргон до давления 1,3 • 104 Па для предотвращения выплесков жидкого металла в следствие бурного протекания реакции [C] + [O] = COгаз. После полного расплавления шихты металл рафинируют при давлении 1,3 - 0,13 Па от водорода, азота, кислорода и примесей цветных металлов. Раскисление стали происходит в основном по реакции [C] + [O] = COгаз, равновесие которой при низких давлениях сдвигается вправо. В период рафинировки осуществляют также легирование металла. В первую очередь присаживают хром и ванадий, потом титан. Перед разливкой в металл вводят алюминий, редкоземельные металлы, кальций и магний. Для получения плотного слитка разливку проводят обычно в атмосфере аргона.

Основным недостатком вакуумных индукционных печей является контакт жидкого металла с огнеупорной футеровки тигля, что может приводить к загрязнению металла материалом тигля.
^







Date: 2015-07-17; view: 515; Нарушение авторских прав



mydocx.ru - 2015-2026 year. (0.653 sec.) Все материалы представленные на сайте исключительно с целью ознакомления читателями и не преследуют коммерческих целей или нарушение авторских прав - Пожаловаться на публикацию