Главная Случайная страница


Полезное:

Как сделать разговор полезным и приятным Как сделать объемную звезду своими руками Как сделать то, что делать не хочется? Как сделать погремушку Как сделать так чтобы женщины сами знакомились с вами Как сделать идею коммерческой Как сделать хорошую растяжку ног? Как сделать наш разум здоровым? Как сделать, чтобы люди обманывали меньше Вопрос 4. Как сделать так, чтобы вас уважали и ценили? Как сделать лучше себе и другим людям Как сделать свидание интересным?


Категории:

АрхитектураАстрономияБиологияГеографияГеологияИнформатикаИскусствоИсторияКулинарияКультураМаркетингМатематикаМедицинаМенеджментОхрана трудаПравоПроизводствоПсихологияРелигияСоциологияСпортТехникаФизикаФилософияХимияЭкологияЭкономикаЭлектроника






Определение осадки





1. Осадка основания s c использованием расчетной схемы в виде линейно-деформируемого полупространства (п.2.40) определяется методом послойного суммирования по формуле

, (1)

где b - безразмерный коэффициент, равный 0,8;

szp,i - среднее значение дополнительного вертикального нормального напряжения в i -м слое грунта, равное полусумме указанных напряжений на верхней zi- 1 и нижней zi границах слоя по вертикали, проходящей через центр подошвы фундамента (см. пп. 2-4);

hi и Еi - соответственно толщина и модуль деформации i- го слоя грунта;

n - число слоев, на которые разбита сжимаемая толща основания.

При этом распределение вертикальных нормальных2 напряжений по глубине основания принимается в соответствии со схемой, приведенной на рис. 1.

______________

1 В настоящем приложении, кроме специально оговоренных случаев, приняты следующие единицы:

для линейных величин - м (см), для сил - кН (кгс); для напряжений, давлений и модулей деформации - кПа (кгс/см2); для удельного веса - кН/м3 (кгс/см3).

2 Далее для краткости слово «нормальное» опускается.

Примечание. При значительной глубине заложения фундаментов расчет осадки рекомендуется производить с использованием расчетных схем, учитывающих разуплотнение грунта вследствие разработки котлована.

2. Дополнительные вертикальные напряжения на глубине z от подошвы фундамента: szp - по вертикали, проходящей через центр подошвы фундамента, и szp,c - по вертикали, проходящей через угловую точку прямоугольного фундамента, определяются по формулам:

szp = ap 0; (2)

szp,c = ap 0/4, (3)

где a - коэффициент, принимаемый по табл.1 в зависимости от формы подошвы фундамента, соотношения сторон прямоугольного фундамента и относительной глубины, равной: о = 2 z/b при определении уzp и о = z/b при определении уzp,c;

p 0 = p - szg, 0 - дополнительное вертикальное давление на основание (для фундаментов шириной b ³ 10 м принимается р 0 = р);

р - среднее давление под подошвой фундамента;

szg, 0 - вертикальное напряжение от собственного веса грунта на уровне подошвы фундамента (при планировке срезкой принимается szg, 0 = gd, при отсутствии планировки и планировке подсыпкой szg, 0 = gdn, где g/ - удельный вес грунта, расположенного выше подошвы, d и dn - обозначены на рис.1).

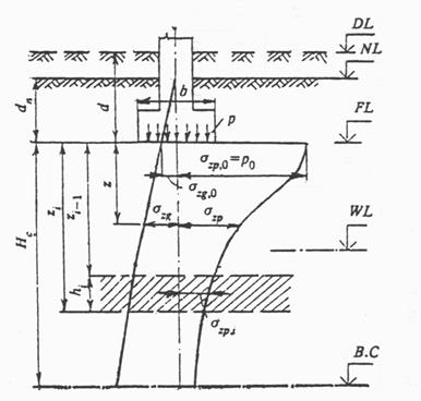
Рис. 1. Схема распределения вертикальных напряжений в линейно-деформируемом полупространстве

DL - отметка планировки; NL - отметка поверхности природного рельефа; FL - отметка подошвы фундамента; WL - уровень подземных вод; В,С - нижняя граница сжимаемой толщи; d и dn глубина заложения фундамента соответственно от уровня планировки и поверхности природного рельефа; b - ширина фундамента; р - среднее давление под подошвой фундамента; р 0 - дополнительное давление на основание; szg и szg, 0 - дополнительное вертикальное напряжение от внешней нагрузки на глубине z от подошвы фундамента и на уровне подошвы; szp и szр, 0 - дополнительное вертикальное напряжение от внешней нагрузки на глубине z от подошвы фундамента и на уровне подошвы; Нс - глубина сжимаемой толщи

Таблица 1

Коэффициент a

x = 2 z / b Коэффициент a для фундаментов
круглых прямоугольных с соотношением сторон h = l / b, равным ленточных (h ³ 10)
1,0 1,4 1,8 2,4 3,2  
  1,000 1,000 1,000 1,000 1,000 1,000 1,000 1,000
0,4 0,949 0,960 0,972 0,975 0,976 0,977 0,977 0,977
0,8 0,756 0,800 0,848 0,866 0,876 0,879 0,881 0,881
1,2 0,547 0,606 0,682 0,717 0,739 0,749 0,754 0,755
1,6 0,390 0,449 0,532 0,578 0,612 0,629 0,639 0,642
2,0 0,285 0,336 0,414 0,463 0,505 0,530 0,545 0,550
2,4 0,214 0,257 0,325 0,374 0,419 0,449 0,470 0,477
2,8 0,165 0,201 0,260 0,304 0,349 0,383 0,410 0,420
3,2 0,130 0,160 0,210 0,251 0,294 0,329 0,360 0,374
3,6 0,106 0,131 0,173 0,209 0,250 0,285 0,319 0,337
4,0 0,087 0,108 0,145 0,176 0,214 0,248 0,285 0,306
4,4 0,073 0,091 0,123 0,150 0,185 0,218 0,255 0,280
4,8 0,062 0,077 0,105 0,130 0,161 0,192 0,230 0,258
5,2 0,053 0,067 0,091 0,113 0,141 0,170 0,208 0,239
5,6 0,046 0,058 0,079 0,099 0,124 0,152 0,189 0,223
6,0 0,040 0,051 0,070 0,087 0,110 0,136 0,173 0,208
6,4 0,036 0,045 0,062 0,077 0,099 0,122 0,158 0,196
6,8 0,031 0,040 0,055 0,064 0,088 0,110 0,145 0,185
7,2 0,028 0,036 0,049 0,062 0,080 0,100 0,133 0,175
7,6 0,024 0,032 0,044 0,056 0,072 0,091 0,123 0,166
8,0 0,022 0,029 0,040 0,051 0,066 0,084 0,113 0,158
8,4 0,021 0,026 0,037 0,046 0,060 0,077 0,105 0,150
8,8 0,019 0,024 0,033 0,042 0,055 0,071 0,098 0,143
9,2 0,017 0,022 0,031 0,039 0,051 0,065 0,091 0,137
9,6 0,016 0,020 0,028 0,036 0,047 0,060 0,085 0,132
10,0 0,015 0,019 0,026 0,033 0,043 0,056 0,079 0,126
10,4 0,014 0,017 0,024 0,031 0,040 0,052 0,074 0,122
10,8 0,013 0,016 0,022 0,029 0,037 0,049 0,069 0,117
11,2 0,012 0,015 0,021 0,027 0,035 0,045 0,065 0,113
11,6 0,011 0,014 0,020 0,025 0,033 0,042 0,061 0,109
12,0 0,010 0,013 0,018 0,023 0,031 0,040 0,058 0,106

Примечания: 1. В табл. 1 обозначено: b - ширина или диаметр фундамента, l - длина фундамента.


2. Для фундаментов, имеющих подошву в форме правильного многоугольника с площадью А, значения a принимаются как для круглых фундаментов радиусом

3. Для промежуточных значений x и h коэффициент a определяется по интерполяции.

3. Дополнительные вертикальные напряжения szp,u на глубине z по вертикали, проходящей через произвольную точку А (в пределах или за пределами рассматриваемого фундамента с дополнительным давлением по подошве, равным р 0), определяются алгебраическим суммированием напряжений szр,ci в угловых точках четырех фиктивных фундаментов (рис.2) по формуле

. (4)

4. Дополнительные вертикальные напряжения szg,nf на глубине z по вертикали, проходящей через центр рассчитываемого фундамента, с учетом влияния соседних фундаментов или нагрузок на прилегающие площади определяются по формуле

, (5)

где k - число влияющих фундаментов.

5. Вертикальное напряжение от собственного веса грунта szg на границе слоя, расположенного на глубине z от подошвы фундамента, определяется по формуле

, (6)

где g / - удельный вес грунта, расположенного выше подошвы фундамента;

dn - обозначение - см. рис. 1;

gi и hi - соответственно удельный вес и толщина i -го слоя грунта.

Удельный вес грунтов, залегающих ниже уровня подземных вод, но выше водоупора, должен приниматься с учетом взвешивающего действия воды.

При определении szg в водоупорном слое следует учитывать давление столба воды, расположенного выше рассматриваемой глубины.

6. Нижняя граница сжимаемой толщи основания принимается на глубине z = Hc, где выполняется условие szр = 0,2 szg (здесь szр - дополнительное вертикальное напряжение на глубине по вертикали, проходящей через центр подошвы фундамента, определяемое в соответствии с указаниями пп. 2 и 4; szg - вертикальное напряжение от собственного веса грунта, определяемое в соответствии с п. 5).

Если найденная по указанному выше условию нижняя граница сжимаемой толщи находится в слое грунта с модулем деформации Е < 5 МПа (50 кгс/см2) или такой слой залегает непосредственно ниже глубины z = Hc, нижняя граница сжимаемой толщи определяется исходя из условия szр = 0,1 szg.


Рис. 2. Схема к определению дополнительных вертикальных напряжений szр,а в основании рассчитываемого фундамента с учетом влияния соседнего фундамента методом угловых точек

а - схема расположения рассчитываемого 1 и влияющего фундамента 2; б - схема расположения фиктивных фундаментов с указанием знака напряжений szр,cj в формуле (4) под углом i- го фундамента.

7. Осадка основания с использованием расчетной схемы линейно деформируемого слоя (см. п. 2.40 и рис. 3) определяется по формуле

, (7)

где р - среднее давление под подошвой фундамента (для фундаментов шириной b < 10 м принимается p = p 0 - см. п. 2);

b - ширина прямоугольного или диаметр круглого фундамента;

kc и km - коэффициенты, принимаемые по табл. 2 и 3;

n - число слоев, различающихся по сжимаемости в пределах расчетной толщи слоя Н, определяемой в соответствии с указаниями п. 8;

ki и ki- 1 - коэффициенты, определяемые по табл. 4 в зависимости от формы фундамента, соотношения сторон прямоугольного фундамента и относительной глубины, на которой расположены подошва и кровля i -го слоя соответственно

Еi - модуль деформации i- го слоя грунта.

Примечание. Формула (7) служит для определения средней осадки основания, загруженного равномерно распределенной по ограниченной площади нагрузкой. Эту формулу допускается применять для определения осадки жестких фундаментов.

Таблица 2

Коэффициент kc

Относительная толщина слоя z / = 2 H / b Коэффициент kc
0 < z / £ 0,5 1,5
0,5 < z / £ 1 1,4
1 < z / £ 2 1,3
2 < z / £ 3 1,2
3 < z / £ 5 1,1
z / > 5 1,0

Таблица 3

Коэффициент km

Среднее значение модуля деформации грунта основания Е, МПа (кгс/см2) Значения коэффициента km при ширине фундамента b, м, равной
b < 10 10 £ b £ 15 b > 15
E < 10 (100)      
E ³ 10 (100)   1,35 1,5

Таблица 4

Коэффициент k

x = 2 z / b Коэффициент k для фундаментов
круглых прямоугольных с соотношением сторон h = l / b, равным ленточных (h ³ 10)
1,0 1,4 1,8 2,4 3,2  
  0,000 0,000 0,000 0,000 0,000 0,000 0,000 0,000
0,4 0,090 0,100 0,100 0,100 0,100 0,100 0,100 0,104
0,8 0,179 0,200 0,200 0,200 0,200 0,200 0,200 0,208
1,2 0,266 0,299 0,300 0,300 0,300 0,300 0,300 0,311
1,6 0,348 0,380 0,394 0,397 0,397 0,397 0,397 0,412
2,0 0,411 0,446 0,472 0,482 0,486 0,486 0,486 0,511
2,4 0,461 0,499 0,538 0,556 0,565 0,567 0,567 0,605
2,8 0,501 0,542 0,592 0,618 0,635 0,640 0,640 0,687
3,2 0,532 0,577 0,637 0,671 0,696 0,707 0,709 0,763
3,6 0,558 0,606 0,676 0,717 0,750 0,768 0,772 0,831
4,0 0,579 0,630 0,708 0,756 0,796 0,820 0,830 0,892
4,4 0,596 0,650 0,735 0,789 0,837 0,867 0,883 0,949
4,8 0,611 0,668 0,759 0,819 0,873 0,908 0,932 1,001
5,2 0,634 0,683 0,780 0,844 0,904 0,948 0,977 1,050
5,6 0,635 0,697 0,798 0,867 0,933 0,1981 1,018 1,095
6,0 0,645 0,708 0,814 0,887 0,958 1,011 1,056 1,138
6,4 0,653 0,719 0,828 0,904 0,980 1,041 1,090 1,178
6,8 0,661 0,728 0,841 0,920 1,000 1,065 1,122 1,215
7,2 0,668 0,736 0,852 0,935 1,019 1,088 1,152 1,251
7,6 0,674 0,744 0,863 0,948 1,036 1,109 1,180 1,285
8,0 0,679 0,751 0,872 0,960 1,051 1,128 1,205 1,316
8,4 0,684 0,757 0,881 0,970 1,065 1,146 1,229 1,347
8,8 0,689 0,762 0,888 0,980 1,078 1,162 1,251 1,376
9,2 0,693 0,768 0,896 0,989 1,089 1,178 1,272 1,404
9,6 0,697 0,772 0,902 0,998 1,100 1,192 1,291 1,431
10,0 0,700 0,777 0,908 1,005 1,110 1,205 1,309 1,456
11,0 0,705 0,786 0,922 1,022 1,132 1,233 1,349 1,506
12,0 0,720 0,794 0,933 1,037 1,151 1,257 1,384 1,550

Примечание. При промежуточных значениях x и h коэффициент k определяется по интерполяции


8. Толщина линейно-деформируемого слоя Н (рис. 3) в случае, оговоренном в п. 2.40а, принимается до кровли грунта с модулем деформации Е ³ 100 МПа (1000 кгс/см2), а при ширине (диаметре) фундамента b ³ 10 м и среднем значении модуля деформации грунтов основания Е ³ 10 МПа (100 кгс/см2), вычисляется по формуле

, (8)

где H 0 и j - принимаются соответственно равными для оснований, сложенных: пылевато-глинистыми грунтами 9 м и 0,15; песчаными грунтами - 6 м и 0,1;

kp - коэффициент, принимаемый равным: kp = 0,8 при среднем давлении под подошвой фундамента р = 100 кПа (1 кгс/см2); kp = 1,2 при р = 500 кПа (5 кгс/см2), а при промежуточных значениях - по интерполяции.

Рис. 3. схема к расчету осадок с использованием расчетной схемы основания в виде линейно деформируемого слоя.

Если основание сложено пылевато-глинистыми и песчаными грунтами, значение Н определяется по формуле

, (9)

где Нs - толщина слоя, вычисленная по формуле (8) в предположении, что основание сложено только песчаными грунтами;

Hcl - суммарная толщина слоев пылевато-глинистых грунтов в пределах от подошвы фундамента до глубины, равной Hcl – значению H, вычисленному по формуле (8) в предположении, что основание сложено только пылевато-глинистыми грунтами.

Значение Н, вычисленное по формулам (8) и (9), должно быть увеличено на толщину слоя грунта с модулем деформации Е < 10 МПа (100 кгс/см2), если этот слой расположен ниже Н и толщина его не превышает 0,2 Н. При большей толщине слоя такого грунта, а также если вышележащие слои имеют модуль деформации Е < 10 МПа (100 кгс/см2), расчет деформаций основания выполняется по расчетной схеме линейно деформируемого полупространства.







Date: 2015-06-05; view: 654; Нарушение авторских прав



mydocx.ru - 2015-2026 year. (1.618 sec.) Все материалы представленные на сайте исключительно с целью ознакомления читателями и не преследуют коммерческих целей или нарушение авторских прав - Пожаловаться на публикацию