Главная Случайная страница


Полезное:

Как сделать разговор полезным и приятным Как сделать объемную звезду своими руками Как сделать то, что делать не хочется? Как сделать погремушку Как сделать так чтобы женщины сами знакомились с вами Как сделать идею коммерческой Как сделать хорошую растяжку ног? Как сделать наш разум здоровым? Как сделать, чтобы люди обманывали меньше Вопрос 4. Как сделать так, чтобы вас уважали и ценили? Как сделать лучше себе и другим людям Как сделать свидание интересным?


Категории:

АрхитектураАстрономияБиологияГеографияГеологияИнформатикаИскусствоИсторияКулинарияКультураМаркетингМатематикаМедицинаМенеджментОхрана трудаПравоПроизводствоПсихологияРелигияСоциологияСпортТехникаФизикаФилософияХимияЭкологияЭкономикаЭлектроника






Саратовский государственный технический университет





 

КОНСТРУКЦИЯ И ГЕОМЕТРИЯ ТОКАРНЫХ РЕЗЦОВ

Методические указания к выполнению лабораторной работы по курсам

"Технология конструкционных материалов",

"Механическая обработка материалов",

"Материаловедение и обработка конструкционных материалов"

для студентов специальностей:

0305, 0308, 0501, 0511, 0513, 0567, 0606, 0636, 1609, 1709

Одобрено

редакционно-издательским советом Саратовского государственного технического университета

 

 

Саратов 2006


Цель работы: изучить конструктивные элементы и геометрические параметры токарных резцов, а также способы их измерения.

ОСНОВНЫЕ ПОНЯТИЯ

Cила резания при точении

Обработка точением при изготовлении деталей машин, механизмов, приборов является самым распространенным, высокопроизводительным и универсальным методом. Схема резания при точении предусматривает удаление поверхностного слоя материала заготовки с глубиной резания t за счет ее установки на станке вращения со скоростью резания V, а также благодаря поступательному движению резца I с подачей S (рис. I). При этом различают обрабатываемую поверхность 2, поверхность резания 3 и обработанную поверхность 4.

Рис. I. Схема резания и координатные плоскости при точении

По направлению подачи резца различают точение с продольной подачей Sпр для обработки наружных и внутренних поверхностей, клеющих форму тел вращения, а также точение с поперечной подачей Sп для обработки плоских торцовых поверхностей 6 либо канавок или фасонных поверхностей.
Конструкция и классификация резцов

Резец обычно представляет стержень прямоугольного или круглого сечения, который состоит из двух основных частей: головки 6, являющейся рабочей частью резца, и державки 5, служащей для закрепления резца в резцедержателе (рис. 2).

Рас. 2. Элементы конструкции резца

Головка имеет следующие рабочие элементы: переднюю поверхность 3, главную заднюю поверхность 7 и вспомогательную заднюю поверхность I, главную режущую кромку 4 и вспомогательную режущую кромку 2, а также вершину 6.

Передняя поверхность воспринимает нагрузку от сходящей по ней стружки, главная задняя поверхность контактирует с поверхностью резания 3, вспомогательная задняя поверхность - с обработанной поверхностью 4 (рис. l).

Повышение производительности обработки достигается увеличением значений параметров резания: глубины t, подачи S, скорости V, что вызывает возрастание механических и тепловых нагрузок на рабочую часть резца. Чтобы при этом обеспечить необходимое качество обработки и стойкость резца, для его изготовления применяют инструментальные материалы с высокой твердостью, прочностью, теплостойкостью, износостойкостью, которые обладают также значительной стоимостью.

По способу изготовления резцы разделяются на цельные (рис. 2), составные 1 и сборные 2, 3 (рис. 3).

Цельные резцы изготовляют из инструментальных низколегированных сталей 9ХС, ХВ5, ХВГ с невысокой теплостойкостью и применяют в ремонтном и мелкосерийном производстве при скоростях резания до 25 м/мин.

Рис. 3. Конструкция резцов

Составные резцы имеют головку, изготовленную из инструментальной высоколегированной, быстрорежущей стали Р9, Р6М3, Р6М5, Р9Ф5, иногда - из инструментального твердого сплава, а державку - из конструкционной.или инструментальной углеродистой либо низколегированной стали. Головка и державка таких резцов соединяются сваркой либо пайкой так. что общая стоимость резцов остается на невысоком уровне, а хорошая теплостойкость материала головки позволяет использовать их в крупносерийном производстве при скоростях резания до 100 м/мин.

Сборные резцы снабжаются режущей пластинкой 4 из быстрорежущей стали, твердого сплава, минералокерамики или режущим кристаллом алмаза либо эльбора. Такие резцы изготовляются из конструкционной или инструментальной стали, а режущая пластинка либо кристалл удерживается в специальном гнезде головки резца с помощью пайки, механического крепления или за счет сил резания.

Твердые сплавы применяют для изготовления режущих пластин путем прессования и спекания смеси порошков кобальта и карбида вольфрама (ВК2, ВКЗМ, ВК4 и др.), карбидов вольфрама и титана (Т5К10, TI5K6, Т30К4 и др.), а также карбидов вольфрама, титана и тантала (ТТ7К12, ТТ8К6 и др.). Повышенная теплостойкость указанных материалов обусловила их использование для резцов в массовом производстве деталей со скоростями резания до 1000 м/мин.

Минералокерамические материалы марок Т-48, ЦМ-332 прессуются либо отливаются и затем спекаются в виде режущих пластинок из смеси порошков на основе корунда Al2O3 (термокорунд, микролит). Высокая теплостойкость минералокерамики позволяет вести чистовую обработку деталей при скоростях до 2000 м/мин, обеспечивая значительное возрастание производительности.


Алмазные кристаллы, природные типа А и синтетические типа АС, весом до I кар обладают высокой твердостью и малым коэффициентом трения. Поэтому они используются для обработки как вязких, так и сверхтвердых материалов со скоростями до 3000 м/мин. Эти материалы не должны содержать железа, т.к. алмаз легко вступает с ним в химическое взаимодействие, и процесс резания ухудшается.

Эльбор представляет синтезированный кубический нитрид бора (КНБ) с очень высокой теплостойкостью. Это позволяет применять его в виде сростка кристаллов для обработки особо твердых материалов, в том числе и содержащих железо, при скоростях до 160 м/мин.

По направлению подачи токарные резцы разделяется на правые и левые (рис. 4). Правые резцы применяются для подачи справа налево, левые резцы - для подачи слева направо. Чтобы определить тип резца, следует сверху на резец положить ладонь правой руки, обратив вытянутые пальцы к его вершине, У правого резца главная режущая кромка окажется расположенной со стороны большого пальца, у левого резца - с другой стороны ладони.

Рис.4 правый и левый Рис.5. Форма и расположение

резцы головки резцов

По форме и расположения головки относительно державки различают токарные резцы прямые (рис. 5а), отогнутые (рис. 5б) и оттянутые (рис. 5в).

По виду выполняемой работы токарные резца делятся на проходные, подрезные, прорезные, отрезные, резьбовые, расточные и фасонные.

Проходные прямые резцы служат для точения заготовок с продольной подачей при изготовлении гладких и ступенчатых валов (рис. 6а). Упорные проходные резцы применяются для продольного точения ступенчатых валов с обработкой в конце прохода торцовой поверхности (рис. 6б). Широкие (лопаточные) резцы используются для получения особо чистой поверхности (рис. 6в). Такие резцы применяются и для обработки конусных поверхностей. Отогнутые проходные резцы позволяют без их перестановки производить точение с продольной подачей. а также подрезку торца с поперечной подачей (рис.6г).


Рис. 6. Проходные резцы
Подрезные резцы предназначены для обработки торцовых поверхностей с поперечной подачей и имеют отогнутую головку (рис. 7).

Угол расположения главной режущей кромки позволяет наиболее близко подвести резец к поддерживающему заднему центру станка, угол вспомогательной режущей кромки уменьшает ее трение по обработанной торцовой поверхности.

Рис.7. Подрезной резец.

Прорезные и отрезные резцы используются для получения в заготовке кольцевых канавок (рис. 8а) или разрезки заготовки на части (рис. 8б). Головка таких резцов делается оттянутой, режущая кромка обычно имеет ширину от 2 до 8 мм с закругленными или заточенными на фаску вершинами для повышения прочности кромки. Боковые кромки расположены под углом I...20 для уменьшения их трения по обработанным поверхностям. Прочность головки может быть повышена за счет увеличения ее высоты.


Рис.8. Прорезной и отрезной резцы
Резьбовые резцы служат для нарезания наружной или внутренней резьбы (рис. 9). Форма линии их режущих кромок соответствует профилю нарезаемой резьбы, причем при нарезании треугольных резьб угол между кромками при вершине резца делается на 0030/-1030/ меньше угла профиля для резьбы, т.к. в процессе резания происходит некоторое "разбивание" профиля.


Рис. 9. Резьбовой резец

Расточные резцы применяются для обработки поверхности сквозных (рис. 10а) или глухих (рис. 10б) отверстия. Они делаются отогнутыми, причем у резцов.для расточки глухих отверстий имеется угол расположения главной режущей кромки, позволяющий подвести ее наиболее близко к дну отверстия и произвести его подрезку. Передняя часть державки расточных резцов, входящая в отверстие, имеет круглое сечение, остальная часть державки - квадратное.

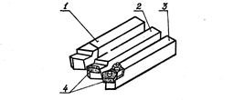
Рис.10. Расточной резец


Фасонные резцы предназначены для обработки с поперечной подачей поверхностей сложного профиля и имеет соответствующую форму режущей кромки (рис. II). При этом срезаемый слой имеет значительную ширину, что увеличивает силы резания и требует от резцов повышенной жесткости. Это достигается приданием головке резца круглой (рис. 11а) или призматической (рис. 11б) формы и

 
 

закреплением ее в специальной державке.

Рис.11. Фасонные резцы

Геометрия резцов

Геометрические параметры резца включают его габаритные размеры, а также углы, под которыми расположены поверхности и режущие кромки головки относительно друг друга или относительно координатных плоскостей.

Координатные плоскости введены как поверхности начала отсчета для измерения геометрических параметров резца. К ним относятся основная плоскость 7 и плоскость резания 5 (рис.1). Основная плоскость принята расположенной параллельно направлениям продольной и поперечной подачи, и для резца с прямоугольным сечением державки основной плоскостью считается его нижняя опорная поверхность. Плоскость резания является касательной к поверхности резания 3 и проходит через главную режущую кромку резца.

Габаритные размеры представляют общую длину L резца, длину l и высоту h его головки, а также ширину В и высоту Н его державки (рис.2).

Углы резца измеряются в главной NN и вспомогательной N1N1 секущих плоскостях (рис. 12). Главная секущая плоскость проводится перпендикулярно проекции главной режущей кромки на основную плоскость через заданную точку этой проекции. Вспомогательная секущая плоскость располагается перпендикулярно проекции вспомогательной режущей кромки на основную плоскость, проходя через определенную точку этой проекции.


Рис.12. Углы резца

Главные углы измеряются в сечении NN и включают передний угол γ, задний угол α, угол заострения β и угол резания δ. Значения углов β и δ вычисляются с помощью формул;


(1)
Вспомогательные углы измеряются в сечении N1N1 и включают передний угол γ1, задний угол α1 а также угол заострения β1 и угол резания δ1, которые вычисляются в помощью зависимостей, соответствующих формулам (I).

Главный передний угол у измеряется между передней поверхностью резца (или касательной к ней) и плоскостью, проходящей через главную режущую кромку перпендикулярно плоскости резания. Величина угла γ оказывает большое влияние на силу резания, качество обработанной поверхности и стойкость резца. Она может иметь как положительное значение, если режущая кромка занимает наивысшее положение на передней поверхности (рис. 12,1). так и отрицательное, если режущая кромка находится в низшей части передней поверхности (рис. 12,3). С увеличением положительных значений угла γ облегчается резание материалов невысокой твердости, улучшается качество обработанной поверхности, но снижается прочность режущего лезвия. Поэтому при обработке твердых материалов следует уменьшать угол γ вплоть до его отрицательных значений. Обычно угол γ принимается разным значениям в пределах от - 10° до + 20° в зависимости от твердости обрабатываемого материала и вида обработки.

Главный задний угол α измеряется между главной задней поверхностью резца (или касательной к ней) и плоскостью резания. Его величина в значительной степени определяет силы резания, стойкость резца и зависит также от применяемой подачи. При обработке вязких материалов следует применять увеличенные до 10...I20 значения угла α для снижения сил резания. Твердые материалы требуют уменьшения угла α до 6...8°, что позволяет повысить стойкость резца и прочность режущего лезвия. Обработка с большими подачами обусловливает значительные силы резания и для необходимой стойкости резца требуются малые значения угла α.

Главный угол заострения β и главный угол резания δ связаны с углами α и γ вышеприведенными зависимостями (1), поэтому их значения в основном характеризуют соответствующим образом силы резания, стойкость резца и прочность реющего лезвия.

Вспомогательный передний угол γ1 измеряется между передней поверхностью резца (или касательной к ней) и плоскостью, проходящей через вспомогательную режущую кромку перпендикулярно плоскости резания. Он оказывает примерно такое же влияние на процесс резания, как и главный передний угол γ и может иметь несколько меньшие значения.

Вспомогательннй задний угол α1 измеряется между вспомогательной задней поверхностью (или касательной к ней) и плоскостью, проходящей через вспомогательную режущую кромку перпендикулярно основной плоскости. Он обусловливает трение вспомогательной задней поверхности по обработанной поверхности заготовки и влияет на качество обработки. Его величина делается обычно в 2 раза меньше главного заднего угла α.

Углы резца в плане измеряются в основной плоскости и включают главный угол в плане φ, вспомогательный угол в плане φ1 и угол при вершине ε, которые связаны между собой зависимостью:

ε=1800-(φ+φ1) (2)

Главный угол в плане φ измеряется между проекцией главной peжущей кромки па основную плоскости и направлением подачи. С увеличением угла φ ухудшается шероховатость обработанной поверхности, но повышается точность обработки за счет уменьшения сил резания и вибрации заготовки. Поэтому при обработке жестких заготовок, когда отношение длины L к диаметру D заготовки невелико (L/Д<5), применяют малые углы φ, равные I0...300. Для заготовок средней жесткости при L/D=5-10 угол φ делается равным 45°, недостаточная жесткость заготовок при L/D=10-15 требует применения угла φ величиной 60...75°. При обработке нежестких длинных и тонких валов следует принимать угол φ равным 60...90°.

Вспомогательный угол в плане φ1 измеряется между проекцией вспомогательной режущей кромки на основную плоскость и направлением подачи. Изменение его величины влияет на процесс обработки подобно изменению угла φ, поэтому для жестких заготовок целесообразно использовать угол φ1, равный 5...100, а при обработке заготовок малой жесткости этот угол следует увеличивать до 30...450.

Угол при вершине в плане ε измеряется между проекциями режущих кромок на основную плоскость либо вычисляется по вышеприведенной формуле (2). Для улучшения шероховатости обработанной поверхности и повышения стойкости резца режущие кромки у вершины сопрягаются по радиусу или чаще по переходной кромке. Увеличение радиуса или длины переходной кромки от 0,5 до 3,0 мм положительно сказывается на указанных параметрах, однако вместе с этим возрастает сила резания и возникает вибрация резца. Поэтому для таких условий следует применять более жесткий резец с увеличенными размерами сечения державки.

Угол наклона главной режущей кромки расположен между главной режущей кромкой и ее проекцией на основную плоскость (рис. 13). Он измеряется в плоскости, проходящей через главную режущую кромку перпендикулярно основной плоскости. Величина угла λ может быть положительной. когда вершина резца является низшей точкой режущей кромки (рис. 13в), и отрицательной, если вершина - высшая точка кромки (рис. 13а). Угол λ влияет на направление схода стружки, качество обработанной поверхности и стойкость резца. При положительных значениях угла λ до 15° стружка отводится в сторону обработанной поверхности и может ухудшать ее качество, прочность вершины и

Рис. 16. Угол наклона главной режущей кромки

стойкость резца повышаются, хотя силы резания и вибрация возрастают. Поэтому положительные углы λ применяются для черновой обработки заготовок, обладающих высокой жесткостью. Отрицательные значения угла λ до 15° обусловливают направление стружки к обрабатываемой поверхности, а также снижают вибрацию, вследствие чего такие углы рекомендуются для чистовой обработки либо при недостаточной жесткости заготовки.

ТЕХНИКА ЭКСПЕРИМЕНТА

В качестве изучаемых образцов используются проходной, прорезной и подрезной резцы (по указанию преподавателя)

Визуальным осмотром головки и державки определяется способ изготовления резца, расположение главной режущей кромки и направление подачи, форма и расположение головки, а также класс резца по его технологическому назначению.

Общая длина резца L, длина I и высота h его головки, а также ширина В и высота Н державки измеряются штангенциркулем с погрешностью 0,1 мм либо металлической линейкой с погрешностью 0,5 мм (рис.2).

Измерение геометрических параметров резцов

Главные и вспомогательные углы в секуших плоскостях, а также угол наклона главной режущей кромки измеряются при помощи настольного угломера МИЗ с погрешностью 0,5° (рис. 14).

Рис, 14. Схема измерений с помощью угломера МИЗ

Угломер МИЗ имеет опорную плиту I, стойку 3 и передвижной кронштейн 2 со шкалой. На кронштейне шарнирно установлена поворотная измерительная пластина 4 с двумя рабочими лапками и указателем.

Для измерения главных углов α и γ следует ослабить крепление кронштейна, а также пластины и установить резец 5 опорной поверхностью на плиту так, чтобы главная режущая кромка была перпендикулярна плоскости измерительной пластины. Затем для измерения угла γ необходимо добиться полного прилегания рабочей поверхности верхней лапки к передней поверхности резца путем поворота измерительной пластины и перемещения кронштейна на стойке. В таком положении измерительную пластину и кронштейн следует закрепить, после чего с помощью указателя определить по шкале величину угла γ, Чтобы измерить угол α, надо таким же образом обеспечить полное прилегание рабочей поверхности нижней лапки к главной задней поверхности резца и затем по шкале определить величину угла α (на рис. 14 показано пунктиром).

Для измерения вспомогательных углов γ1 и α1 необходимо установить резец так, чтобы вспомогательная режущая кромка была перпендикулярна плоскости измерительной пластины. После этого так же, как было указано выше, следует определить величины углов γ1 и α1.

Чтобы измерить угол наклона главной режущей кромки λ, надо установить резец своей вершиной в угол, образованный сопряжением рабочих поверхностей лапок измерительной пластины, затем совместить главную режущую кромку с рабочей поверхностью верхней лапки и по шкале определить величину угла λ.

Главный и вспомогательный углы в плане измеряются универсальным угломером с погрешностью 5' (рис. 15).

Рис. 15. Схема измерения с помощью универсального угломера

Универсальный угломер состоит из полукруглого диска 4 с дуговой шкалой и неподвижной измерительной линейкой. В центре диска на оси закреплена поворотная измерительная линейка 1, имеющая указатель в виде конуса и стопорный винт 5. При измерении названных углов невозможно использовать для отсчета направление подачи. Вместо которого используется боковая поверхность резца 2, расположенная под углом 900 к направлению продольной подачи. Поэтому нулевое направление нониуса на шкале угломера соответствует углу 90° между его измерительными линейками.

Для измерения главного угла в плане φ необходимо ослабить стопорный винт и приложить неподвижную линейку угломера к боковой поверхности резца со стороны главной режущей кромки. Затем надо повернуть подвижную линейку до ее полного прилегания к главной режущей кромке, закрепить в таком положении стопорным винтом и с помощью нониуса по шкале определить величину угла φ.

Чтобы измерить вспомогательный угол в плане φ1 следует приложить неподвижную линейку угломера к боковой поверхности резца со стороны вспомогательной режущей кромки и затем, как было указано выше, определить величину угла φ1.

ПОРЯДОК ВЫПОЛНЕНИЯ РАБОТЫ Инструмент и принадлежности

1. Резцы проходной, подрезной, прорезной.

2. Штангенциркуль c погрешностью измерения 0,1 мм.

3. Металлическая линейка с погрешностью измерения 0,5 мм.

4. Угломер МИЗ с погрешностью измерения 0,5°.

5. Угломер универсальный с погрешностью измерения 50







Date: 2015-04-23; view: 575; Нарушение авторских прав



mydocx.ru - 2015-2026 year. (0.848 sec.) Все материалы представленные на сайте исключительно с целью ознакомления читателями и не преследуют коммерческих целей или нарушение авторских прав - Пожаловаться на публикацию