Главная Случайная страница


Полезное:

Как сделать разговор полезным и приятным Как сделать объемную звезду своими руками Как сделать то, что делать не хочется? Как сделать погремушку Как сделать так чтобы женщины сами знакомились с вами Как сделать идею коммерческой Как сделать хорошую растяжку ног? Как сделать наш разум здоровым? Как сделать, чтобы люди обманывали меньше Вопрос 4. Как сделать так, чтобы вас уважали и ценили? Как сделать лучше себе и другим людям Как сделать свидание интересным?


Категории:

АрхитектураАстрономияБиологияГеографияГеологияИнформатикаИскусствоИсторияКулинарияКультураМаркетингМатематикаМедицинаМенеджментОхрана трудаПравоПроизводствоПсихологияРелигияСоциологияСпортТехникаФизикаФилософияХимияЭкологияЭкономикаЭлектроника






Упражнение 3

Определение потерь в трансформаторе.

Разность между первичной и вторичной мощностями / / представляет собой мощность потерь. Потери в трансформаторе состоят из двух частей:

  1. Потери в меди обмоткой
  2. Потери в стали трансформатора на гистериз и вихревые токи .

Мощность потерь в меди обмоток . Для данного трансформатора зависит только от его нагрузки.

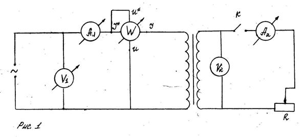
Мощность потерь в меди можно определить из опыта короткого замыкания. Этот опыт заключается в том, что одну из обмоток трансформатора замыкают накоротко, а к другой обмотке подводят такое небольшое напряжение, чтобы в обмотках установился ток номинальной величины (рис. 2). Это номинальное напряжение называется НАПРЯЖЕНИЕМ КОРОТКОГО ЗАМЫКАНИЯ, даётся в процентах от номинального напряжения, величина его колеблется от 5,5 до 17%. Так как при этом опыте полезная мощность равна нулю, то мощность измеренная ваттметром является модностью потерь в трансформаторе. Величина магнитного потока приближенно пропорциональна приложенному к зажимам обмотки напряжению, а так как последнее в опыте короткого замыкания мало, то мала индукция в сердечнике трансформатора, а, следовательно малы потери в стали и ими можно пренебречь, а это значит, что ваттметр измеряет мощность потерь в меди.

Мощность потерь в стали можно определить из опыта холостого хода. Потери в стали трансформатора при постоянной частоте переменного тока зависят от максимального значения магнитной индукции в стали и изменяются пропорционально её квадрату.

Так как при данном напряжении максимальное значение магнитного потока трансформатора, а, следовательно, и максимальное значение магнитной индукции остаётся неизменным, то, очевидно, потери в стали практически мало зависят от того, работает ли трансформатор в холостую или под нагрузкой.

Так как ток холостого хода относительно мал, то при холостом ходе малы потери в его обмотке, поэтому можно считать, что мощность холостого хода равна мощности потерь в стали трансформатора.

Коэффициент полезного действия трансформатора представляет собой отношение вторичной мощности к первичной мощности , т.е.

Благодаря отсутствию в трансформаторе вращающихся частей потери его относительно малы, а КПД высок, достигая для трансформаторов мощности 98-99%

На рис. 3 дана кривая КПД трансформатора в зависимости от нагрузки, из которой видно, что в начале с ростом КПД увеличивается от нуля до максимума, а затем несколько уменьшается. При более подробном анализе оказывается, что наибольший КПД имеет место при такой нагрузке, при которой потери в меди равны потерям в стали.

ПРИМЕЧАНИЕ: для данного в опыте трансформатора значение номинального тока во 2-й обмотке 3,5А

После определения потерь в трансформаторе заполнить таблицу:

  Вид потери Механизм явления Способ уменьшения потери
Потери в стали      
Потери в меди      

 

 

 

 







Date: 2015-05-19; view: 500; Нарушение авторских прав



mydocx.ru - 2015-2026 year. (0.523 sec.) Все материалы представленные на сайте исключительно с целью ознакомления читателями и не преследуют коммерческих целей или нарушение авторских прав - Пожаловаться на публикацию