Главная Случайная страница


Полезное:

Как сделать разговор полезным и приятным Как сделать объемную звезду своими руками Как сделать то, что делать не хочется? Как сделать погремушку Как сделать так чтобы женщины сами знакомились с вами Как сделать идею коммерческой Как сделать хорошую растяжку ног? Как сделать наш разум здоровым? Как сделать, чтобы люди обманывали меньше Вопрос 4. Как сделать так, чтобы вас уважали и ценили? Как сделать лучше себе и другим людям Как сделать свидание интересным?


Категории:

АрхитектураАстрономияБиологияГеографияГеологияИнформатикаИскусствоИсторияКулинарияКультураМаркетингМатематикаМедицинаМенеджментОхрана трудаПравоПроизводствоПсихологияРелигияСоциологияСпортТехникаФизикаФилософияХимияЭкологияЭкономикаЭлектроника






Ростов-на-Дону 2012





МЕТОДИЧЕСКИЕ УКАЗАНИЯ

к лабораторной работе

«ДИАГНОСТИКА суммарного люфта РУЛЕВОГО УПРАВЛЕНИЯ автомобиля»

 

 

по дисциплине

"Основы теории надежности и диагностики"

 

 

Ростов-на-Дону 2012

 

 
 

1 Цель работы

 


Изучение требований к рулевому управлению автомобиля, ознакомление с методами и средствами диагностирования суммарного люфта рулевого управления.

 

2 Оснащение рабочего места

 

2.1 Измеритель суммарного люфта рулевого управления ИСЛ-М.

2.2 Легковой автомобиль ВАЗ 2106 или аналогичный.

 

3 Содержание и порядок выполнения работы

 

3.1 Изучить требования к рулевому управлению автомобиля и методы его проверки по ГОСТ Р 51709-2001 «Автотранспортные средства. Требования безопасности к техническому состоянию и методы проверки» в части, относящейся к тормозному управлению автомобиля (пп. 4.2, 5.2 ), приложение А.

3.2 Изучить технические характеристики, устройство, принцип действия и порядок работы со средством диагностирования - измерителем суммарного люфта рулевого управления ИСЛ-М.

3.3 Провести измерение суммарного люфта рулевого управления легкового автомобиля.

3.4 Составить отчет.

 

4 Содержание отчета

 

4.1 Цель работы.

4.2 Оснащение рабочего места.

4.3 Назначение и краткая техническая характеристика средства диагностирования.

4.4 Порядок проведения диагностирования.

4.5 Результаты диагностирования (таблица 1).

4.6 Заключение о техническом состоянии и необходимых видах воздействия на рулевое управление автомобиля, определение потребности в техническом обслуживании и ремонте.

 

Таблица 1 - Журнал результатов измерений

 

Параметр Результаты измерений   Нормативное значение по ГОСТ Р 51709-2001  
Суммарный люфт рулевого управления   Суммарный люфт в рулевом управлении не должен превышать предельных значений, установленных изготовителем в эксплуатационной документации, или при отсутствии данных, установленных изготовителем, следующих предельных значений:
легковые автомобили и созданные на базе их агрегатов грузовые автомобили и автобусы 10°
автобусы 20°
грузовые автомобили 25°

 

 

 

5 Сведения о средствах диагностики

 

Измеритель суммарного люфта рулевого управления ИСЛ-М

 

5.1 Назначение

 

Измеритель суммарного люфта рулевого управления ИСЛ-М (прибор) предназначен для измерения суммарного люфта рулевого управления до начала движения управляемых колес автотранспортного средства (АТС) в соответствии с требованием ГОСТ Р 51709-2001.

Прибор может применяться для проверки АТС на соответствие требованиям безопасности по техническому состоянию автомобилей в эксплуатации, производстве и после ремонта на автопредприятиях и автомобильных заводах, а также при государственном техническом осмотре АТС на диагностических станциях в практической работе ГИБДД.

Условия эксплуатации прибора:

- температура окружающей среды от -10°С до +40°С;

- относительная влажность окружающей среды до 95±3% при 35±2 °С;

- атмосферное давление от 66,6 кПа до 106,6 кПа (от 500 мм.рт.ст. до 800 мм.рт.ст.).

 

 

5.2 Техническая характеристика

 

Диапазон размеров рулевого колеса, мм 360…550

Диапазон измерения угла поворота рулевого

колеса, град. 0…40

Допускаемая максимальная погрешность измерения

суммарного люфта, град, не более ± 0,5

Скорость вращения рулевого колеса при измерении, с-1,

не более 0,1

*Количество единичных измерений при усреднении

измеренного значения 2 - 9

 

Время одного измерения суммарного люфта, с, не более 4

Напряжение питания, В 12,6 +2-4

Потребляемая мощность в нормальных условиях, Вт,

не более 5

Габаритные размеры, мм, не более:

- приборный блок ИСЛ-М 460х110х110

- датчик движения колеса 310х200х135

Масса, кг, не более

- приборный блок 3,0

- датчик движения колеса 3,0

 

 

5.3 Устройство и принцип действия

 

Принцип действия прибора основан на измерении угла поворота рулевого колеса АТС посредством преобразования сигнала гироскопического датчика угла поворота, в интервале срабатываний индуктивного датчика движения управляемых колес при выборе люфта рулевого управления в обоих направлениях вращения руля.

Конструктивно прибор выполнен в виде приборного блока, который крепится на руле АТС (рисунок 1), и выносного датчика движения управляемых колес (рисунок 2). В приборном блоке размещаются гироскопический преобразователь угла поворота, буквенно-цифровой индикатор и микропроцессорный преобразователь сигналов.


Датчик движения колеса (ДДК) выполнен в виде металлического штатива, состоящего из телескопической штанги и трубок. В верхней части штатива расположен индуктивный преобразователь перемещения. На основании штатива закреплен блок датчика с аккумуляторной батареей и блоком обработки сигналов. Основание штатива установлено на ножки. Фиксация необходимой высоты обеспечивается барашками поз. 2, 3 рисунок 2.

На блоке датчика расположен кабель подключения к приборному блоку, разъем для подключения зарядного устройства и кабеля внешнего питания.

Приборный блок крепится на рулевое колесо при помощи захвата.

 

Конструкция прибора

Прибор (рисунок 1) состоит из следующих частей:

приборный блок 3 - электронный блок обработки и отображения информации с органами управления и оптико-механическим датчиком измерения угла;

захват 1 - телескопический, пружинный механизм, устанавливаемый и фиксируемый на ободе рулевого колеса за счет усилия трения, обеспечиваемого растяжением пружин;

разъем 2 для подключения датчика движения колеса, расположенный на боковой стенке приборного блока.

На передней панели приборного блока расположены индикатор для вывода информации 4 и органы управления: тумблер включения напряжения питания «ВКЛ» 5, кнопки «ОТМЕНА» 6, «ВЫБОР» 7, «ВВОД» 8.

 

Датчик движения колеса устанавливается в соответствии с рисунком 3 в плоскости А. При больших диаметрах колес автомобилей индуктивный преобразователь перемещения может устанавливаться ниже плоскости А до ½ радиуса обода колес. Правильность установки определяется в процессе установки ДДК в рабочее положение.

Функциональная схема прибора

Функциональная схема прибора приведена на рисунке 4.

Изменение положения металлического диска колеса в рабочей зоне датчика движения колеса преобразуется в

 

 

 

 

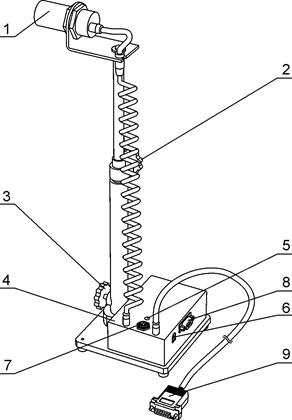
1- Захват; 2 - Разъем для подключения датчика движения колеса; 3 - Приборный блок; 4 – Индикатор; 5 – Выключатель напряжения питания ВКЛ; 6 - Кнопка ОТМЕНА; 7 - Кнопка ВЫБОР; 8 - Кнопка ВВОД

 

Рисунок 1 - Внешний вид прибора

 

 

эквивалентное изменение напряжения и через усилители поступает на входы аналого-цифрового преобразователя микроконтроллера. Отсчет угла производится с момента, когда датчик движения колеса определяет перемещение обода колеса. Угол отсчитывается до момента, пока управляемое колесо не начинает движение в противоположную сторону.

По окончании измерения прибор автоматически передает результаты измерения в линию технического контроля по протоколу RS232.

 

 

1 - Индуктивный преобразователь перемещения; 2,3 - Барашки для фиксации необходимой высоты; 4 - Блок датчика; 5 - Индикатор правильности установки ДДК ГОТОВ; 6 – Разъем для подключения зарядного устройства; 7 – Разъем для подключения к бортовой сети автомобиля «+12 В»; 8 - Разъем для подключения ПЭВМ; 9 - Разъем для подключения к приборному блоку ИСЛ-М

Рисунок 2 - Датчик движения колеса


 

 

 

1 – датчик движения; 2 - индуктивный преобразователь перемещения; 3 - стойка; 4 - управляемое колесо

 

Рисунок 3 - Установка датчика движения колеса

 

 
 

Рисунок 4 - Функциональная схема прибора

 

 

5.4 Порядок работы

 

Подготовка к использованию

 

1 Жестко закрепить прибор на рулевом колесе с помощью захвата.

Перемещения прибора относительно рулевого колеса не допускаются.

2 Установить датчик движения колеса в соответствии с рисунком 3. При этом управляемые колеса должны быть приведены в положение, соответствующее прямолинейному движению и должны находиться на сухой, ровной горизонтальной асфальто- или цементобетонной поверхности. Двигатель АТС, оборудованного усилителем рулевого управления, должен работать.

3 Подключить датчик движения колеса к разъему 2 (рисунок 1) прибора. При этом прибор должен находиться в выключенном состоянии.

4 При питании прибора от аккумулятора автомобиля подключить кабель питания из комплекта поставки к разъему питания на датчике движения колеса, а ответную часть к аккумулятору.

 

Проведение измерения

Работу с прибором выполняет один оператор.

1 Включить прибор кнопкой ВКЛ. При этом прозвучит звуковой сигнал и на индикаторе прибора появится сообщение:

 

 
 
УСТАНОВКА ДДК >> << КОЛЕСО

 


2 Установить ДДК на расстоянии, при котором на аккумуляторной батарее загорится индикатор правильной установки датчика, а на индикаторе приборного блока появится сообщение:

 
 
УСТАНОВКА ДДК В НОРМЕ

 

 


Данное сообщение означает, что датчик установлен правильно.

3 Нажать кнопку ВВОД. На индикаторе появится сообщение:

 
 
НОМЕР АВТО 0 00

 


Перейти к следующей операции нажатием кнопки ВВОД.

4 Далее сообщение сменится на:

 
 
КОЛИЧЕСТВО ИЗМЕРЕНИЙ 1

 


 
При нажатии на кнопку ВЫБОР увеличивается, а при нажатии на кнопку ОТМЕНА уменьшается количество измерений, по которым определяется среднее значение суммарного люфта. Значение данного параметра может изменяться от 1 до 9. Нажатием кнопки ВВОД зафиксировать выбранное значение.

 

5 Нажать кнопку ВВОД. После сообщения:

 
 
КАЛИБРОВКА

 

 


на индикаторе прибора отобразится следующее:

 
 
ИЗМЕРЕНИЕ

 


Прибор готов к измерению.

 

Плавно повернуть рулевое колесо против часовой стрелки до появления сообщения:

 
 
ЛЮФТ ВЛЕВО ВЫБРАН

 


Далее необходимо плавно повернуть рулевое колесо по часовой стрелке до появления сообщения:

 
 
СУММАРНЫЙ ЛЮФТ ХХ.ХХ


 


Если количество измерений было установлено более одного, то после нажатия кнопки ВВОД произойдет повторение п. 7 с отображением следующего номера измерений.

Когда будет произведено количество измерений, определенное в п. 4, на индикаторе появится сообщение:

 
 
СРЕДНИЙ ЛЮФТ ХХ.ХХ


Если в пункте 4 было определено количество измерений равное одному, то последнее сообщение не появится.







Date: 2015-05-18; view: 490; Нарушение авторских прав



mydocx.ru - 2015-2026 year. (0.913 sec.) Все материалы представленные на сайте исключительно с целью ознакомления читателями и не преследуют коммерческих целей или нарушение авторских прав - Пожаловаться на публикацию