Главная Случайная страница


Полезное:

Как сделать разговор полезным и приятным Как сделать объемную звезду своими руками Как сделать то, что делать не хочется? Как сделать погремушку Как сделать так чтобы женщины сами знакомились с вами Как сделать идею коммерческой Как сделать хорошую растяжку ног? Как сделать наш разум здоровым? Как сделать, чтобы люди обманывали меньше Вопрос 4. Как сделать так, чтобы вас уважали и ценили? Как сделать лучше себе и другим людям Как сделать свидание интересным?


Категории:

АрхитектураАстрономияБиологияГеографияГеологияИнформатикаИскусствоИсторияКулинарияКультураМаркетингМатематикаМедицинаМенеджментОхрана трудаПравоПроизводствоПсихологияРелигияСоциологияСпортТехникаФизикаФилософияХимияЭкологияЭкономикаЭлектроника






Теоретичні відомості та опис приладів. Основи теорії побудови зображень в центрованих оптичних системах справедливі при виконанні таких умов:





 

Основи теорії побудови зображень в центрованих оптичних системах справедливі при виконанні таких умов:

1) припускається, що світло надходить у систему у вигляді параксіальних пучків;

2) пучки утворюють невеликі кути з головною віссю системи;

3) показник заломлення сталий для всіх променів, тобто середовище не має дисперсії або світло достатньо монохроматичне.

У практичній оптиці цих трьох умов не додержують. Ми звичайно маємо справу з світлом складного спектрального складу і повинні враховувати залежність показника заломлення від довжини хвилі (дисперсія). Коли б обмежитись лише пучками злегка нахиленими до осі, то відпала б потреба діставати зображення точок, які лежать з боку від головної осі системи. Використання на практиці параксіальних пучків променів вело б до послаблення освітленості зображень і до скорочення розмірів зображуваних предметів.

Однак, якщо усунути всі ці дуже незручні для практики обмеження, то це призведе до виникнення численних недоліків зображення. Пильне вивчення цих недоліків дало змогу значно вдосконалити сучасні оптичні системи і майже цілком усунути багато можливих похибок, або аберацій.

Головне завдання оптичної системи полягає в утворенні правильного зображення об’єкта, який у найпростішому випадку являє собою плоску картину, розміщену перпендикулярно оптичної осі системи.

Щоб дістати правильне зображення, оптична система повинна задовольняти три умови Максвелла:

1. Гомоцентричний пучок променів залишається гомоцентричним після проходження через ідеальну оптичну систему. Кожна точка площини повинна зображатися стигматично.

2. Зображення плоских фігур в ідеальній оптичній системі підлягає закону подібності (відповідність формі предмета). Масштаб зображення (збільшення) має бути сталим на всьому зображенні.

3. Якщо площина предметів перпендикулярна до головної оптичної осі, то і площина зображень залишається перпендикулярною до неї.

Порушення першої і другої з цих умов веде до зменшення різкості зображення, порушення другої і третьої – деформує зображення.

Аберації оптичних систем поділяються на монохроматичні (спотворення зображень, що утворюються променями однієї частоти) і хроматичні (зумовлені дисперсією променів різної частоти). Монохроматичними є: сферична аберація (поздовжня і поперечна), кома, астигматизм, дисторсія, кривизна поля; хроматичнимипоздовжня хроматична аберація і хроматична різниця збільшень.

Розглянемо деякі з аберацій оптичних систем.

1. Сферична аберація.

Якщо від точкового джерела світла S, розташованого на головній оптичній осі, попадає на лінзу широкий пучок світла, то параксіальний пучок дає зображення точкового джерела в точці S1, а більш віддалені промені – зображення світної точки в S2, S3 і т. д. (рис. 1).

При достатній ширині пучка монохроматичних променів стигматичності зображення не буде. Світна точка зображується на екрані, перпендикулярному до оптичної осі, у вигляді кружечка. Цей тип аберацій називають сферичною аберацією. Оскільки сферична аберація відраховується вздовж оптичної осі, то вона дістала назву поздовжньої сферичної аберації. Мірою поздовжньої сферичної аберації ∆S є різниця відстаней від центра лінзи до зображення для широких і параксіальних променів, тобто

∆S = l – fD, (1)

 

де fD – фокусна відстань лінзи для жовтої лінії натрію = 586 нм), l – відстань від центра лінзи до точки, в якій визначається сферична аберація.

 

 
 

 

 


S3 S2

S1

L

 

fD

 

Рис. 1. Сферична аберація

 

Для збиральних лінз поздовжня сферична аберація від'ємна, для розсіювальних – додатна. Тому, комбінуючи розсіювальні і збиральні лінзи, можна виправляти сферичну аберацію. Також для усунення сферичної аберації використовують діафрагму, що виділяє пучок променів, близьких до параксіальних.

2. Астигматизм.

Втрата гомоцентричності пучка променів внаслідок скісного падіння їх на лінзу або неоднаковості кривизни поверхонь лінзи в довільних двох перерізах називається астигматизмом. Сферична поверхня фронту гомоцентричного пучка променів, що попадає на лінзу, при виході з неї внаслідок астигматизму стає поверхнею двоякої кривизни. Інакше кажучи, заломлений у лінзі пучок світлових променів стає астигматичним пучком, що

має двояку кривизну, завдяки чому поверхні зображення вертикальних і горизонтальних ліній предмета виявляються розділеними в просторі. На рис. 2 зображено астигматичний пучок променів.


Промені вертикальних меридіональних поверхонь астигматичного пучка перетнуться по лінії , а промені горизонтальних сагітальних поверхонь перетнуться по лінії . Відповідно радіусом кривизни меридіональної поверхні буде відстань а сагітальної – . Величину називають астигматичною різницею.

 

Рис. 2. Астигматичний пучок променів

Причиною астигматизму можуть бути також асиметрія оптичної системи, невідпрацьованість її, наявність дефектів у лінзах.

Дослідно астигматичну різницю визначають із спостережень зображення вертикальних і горизонтальних ліній сітки при різних кутах повороту лінзи.

3. Хроматична аберація.

Завдяки залежності показника заломлення прозорих речовин від довжини світлової хвилі пучок променів білого світла при проходженні через лінзу розчленовується на монохроматичні промені, які фокусуються в різних точках. Найближче від лінзи розміщується фокус фіолетових променів, а найдальше – фокус червоних променів. Тому на екрані, розміщеному перпендикулярно до оптичної осі, зображення точки матиме вигляд райдужного кружечка. Цей недолік зображення називається хроматичною аберацією.

Фокусна відстань лінзи залежить від її показника заломлення і від радіусів кривизни сферичних поверхонь, що обмежують лінзу:

f = 1/(n-1)(1/R1 + 1/R2) (2)

Оскільки , то і . Тому навіть параксіальний немонохроматичний пучок променів після заломлення в лінзі матиме цілий ряд фокусів уздовж головної оптичної осі, кожний з яких відповідатиме певній довжині хвилі. Тому на практиці визначають фокусну відстань оптичних систем для певної довжини хвилі, найчастіше для жовтої лінії натрію λD.

Поздовжня хроматична аберація лінз Δf визначається різницею фокусних відстаней для досліджуваної довжини хвилі f λ і для жовтої лінії натрію fD:

 
. (3)

Величина розбіжності променів, зумовлена хроматичною аберацією, в багато разів перевищує ефект сферичної аберації. Цей недолік можна ліквідувати завдяки комбінації збиральних і розсіювальних лінз, виготовлених із сортів скла з різною дисперсією. Наприклад, оптичне скло кронглас має меншу дисперсію, а флінтглас – більшу, тому в системі з двох лінз – збиральної з кронгласу і розсіювальної з флінтгласу – хроматична аберація може бути скомпенсована, а оптична сила системи залишиться позитивною. Таку комбіновану лінзу називають ахроматичною.

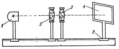
Експериментально деякі з аберацій лінз можна дослідити за допомогою оптичної лави, на якій закріплено освітлювач з сіткою 1, коліматорну 2 і досліджувану 3 лінзи і екран 4. Всі ці прилади за допомогою штативів і гвинтів встановлюються в рейтеpax 5 (рис. 3). Рейтери мають покажчики для фіксації їх положень на шкалі оптичної лави. Довжина оптичної лави має бути не меншою ніж 1 м, а ціна поділки її шкали не повинна перевищувати 1 мм. Рейтер з досліджуваною лінзою має лімб для відліку кута повороту лінзи. В оправу досліджуваної лінзи можуть бути встановлені картонні діафрагми з отворами і кільцями різних діаметрів. Коліматорна лінза довгофокусна. Освітлювач з сіткою має оправу для встановлення світлофільтрів.

Рис. 3. Схема експериментальної установки

 







Date: 2015-05-18; view: 807; Нарушение авторских прав



mydocx.ru - 2015-2026 year. (1.911 sec.) Все материалы представленные на сайте исключительно с целью ознакомления читателями и не преследуют коммерческих целей или нарушение авторских прав - Пожаловаться на публикацию