Главная Случайная страница


Полезное:

Как сделать разговор полезным и приятным Как сделать объемную звезду своими руками Как сделать то, что делать не хочется? Как сделать погремушку Как сделать так чтобы женщины сами знакомились с вами Как сделать идею коммерческой Как сделать хорошую растяжку ног? Как сделать наш разум здоровым? Как сделать, чтобы люди обманывали меньше Вопрос 4. Как сделать так, чтобы вас уважали и ценили? Как сделать лучше себе и другим людям Как сделать свидание интересным?


Категории:

АрхитектураАстрономияБиологияГеографияГеологияИнформатикаИскусствоИсторияКулинарияКультураМаркетингМатематикаМедицинаМенеджментОхрана трудаПравоПроизводствоПсихологияРелигияСоциологияСпортТехникаФизикаФилософияХимияЭкологияЭкономикаЭлектроника






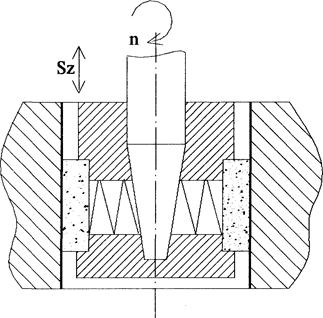
Заготовка 1





Направляющая часть Режущая часть часть

 

 

Рис.4.11. Схема протягивания

 

 

 

Рис. 4.12. Протяжки

 

Для обработки отверстий в заготовках из цветных сплавов применя­ют раскатывание (рис. 4.13). При этом методе происходит пластическое деформиро­вание обрабатываемой поверхности без снятия припуска. Снижается шеро­ховатость и упрочняется поверхностный слой.

Получают отверстия точностью 6-7 квалитетов, шероховатостью Ra до 0,1 мкм.

 

 

 

Рис.4.13. Схема раскатывания

 

 

При обработке отверстий в закаленных заготовках применяют внутреннее круглое шлифование (рис. 4.14). Полу­чают отверстия 5-6 квалитетов точности, шероховатостью Ra до 0,16 мкм.

Рис. 4.14. Шлифование отверстий

 

Для чистовой обработки отверстий применяется хонингование (рис.4.15). Получают отверстия 5-7 квалитетов точности, шероховатостью Ra до 0,04 мкм. Инструмент - хон.

Рис.4.15. Схема хонингования

Типовые маршруты обработки отверстий

Незакаленные материалы:

1. Отверстие диаметром до 50мм: сверление - зенкерование - развертыва­ние (черновое + чистовое).

2. Корпусные детали - отверстия диаметром более 50мм: растачивание (черновое + чистовое + тонкое).

3. Отверстия диаметром от 20 до 50мм в деталях типа тел вращения: свер­ление - зенкерование - протягивание.

4. Заготовки из цветных металлов: сверление - зенкерование - развертыва­ние - раскатывание.

Закаленные материалы:

1.Тела вращения: сверление - зенкерование - термообработка - шлифование.

2. В корпусных деталях:

- сверление - зенкерование - развертывание (черновое) - термообработка - хонингование;

- растачивание (черновое + чистовое) - термообработка - хонингование.

 







Date: 2015-05-09; view: 722; Нарушение авторских прав



mydocx.ru - 2015-2026 year. (2.251 sec.) Все материалы представленные на сайте исключительно с целью ознакомления читателями и не преследуют коммерческих целей или нарушение авторских прав - Пожаловаться на публикацию