Главная Случайная страница


Полезное:

Как сделать разговор полезным и приятным Как сделать объемную звезду своими руками Как сделать то, что делать не хочется? Как сделать погремушку Как сделать так чтобы женщины сами знакомились с вами Как сделать идею коммерческой Как сделать хорошую растяжку ног? Как сделать наш разум здоровым? Как сделать, чтобы люди обманывали меньше Вопрос 4. Как сделать так, чтобы вас уважали и ценили? Как сделать лучше себе и другим людям Как сделать свидание интересным?


Категории:

АрхитектураАстрономияБиологияГеографияГеологияИнформатикаИскусствоИсторияКулинарияКультураМаркетингМатематикаМедицинаМенеджментОхрана трудаПравоПроизводствоПсихологияРелигияСоциологияСпортТехникаФизикаФилософияХимияЭкологияЭкономикаЭлектроника






доц. Алексеев В.П

Отчет

по лабораторной работе №1

 

по курсу: “Термодинамика”

 

“Изучение приборов для измерения
термодинамических параметров”

 

 

Выполнил: ст. гр. ГИ-06-3у

Рассказов С.А.

 

Принял:

доц. Алексеев В.П.

 

 

Алчевск 2008


Лабораторная работа №1

 

Изучение приборов для измерения
термодинамических параметров

 

Цель: изучить наиболее распространенные способы измерения температуры и давления, применяемые в промышленных теплоэнергетических и теплотехнических установках; конструкции и принципы работы приборов для измерения температуры и давления.

 

Общие указания

 

Прежде чем приступить к изучению способов измерения термодинамических параметров ( и ), необходимо проработать соответствующие разделы курса "Термодинамика и теплотехника" по конспекту и работам [1.2]. Термодинамические параметры состояния, удельный объем (), абсолютное давление () и абсолютная температура () являются величинами, которые играют важную роль при составлении уравнений состояния идеальных и реальных газов, анализе термодинамических циклов и процессов, протекающих в тепловых и холодильных машинах Удельный объем обычно рассчитывают, а температуру и давление измеряют.

Одним из важнейших термодинамических параметров является абсолютная температура. Для измерения температуры применяются различные шкалы – Цельсия, Кельвина, Фаренгейта и др. Наиболее употребительной является международная стоградусная температурная шкала (шкала Цельсия, °С), в которой интервал температур от точки плавление льда до точки кипения воды при атмосферном давлении разбит на сто равных частей (градусов). Особо важную роль в термодинамике играет так называемая термодинамическая шкала температур (шкала Кельвина, К). Соотношения между шкалой Цельсия и Кельвина следующие:

;

.

Другой важный параметр состояния – абсолютное давление – представляет собой силу, действующую по нормали к поверхности тела и отнесенную к единице площади этой поверхности. Необходимо знать, что избыточное давление не является параметром состояния, поскольку он зависит от давления окружающей среды. Основной единицей измерения давления в системе СИ является Паскаль (1 Па = 1 Н/м2), используются также килопаскаль, мегапаскаль и т.д.: 1 Па = 10-3 кПа; 1 Па = 10-6 МПа. В технике применяются и другие единицы измерения давления: бар, так называемая техническая атмосфера или просто атмосфера (1 кгс/см ), миллиметр ртутного или водяного столба. При определении абсолютного давления (которое обсчитывается от абсолютного нуля давления или абсолютного вакуума) следует различать два случая (рис. 1.1):

а) давление в сосуде больше атмосферного;

б) давление в сосуде меньше атмосферного.

В первом случае абсолютное давление следует определять по формуле:

,

а во втором случае – по формуле:

.

Качественная высокопроизводительная и экономичная работа тепловых устройств требует применения современных контрольно-измерительных приборов, наиболее совершенных высокоточных способов измерения. В промышленных системах автоматизации применяются следующие устройства для измерительной аппаратуры:

- термоэлектрические термометры (термопары);

- термометры сопротивления;

- пирометры излучения;

- манометрические термометры;

- термометры расширения.

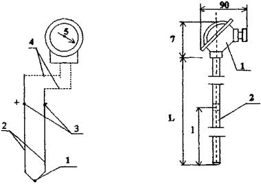
В качестве датчика температуры широко используются термопары. В основу измерения температуры с помощью термопар положено явление термоэлектрического эффекта, т.е. зависимость термоэлектродвижущей силы (ЭДС), которая возникает на спае двух разнородных проводников (рис. 1.2). В схему термоэлектрической цепи входит термопара соединительные провода и измерительный прибор. Термопара состоит из двух разнородных проводников 2, концы которых спаяны между собой. Спай 1 называют рабочим, а концы 3 – свободными. Измерительный прибор 5 соединяется с термопарой с помощью соединительных проводов 4. В качестве вторичного измерительного прибора применяются милливольтметр или потенциометры.

Для получения однозначной зависимости между термоЭДС и температурой рабочего спая температура свободных концов должна быть стабилизирована. Свободные концы не всегда можно термостатировать, т.е. поддерживать их температуру постоянной непосредственно вблизи термопары, поэтому их переносят в другую точку. Для этой цели применяют так называемые компенсационные провода 4.

 

а) б)


а – давление в сосуде больше атмосферного;

б – давление в сосуде меньше атмосферного.

Рисунок 1.1 – Определение абсолютного давления.

Рисунок 1.2 – Спай двух разнородных Рисунок 1.3 – Конструкция

проводников термопары

 

Необходимо знать, что наиболее распространены термопары стандартных градуировок: ПП (платинородий – платина), ХА (хромель – алюмель), ХК (хромель – копель) и др. Платинородий – платиновые термопары применяют для измерения среды температурой до 1600 С; хромель – алюмелевые – до 1000 и кратковременно до 1300 °С; хромель копелевые – до 600 и кратковременно до 800 °С. Конструкция термопары показана на рис. 1.3.

Электроды изолируют друг от друга фарфоровыми трубками и помещают в защитный чехол 2. Он в зависимости от температуры среды изготавливается из фарфора, карборунда, жароупорной стали. В головке термопары 1 помещают пластмассовую или фарфоровую панель с клеммами. Изнутри к клеммам подключены электроды – термопары, а снаружи соединительные или компенсационные провода. Для измерения высоких температур применяют термопары из тугоплавких материалов, например, вольфраммолибденовые, вольфраморениевые и другие.

Измерение температуры термометрами сопротивления основано на свойстве некоторых материалов изменять электрическое сопротивление в зависимости от температуры. Термометры сопротивления бывают металлические и полупроводниковые. Чувствительный элемент металлического термометра сопротивления представляет собой тонкую проволоку диаметром 0,05…0,1 мм, намотанную на каркас из изоляционного материала, например, кварца, пластмассы, либо помещенную в виде спирали в керамический каркас с заполнением спирали изолирующим порошком и последующей герметизацией чувствительного элемента. Изготовленные таким образом чувствительные элементы помещаются в защитный чехол, который затем погружается в измеряемую среду (рис. 1.5). Чувствительный элемент полупроводникового термометра сопротивления, представляет собой кристалл полупроводникового материала, как правило, герметизированный в стеклянном или металлическом чехле небольших размеров. В комплекте с термометрами сопротивления используются логометры и автоматические уравновешенные мосты. Термометры сопротивления изготавливают из платины (ТСП) и из меди (ТСМ). Область применения технических платиновых термометров сопротивления от – 260 до + 1100 °С, например, термометры сопротивления типа ТСП-5071 применяют в интервале температур – 200... + 750 °С. Медные термометры сопротивления применяют для измерения температур в интервале – 50... +150 °С. Полупроводниковые термометры сопротивления выпускаются для измерения температур в диапазоне от 1 до 600 К.

Следует знать, что в промышленности применяются четыре разновидности пирометров, измеряющих температуру по тепловому излучению тел. Измерение температуры тел пирометрами излучения осуществляют бесконтактным способом, т.е. на расстоянии. Все пирометры градуируются по абсолютно черному телу. При этом величина излучения реального тела отличается от излучения абсолютно черного тела. Это отличие выражается коэффициентом излучения или степенью черноты тела. Возможность определения температуры тел с различной степенью черноты при помощи одного и того же прибора достигается градуировкой прибора при температуре абсолютно черного тела. Такой способ градуировки приводит к получению заниженных результатов. Действительную температуру определяют введением поправок на неполноту излучения реального тела по сравнению с абсолютно черным телом. Пирометрами основных типов являются радиационные и оптические.


Метод измерения температуры базируется на зависимости энергии излучения тела от его температуры, энергия излучения при этом преобразуется в электрический сигнал, который измеряется вторичным прибором (рис. 1.4). Лучи от раскаленного тела 1 собираются линзой объектива 4 и фокусируются на термочувствительный элемент (термобатарею) 2, расположенный в корпусе пирометра 3. В радиационных пирометрах термочувствительным элементом является многослойная батарея, состоящая из десяти очень тонких хромель-капелевых термопар. Прибор следует визировать так, чтобы нагретое тело было видно в телескопе и закрывало все поле зрения. Величину термоЭДС, развиваемую термобатареей, измеряют милливольтметром или потенциометром 5, отградуированным в градусах по температуре излучения абсолютно черного тела. Телескоп пирометра соединен со вторичным прибором через панель с уравнительными и эквивалентными сопротивлениями, которые обеспечивают независимость показания телескопа при различных сочетаниях вторичных приборов. Интервал измерения температуры 100…4000 °С и выше.

 

Рисунок 1.4 – Вторичный прибор

 

Необходимо знать, что принцип действия оптического пирометра с исчезающей нитью основан на сравнении в монохроматическом свете яркости излучения накаленного тела, температура которого измеряется, с яркостью накала эталонной нити. Световой поток, испускаемый раскаленным телом, поступает в прибор через объектив и далее через окуляр в глаз наблюдателя. Наблюдатель сравнивает яркость светового потока с яркостью нити пирометрической лампы. Нить лампы накаляется от аккумулятора, и регулирование накала осуществляется реостатом до тех пор, пока верхняя часть нити не исчезает на фоне изображения объекта.

Оптический пирометр предназначен для измерения температур от 800 до 2000 °С. Однако нить лампы не выдерживает накала выше 1400 °С, поэтому для измерения температур свыше 1400 °С световой поток накаленного тела ослабляется дополнительным светофильтром. Поэтому шакала прибора имеет два различных интервала измерений: без ослабляющего светофильтра (800...1400 °С) и со светофильтром (1200…2000 °С).

Разновидностью пирометров монохроматического излучения являются фотоэлектрические пирометры. В них так же, как и в оптических пирометрах, производится сравнение интенсивности излучения от нагретой поверхности и от нити лампы, но в отличие от оптических пирометров это сравнение выполняется не визуально (на глаз), а при помощи фотоэлемента или фотосопротивления и специального электронного блока. Если оптический пирометр – переносной прибор, на котором операции измерения температуры производят вручную, то фотоэлектрический пирометр – стационарный автоматизированный комплект аппаратуры, состоящий из собственно пирометра и вторичного показывающего и регистрирующего прибора.


Принцип действия манометрических термометров основан на изменении давления рабочего вещества, находящегося в замкнутом объеме, в зависимости от температуры. Рабочее вещество, заключенное в термобаллоне, при нагревании создает давление, которое соответствует определенной температуре вещества. От термобаллона давление передается по капилляру к согнутой по окружности полой трубке манометра. Свободный конец трубки закрыт наглухо и может перемещаться. К нему с помощью передаточной механической системы присоединены стрелка и перо. Под воздействием давления внутри трубки манометра ее свободный конец перемещается до тех пор, пока избыточное давление не уравновесится упругим натяжением материала трубки. На шкале манометра нанесены значения температуры, соответствующие давлению рабочего вещества. В качестве рабочего вещества используют ртуть, ксилол, бензол, хлористый метил, азот. Соответственно манометрические термометры разделяют на жидкостные, паровые и газовые. Пределы измерения температуры от 0 до 300 °С.

Кроме рассмотренных приборов для измерения температуры, в промышленности находят широкое применение жидкостные термометры расширения, состоящие из стеклянного капилляра с небольшим резервуаром внизу, заполненные ртутью, спиртом и другими жидкостями. Жидкость при нагревании расширяется, высота ее столбика в капилляре увеличивается и является мерой температуры. Промышленные жидкостные термометры применяются для измерения температуры до 300 °С. К термометрам расширения относятся также механические термометры с биметаллическими пластинами.

Необходимо знать, что при измерении давления различают абсолютное, избыточное, атмосферное давление, разрежение (вакуум), которые связаны между собой соотношениями:

,

,

,

,

,

.

где − абсолютное давление;

− избыточное давление;

− атмосферное давление;

− разрежение (вакуум);

− перепад давления.

Приборы, измеряющие избыточное давление, называют манометрами; измеряющие разрежение – вакуумметрами; измеряющие разность двух давлений – дифманометрами.

 

Рисунок 1.5 – Термометр Рисунок 1.6 – Жидкостный

сопротивления U-образный манометр

 

Простейшим прибором для измерения давления и разрежения является жидкостный U – образный манометр (рис. 1.6). Он состоит из 2-коленной стеклянной трубки, на которой предусмотрена шкала, градуированная в миллиметрах вниз и вверх от некоторой средней отметки, обозначенной нулем. Трубка заполняется жидкостью (водой, спиртом, ртутью, маслом) примерно до половины ее высоты. Если присоединить одно из колен к сосуду, находящемуся под избыточным давлением, то жидкость в этом колене опустится, а в другом поднимется. Разность уровней жидкости в одном и другом коленах покажет величину избыточного давления, выраженную в миллиметрах столба той жидкости, которая заполняет прибор. В пружинных приборах для измерения давления и разрежения используют упругость различных пружин (рис. 1.7): трубчатой, многовитковой трубчатой, пластинчатой (мембраны) и гармоникообразной – сильфона. Упругие элементы – трубка, мембрана, сильфон – в таких манометрах механически соединены со стрелкой или с электрическим датчиком для регистрации показаний по шкале прибора. Для измерения небольших давлений и разрежений применяются напоромеры, тягонапоромеры с упругими или вялыми мембранными чувствительными элементами.

 

Рисунок 1.7 – Виды пружин

 

Контрольные вопросы

 

1 Краткая характеристика способов измерения температуры.

2 Характеристика термоэлектрических термометров.

3 Основные типы термопар, принцип работы термопары. Укажите пределы измерения температур. Какие вторичные приборы используются при измерении температуры с помощью термопар?

4 Какие температурные шкалы применяются?

5 Принцип действия, типы и область применения термометров сопротивления. Какие вторичные приборы используются при измерении температур с помощью термометров сопротивления?

6 Принцип действия и характеристика пирометров излучения, область применения оптических и радиационных пирометров.

7 Краткая характеристика манометрических термометров.

8 Характеристика термометров расширения.

9 Что такое абсолютное, избыточное давление и разрежение? Единицы измерения давления, связь между абсолютным, избыточным и атмосферным давлением, разрежением (вакуумом).

10 Какие приборы используют для измерения избыточного давления?

11 Какие приборы используют для измерения атмосферного давления, разрежения (вакуума) и перепада давления?



<== предыдущая | следующая ==>
Техника безопасности при лазании с верхней страховкой | Розділ I. Загальні положення 1 page





Date: 2015-05-09; view: 446; Нарушение авторских прав



mydocx.ru - 2015-2026 year. (8.539 sec.) Все материалы представленные на сайте исключительно с целью ознакомления читателями и не преследуют коммерческих целей или нарушение авторских прав - Пожаловаться на публикацию