Главная Случайная страница


Полезное:

Как сделать разговор полезным и приятным Как сделать объемную звезду своими руками Как сделать то, что делать не хочется? Как сделать погремушку Как сделать так чтобы женщины сами знакомились с вами Как сделать идею коммерческой Как сделать хорошую растяжку ног? Как сделать наш разум здоровым? Как сделать, чтобы люди обманывали меньше Вопрос 4. Как сделать так, чтобы вас уважали и ценили? Как сделать лучше себе и другим людям Как сделать свидание интересным?


Категории:

АрхитектураАстрономияБиологияГеографияГеологияИнформатикаИскусствоИсторияКулинарияКультураМаркетингМатематикаМедицинаМенеджментОхрана трудаПравоПроизводствоПсихологияРелигияСоциологияСпортТехникаФизикаФилософияХимияЭкологияЭкономикаЭлектроника






Эксперимент 3. Подключение катушки индуктивности с начальным током к резистору





Откройте файл с7_02 (рис. 7.2). Рассчитайте временные зависимости тока через ка­тушку iL(t) и напряжения на ней uL(t) при закорачивании RL-цепи переключением ключа [Space].

Получите осциллограммы iL(t) и uL(t). По осциллограммам определите IL(0), UL(0+) и постоянную времени t. Сравните их с расчетными значениями. UL(0+) - напряжение на катушке непосредственно после коммутации. (Смотри примечание к эксперименту 1).

Эксперимент 4. Подключение катушки индуктивности к неидеальному источ­нику постоянной ЭДС.

Рассчитайте временные зависимости напря­жения на катушке uL(t) и тока через нее iL(t) при подключении RL-цепи к источнику посто­янной ЭДС (рис. 7.2).

Подключение производится переключени­ем ключа [Space]. Получите осциллограммы uL(t) и iL(t). По осциллограммам определите IL(0+), UL(0) и постоянную времени т. Сравните их с расчетными значениями.

 

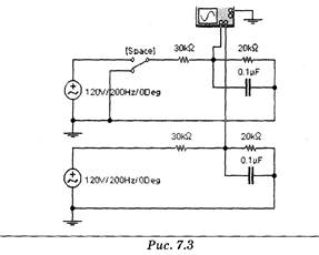
Эксперимент 5. Подключение конденсатора с начальным напряжением Uco к неидеальному источнику синусоидальной ЭДС.

Откройте файл с7_03 (рис. 7.3). Рассчитайте временные за­висимости напряжения на конденсаторе uc(t) и тока че­рез него ic(t) при подключе­нии RC-цепи к источнику гармонической ЭДС пере­ключением ключа [Space]. Найдите временную зависи­мость . Получите осциллограммы uc(t), uc (t) и ic(t). По осциллограм­мам определите , и постоянную времени τ. Сравните их с расчетными значениями.

Эксперимент 6. Подключение катушки индуктивности с начальным током ILO к неидеальному источнику синусоидальной ЭДС.

Откройте файл с7_04 (рис. 7.4). Рассчитайте временные зави­симости тока в катушке ii/t) и напряжения на ней uL(t) при подключении RL-цепи к ис­точнику гармонической ЭДС переключением ключа [Space]. Найдите временную зависи­мость AiL(t)= iL(t) - iLycT(t). Получите осциллограммы ib(t), AiL(t) и uL(t). По осциллограм­мам определите IL(0), UL(0+), AILO и постоянную времени т. Сравните их с расчетными значениями.

 

 







Date: 2015-05-08; view: 826; Нарушение авторских прав



mydocx.ru - 2015-2026 year. (1.252 sec.) Все материалы представленные на сайте исключительно с целью ознакомления читателями и не преследуют коммерческих целей или нарушение авторских прав - Пожаловаться на публикацию