Главная Случайная страница


Полезное:

Как сделать разговор полезным и приятным Как сделать объемную звезду своими руками Как сделать то, что делать не хочется? Как сделать погремушку Как сделать так чтобы женщины сами знакомились с вами Как сделать идею коммерческой Как сделать хорошую растяжку ног? Как сделать наш разум здоровым? Как сделать, чтобы люди обманывали меньше Вопрос 4. Как сделать так, чтобы вас уважали и ценили? Как сделать лучше себе и другим людям Как сделать свидание интересным?


Категории:

АрхитектураАстрономияБиологияГеографияГеологияИнформатикаИскусствоИсторияКулинарияКультураМаркетингМатематикаМедицинаМенеджментОхрана трудаПравоПроизводствоПсихологияРелигияСоциологияСпортТехникаФизикаФилософияХимияЭкологияЭкономикаЭлектроника






Принципиальная схема установки и характеристики метода





Магнетронное распыление относится к методам распыления материалов ионной бомбардировкой.

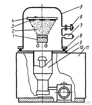
Рис.1 - Схема установки для нанесения плёнок: 1 – магнетрон; 2 – поток частиц; 3 - подложка; 4 - подложкодержатель; 5 – рабочая вакуумная камера; 6 – кран напуска воздуха; 7 – датчик изменения вакуума; 8 – кольцевая резиновая прокладка; 9 – базовая плита; 10 – вакуумная откачная система; 11 – каркас.

Рис.2 - Схема магнетрона: 1 – мишень, одновременно являющаяся катодом распылительной системы; 2 – постоянный магнит, создающий магнитное поле, силовые линии которого параллельны поверхности мишени; 3 – кольцевой анод.

При подаче постоянного напряжения между мишенью (отрицательный потенциал) и анодом (положительный потенциал) возникает неоднородное электрическое поле и возбуждается тлеющий разряд. Наличие замкнутого магнитного поля к распыляемой поверхности мишени позволяет локализовать плазму разряда непосредственно у мишени. Электрон циркулирует в электромагнитной ловушке до тех пор, пока не произойдет несколько ионизирующих столкновений с атомами рабочего газа, в результате которых он потеряет полученную от электрического поля энергию. Таким образом, большая часть энергии электрона, прежде чем он попадает на анод, используется на ионизацию и возбуждение, что значительно увеличивает эффективность процесса ионизации и приводит к возрастанию концентрации положительных ионов у поверхности мишени. Это, в свою очередь, приводит к увеличению интенсивности ионной бомбардировки мишени и значительный рост скорости осаждения покрытия.

Таким образом, в магнетронных устройствах при одновременном действии электрических и магнитных полей изменяется траектория движения электрона. Электроны, эмитированные катодом, и образующиеся в результате ионизации, под действием замкнутого магнитного поля локализуются непосредственно над поверхностью распыляемого материала. Они попадают в ловушку, образуемую, с одной стороны, действием магнитного поля, заставляющего двигаться электроны по циклоидальной траектории вблизи поверхности, с другой – отталкиванием их электрическим полем катода в направлении к аноду. Вероятность и количество столкновения электронов с молекулами аргона и их ионизация резко возрастают. Из-за неоднородности действия электрических и магнитных полей в прикатодной зоне интенсивность ионизации в различных участках различна. Максимальное значение наблюдается в области, где линии индукции магнитного поля перпендикулярны вектору напряженности электрического поля, минимальное – где их направление совпадает. Поверхность мишени, расположенная между системами входа и выхода силовых линий магнитного поля, интенсивно распыляется и имеет вид замкнутой дорожки, геометрия которой определяется формой полюсов магнитной системы. Локализация плазмы в прикатодном пространстве позволила получить значительно большую плотность ионного тока при меньших рабочих давлениях, и, соответственно, обеспечить высокие скорости распыления.

Магнетронные устройства относятся к низковольтным системам ионного распыления. Напряжение источника питания постоянного тока не превышает 1000-1500 В. При подаче отрицательного потенциала на катод, между электродами возбуждается аномальный тлеющий разряд в среде аргона. Наличие магнитной ловушки обеспечивает при одних и тех же давлениях газа возникновение разряда при более низких напряжениях по сравнению с диодными системами. Напряжение разряда составляет 300-700 В.

Магнетрон может работать в диапазонах давления рабочего газа от 10-2 до 1 Па и выше. Давление газа и индукция магнитного поля оказывают значительные влияния на характеристики разряда. Понижение давления обуславливает повышение рабочих напряжений. В то же время для каждой магнетронной системы существует некоторый интервал значений, обычно 10-1 – 1 Па, в котором колебание давления не оказывает существенного влияния на изменение параметров разряда. Воздействие магнитного поля аналогично действию газовой среды. Поэтому низкие рабочие давления в магнетронах обеспечивают увеличение индукции магнитного поля, величина которой у поверхности катода составляет 0,03-0,1 Тл. Повышение удельной мощности способствует стабилизации разряда в области низких давлений.

Преимущества метода:

- высокая скорость распыления при низких рабочих напряжениях (600-800 В) и при небольших давлениях рабочего газа (5⋅10-1 -10 Па),

- отсутствие перегрева подложки,

- малая степень загрязнения пленок,

- возможность получения равномерных по толщине пленок на большей площади подложек.







Date: 2015-05-08; view: 1101; Нарушение авторских прав



mydocx.ru - 2015-2026 year. (0.814 sec.) Все материалы представленные на сайте исключительно с целью ознакомления читателями и не преследуют коммерческих целей или нарушение авторских прав - Пожаловаться на публикацию