Главная Случайная страница


Полезное:

Как сделать разговор полезным и приятным Как сделать объемную звезду своими руками Как сделать то, что делать не хочется? Как сделать погремушку Как сделать так чтобы женщины сами знакомились с вами Как сделать идею коммерческой Как сделать хорошую растяжку ног? Как сделать наш разум здоровым? Как сделать, чтобы люди обманывали меньше Вопрос 4. Как сделать так, чтобы вас уважали и ценили? Как сделать лучше себе и другим людям Как сделать свидание интересным?


Категории:

АрхитектураАстрономияБиологияГеографияГеологияИнформатикаИскусствоИсторияКулинарияКультураМаркетингМатематикаМедицинаМенеджментОхрана трудаПравоПроизводствоПсихологияРелигияСоциологияСпортТехникаФизикаФилософияХимияЭкологияЭкономикаЭлектроника






Определение размеров турбинных ступеней





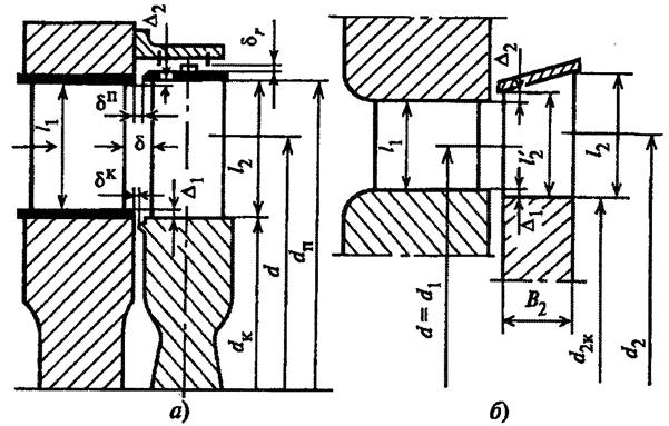
На рис.35 приведен схематический чертеж проточной части одновенечной турбинной ступени.

 

Рисунок 35 - Проточная часть одновенечной ступени с цилиндрическим (а)

и коническим (б) бандажами рабочих лопаток

 

При расчете ступени турбины решают две взаимосвязанные задачи:

1) определение основных размеров сопловых и рабочих лопаток: высот l1 и l2, углов и ; выбор типа применяемого профиля лопаток и его угла установки, величины хорды, относительного и абсолютного шага лопаток, их числа z1 и z2, перекрыш в ступени, типа бандажа рабочих лопаток и т.п.;

2) определение относительных КПД ступени и , ее мощности и усилий, действующих на рабочие лопатки.

Решение этих задач должно быть подчинено требованиям высокой надежности и экономичности ступени с учетом затрат на ее изготовление. Размеры сопловых и рабочих лопаток турбинных ступеней определяют одновременно с расчетом и построением треугольников скоростей. Ступень рассчитывают по следующим исходным данным:

1) расходу пара (газа) через ступень G;

2) параметрам пара перед ступенью C0, P0, t0;

3) давлению за ступенью P2.

Кроме этих данных из предварительного распределения теплоперепадов по ступеням многоступенчатой турбины известны приближенные значения отношения скоростей U/Cф, средний диаметр ступени d и степень реактивности .

При расчете размеров сопловой решетки (рис. 36 и 37) при дозвуковых скоростях на выходе из этой решетки основными расчетными размерами является площадь горловых сечений F1, высота лопаток l1 и степень парциальности е ( - отношение длины дуги, занятой соплами L, ко всей длине окружности по среднему диаметру решетки).

 

Рисунок 36 - Формы каналов сопловой и рабочей решеток

 

Площадь горловых сечений или выходная площадь сопловой решетки может быть определена из уравнения неразрывности с использованием коэффициента расхода сопловой решетки :

,

где – теоретическая скорость на выходе из сопловой решетки;

– удельный объем при изоэнтропном расширении в сопловой решетке; – коэффициент расхода сопловой решетки.

Коэффициент расхода решеток, так же как и коэффициент потерь , зависит от геометрических характеристик решеток и режимных параметров течения (в справочниках). Для влажного пара коэффициенты расхода выше, чем для перегретого пара.

По значениям можно определить высоту сопловых лопаток .

, .

 

Рисунок 37 - Треугольники скоростей для ступени:

а – векторы скоростей; б - треугольники скоростей

 

В этой формуле средний диаметр d обычно известен из задания на расчет, принимают исходя из объемного пропуска пара.

При малых выбирают небольшие углы, чтобы получить более длинные лопатки, концевые потери у которых меньше, чем у коротких. Следует иметь в виду, что при малых углах профильные потери энергии в соплах увеличиваются, однако уменьшение концевых потерь энергии в коротких лопатках превалирует над эффектом увеличения профильных потерь. Кроме того, для ступеней, в которых энергия выходной скорости не используется, малые углы выхода уменьшают потери энергии с выходной скоростью, пропорциональные . Обычно при умеренных высотах лопаток , а в ступенях с длинными лопатками .

В случаях, когда произведение е <12 мм и угол выбран малым, необходимо вводить парциальный впуск пара. При этом высоту лопаток следует принимать равной 12-14 мм и определять степень парциальности е, если проводится ориентировочный расчет. При высотах лопаток <12 мм интенсивность увеличения концевых потерь энергии выше, чем интенсивность снижения потерь парциального подвода.

Необходимо отметить, что для регулирующих ступеней при сопловом парораспределении, независимо от значения e , приходится вводить парциальный впуск пара, т.к. в этой ступени конструктивно невозможно обеспечить подвод пара по всей окружности. Максимальное значение степени парциальности в этом случае не превышает е=0,8÷0,9.

Прежде чем определить основные размеры рабочей решетки, необходимо построить треугольник скоростей на входе в рабочие лопатки, найти относительную скорость и угол . Для построения треугольника скоростей определяют скорость . Значения находят из графиков при ориентировочных расчетах, а при более точных расчетах по формуле , причем коэффициент полных потерь берут по экспериментальным данным, например, из атласа профилей. Размер хорды профиля сопловой решетки рассчитывают по условиям прочности и жесткости диафрагмы, он находится обычно в пределах 30-100 мм. Иногда хорду профиля выбирают небольшой из условия малых концевых потерь, а необходимую прочность и жесткость диафрагмы обеспечивают за счет ребер жесткости, устанавливаемых перед сопловыми лопатками.


Размеры рабочих лопаток, так же как и сопловых, определяют с использованием уравнения расхода, записанного для горловых сечений каналов рабочей решетки. Площадь горловых сечений или выходную площадь рабочей определяют по формуле:

,

где - теоретическая скорость на выходе из рабочих лопаток;

- удельный объем при изоэнтропном расширении в рабочей решетке;

- коэффициент расхода рабочей решетки.

Так же, как и для сопловой решетки, по площади выходного сечения можно определить : .

В этой формуле степень парциальности е равна степени парциальности сопловой решетки; средний диаметр лопаток d2 равен среднему диаметру сопловой решетки при цилиндрическом бандаже рабочих лопаток .

.

Величины и называют корневой и периферийной перекрышами.

Выбор значений перекрыш необходимо производить с учетом высоты лопаток, угла выхода потока , среднего диаметра ступени. Ориентировочные значения оптимальных перекрыш следующие: при высотах <50мм =1,0мм и =1,5÷2,0мм; при высотах 50< <150мм =1,5мм и =2,5÷4,5мм; в ступенях с длинными лопатками сумма перекрыш достигает 10-15 мм. Хорду рабочих лопаток мм выбирают из условия прочности их по напряжениям изгиба.

По вычисленному углу подбирают необходимый профиль рабочей решетки из атласа профилей и строят выходной треугольник скоростей.

Коэффициент скорости при ориентировочных расчетах находят из справочной литературы, при более точных расчетах по формуле , причем коэффициент полных потерь в рабочей решетке определяют по экспериментальным данным.

Для двухвенечной ступени скорости размеры сопловой и рабочей решеток первого ряда рассчитывают аналогично размерам решеток одновенечной ступени, а размеры направляющей и рабочей решеток второго ряда – аналогично рабочей решетке одновенечной ступени.

Как для двухвенечной, так и для одновенечной ступени возможны случаи, когда поток на выходе из сопловых, а иногда и рабочих решеток сверхзвуковой; встречаются также случаи, когда и на входе из рабочих решеток поток сверхзвуковой.

При больших сверхзвуковых скоростях на выходе из сопловых решеток при , как правило, применяют решетки с расширяющимися каналами (сопла Лаваля).

В соплах с расширяющимися каналами расчетными являются площадь минимального сечения и выходная площадь сопловой решетки . В минимальном сечении, как известно, устанавливаются критические параметры, которые можно определить с помощью h,s-диаграммы, предварительно вычислив критическое давление.

Суммарная площадь минимальных сечений сопловой решетки определяется по формуле: ,

где .

Площадь минимальных сечений сопловой решетки с расширяющимися каналами может быть вычислена также через параметры полного торможения:

.

Выходную площадь сопловой решетки и высоту лопаток е определяют так же, как и для суживающейся решетки при дозвуковых скоростях.

По отношению площадей и углу выхода потока по атласу профилей выбирают соответствующий профиль лопатки. Если в атласе подходящего профиля подобрать не удается, необходимо по аналогии с существующими высокоэффективными расширяющимися решетками создать новый профиль для проектируемой ступени.


Как указывалось выше, при определении размеров решеток ступени подбирают соответствующие аэродинамически отработанные профили из числа применяемых в турбостроении. На заводах используют отраслевые нормали профилей, разработанные в ЦКТИ, ЛМЗ, МЭИ и других организациях.

В табл.1 приведены профили и их геометрические размеры. Обозначения типов профилей составлены следующим образом. Первая буква: С – профиль для сопловых лопаток, Р – профиль для рабочих (активных) лопаток; первые две цифры - значение расчетного угла входа потока, а последние две цифры - значение угла выхода потока из решетки (среднее значение диапазона углов выхода потока, для которых может применяться данный профиль). Последняя буква обозначает уровень скоростей, на который рассчитан профиль.

Например: С-90-12А и Р-30-21А.

По выбранным характеристикам решетки профилей вычерчиванием проверяют форму межлопаточного канала. Для окончательного формирования решетки необходимо определить число профилей в решетке (круговой):

,

где d – средний диаметр решетки;

– шаг расположения профилей в решетке на среднем диаметре.

Это значение z округляют до целого. В соответствии с принятым значением числа лопаток z корректируют шаг профилей в решетке

.

Величины коэффициентов потерь приводятся в таблицах и графически в атласах профилей.

 







Date: 2015-05-08; view: 1451; Нарушение авторских прав



mydocx.ru - 2015-2026 year. (2.832 sec.) Все материалы представленные на сайте исключительно с целью ознакомления читателями и не преследуют коммерческих целей или нарушение авторских прав - Пожаловаться на публикацию