Главная Случайная страница


Полезное:

Как сделать разговор полезным и приятным Как сделать объемную звезду своими руками Как сделать то, что делать не хочется? Как сделать погремушку Как сделать так чтобы женщины сами знакомились с вами Как сделать идею коммерческой Как сделать хорошую растяжку ног? Как сделать наш разум здоровым? Как сделать, чтобы люди обманывали меньше Вопрос 4. Как сделать так, чтобы вас уважали и ценили? Как сделать лучше себе и другим людям Как сделать свидание интересным?


Категории:

АрхитектураАстрономияБиологияГеографияГеологияИнформатикаИскусствоИсторияКулинарияКультураМаркетингМатематикаМедицинаМенеджментОхрана трудаПравоПроизводствоПсихологияРелигияСоциологияСпортТехникаФизикаФилософияХимияЭкологияЭкономикаЭлектроника






Клапаны





 

Объемный принцип действия винтовых двигателей предопределил необходимость оснащения их специальными клапанами. В большинстве двигателей они представляют собой автономный узел, а иногда встроены в ротор.

Переливной клапан предназначен для сообщения внутренней полости бурильной колонны с затрубным пространством при спуско-подъемных операциях. Применение клапана уменьшает гидродинамическое воздействие на забой при спуске и подъеме колонны, а также устраняет холостое вращение двигателя при этих операциях.

Разработаны и используются несколько конструкций переливных клапанов. В одной из них, не имеющей линейно перемещающихся деталей, в качестве запорного элемента применена резиновая манжета, деформирующаяся за счет падения давления при движении жидкости в щели клапана. Клапан устанавливается в верхней части полого ротора. Серьезный недостаток этой схемы - невозможность определения утечки при

опробовании клапана на устье скважины.

Рисунок 26.Периливной клапан двигателя Д-240.

1–гидравлическая коробка; 2–седло; 3–клапан; 4–корпус; 5–пружина; 6–шток; 7–переводник.

 

В конструкции переливного клапана в первых моделях двигателей диаметром 240 и 172 мм и уплотнительный элемент клапана заимствован от бурового насоса. Выполнение основных функций клапана обеспечивает специальная гидравлическая коробка (рис. 26).

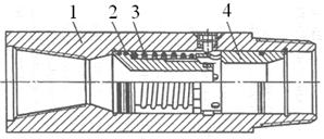
Рисунок 27. Золотниковый переливной клапан.

1– корпус; 2– поршень; 3– пружина; 4– седло.

 

В зарубежных двигателях повсеместно используются золотниковые клапаны (рис. 27).

 







Date: 2015-05-05; view: 827; Нарушение авторских прав



mydocx.ru - 2015-2026 year. (0.872 sec.) Все материалы представленные на сайте исключительно с целью ознакомления читателями и не преследуют коммерческих целей или нарушение авторских прав - Пожаловаться на публикацию