Главная Случайная страница


Полезное:

Как сделать разговор полезным и приятным Как сделать объемную звезду своими руками Как сделать то, что делать не хочется? Как сделать погремушку Как сделать так чтобы женщины сами знакомились с вами Как сделать идею коммерческой Как сделать хорошую растяжку ног? Как сделать наш разум здоровым? Как сделать, чтобы люди обманывали меньше Вопрос 4. Как сделать так, чтобы вас уважали и ценили? Как сделать лучше себе и другим людям Как сделать свидание интересным?


Категории:

АрхитектураАстрономияБиологияГеографияГеологияИнформатикаИскусствоИсторияКулинарияКультураМаркетингМатематикаМедицинаМенеджментОхрана трудаПравоПроизводствоПсихологияРелигияСоциологияСпортТехникаФизикаФилософияХимияЭкологияЭкономикаЭлектроника






Защита атмосферы от загрязнения

Для защиты воздушного бассейна от негативного антропогенного воздействия в виде загрязнения его вредными веществами используют следующие меры:

- экологизацию технологических процессов;

- очистку газовых выбросов от вредных примесей;

- рассеивание газовых выбросов в атмосфере;

- устройство санитарно-защитных зон,

- архитектурно-планировочные решения и др.

Наиболее радикальная мера охраны воздушного бассейна от загрязнения — экологизация технологических процессов и в первую очередь создание замкнутых технологических циклов, безотходных и малоотходных технологий, исключающих попадание в атмосферу вредных загрязняющих веществ.

Экологизация технологических процессов предусматривает, в частности, создание непрерывных технологических процессов производства, замену местных котельных установок на централизованное тепло, предварительное очищение топлива и сырья от вредных примесей, замену угля и мазута на природный газ, применение гидрообеспыливания, перевод на электропривод компрессоров, сваебойных агрегатов, насосов и др.

Все шире применяют частичную рециркуляцию, т. е. повторное использование отходящих газов.

Учитывая исключительную актуальность охраны атмосферного воздуха от загрязнения отработанными газами (ОГ) автомобилей, первоочередной проблемой является создание экологически «чистых» видов транспорта. В настоящее время ведется активный поиск более «чистого» топлива, чем бензин. В качестве его заменителя рассматриваются экологически чистое газовое топливо, метиловый спирт (метанол), малотоксичный аммиак и идеальное топливо — водород. Продолжаются интенсивные разработки по замене карбюраторного двигателя на более экологичные типы — дизельный, паровой, газотурбинный и др.

К сожалению нынешний уровень развития экологизации технологических процессов, внедрения замкнутых технологических циклов и т. д. недостаточен для полногопредотвращения выбросов токсичных веществ в атмосферу. Поэтому на предприятиях повсеместно используются различные методы очистки отходящих газов от аэрозолей (пыли, золы, сажи) и токсичных газо- и парообразных примесей (NO, N02, S02, S03)

Классификация пылеулавливающего оборудования основана на принципиальных особенностях процесса отделения твердых частиц от газовой фазы, это:

 

1) Оборудование для улавливания пыли сухим способом, к которому относятся циклоны, пылеосадительные камеры, вихревые циклоны, жалюзийные и ротационные пылеуловители. Основной принцип работы – оседание под действием силы тяжести, центробежных сил.

Циклоны - наиболее распространенные аппараты пылеочистки. Применяются на предприятиях металлургии, химической и нефтяной промышленности, в энергетике, деревообработке и других отраслях.

При небольших капитальных затратах и минимальных эксплуатационных расходах, циклоны обеспечивают стабильную очистку воздуха от частиц и пыли размером более 10 мкм с эффективностью 80% - 95%.

Основными элементами циклонов являются цилиндрический корпус, выхлопная труба и бункер (рис. 9).

Улавливание пыли происходит под действием центробежной силы, возникающей при движении запыленного воздуха между корпусом и выхлопной трубой.

 

Рисунок 9 – Принципиальная схема циклона:

1 – корпус, 2 – входной патрубок, 3 – выходная труба, 4 – бункер для пыли

Для очистки больших масс газов применяют батарейные циклоны, состоящие из большего числа параллельно установленных циклонных элементов. Конструктивно они объединяются в один корпус и имеют общий подвод и отвод газа. Опыт эксплуатации батарейных циклонов показал, что эффективность очистки таких циклонов несколько ниже эффективности отдельных элементов из-за перетока газов между циклонными элементами.

Циклоны изготавливаются как для «правого», так и для «левого» вращения газового потока. «Правым» принято называть вращение газового потока в циклоне по часовой стрелки, если смотреть со стороны выхлопной трубы, «левым» - вращение против часовой стрелки.

2) Оборудование для улавливания пыли мокрым способом, к которому относятся скрубберы Вентури, форсуночные скрубберы, пенные аппараты и др.

Аппараты мокрой очистки газов имеют широкое распространение, так как характеризуются высокой эффективностью очистки от мелкодисперсных пылей с dч ≥ (0,3-1,0) мкм, а также возможностью очистки oт пыли горячих и взрывоопасных газов. Однако мокрые пылеуловители обладают рядом недостатков, что ограничивает область их применения: образование в процессе очистки шлама, что требует специальных систем для его переработки; вынос влаги в атмосферу и образование отложений в отводящих газоотходах при охлаждении газов до точки росы; необходимость создания оборотных систем подачи воды в пылеуловитель.


Аппараты мокрой очистки работают по принципу осаждения частиц пыли либо на поверхность капель жидкости, либо на поверхность пленки жидкости. Осаждение частиц пыли на жидкость происходит под действием сил инерции и броуновского движения.

Наиболее широкое практическое применение получили скрубберы. Скрубберы (англ. scrubber, от scrub — скрести, чистить), аппараты различной конструкции для промывки жидкостями газов с целью их очистки и для извлечения одного или нескольких компонентов.

Работа его основана на дроблении воды турбулентным потоком газа, захвате каплями воды частиц пыли, коагуляции этих частиц и последующим осаждением в каплеуловителе инерционного типа.

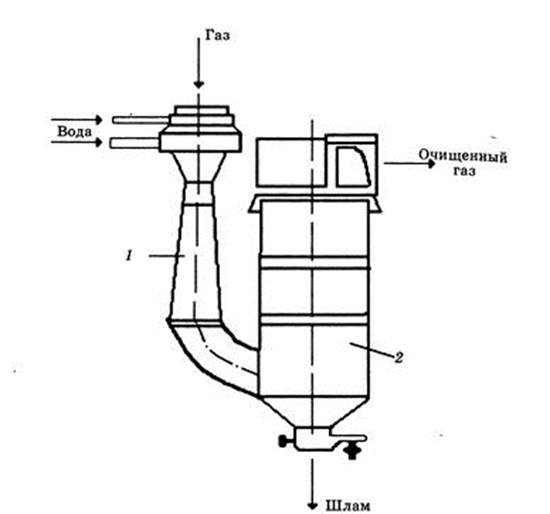
Простейший скруббер Вентури включает трубу Вентури и прямоточный циклон (рис. 10).

 

 
 

Рисунок 10 – Скруббер Вентури:

1 – труба Вентури, 2 – скруббер-каплеуловитель

3) Фильтры (тканевые, зернистые) способны задерживать мелкодисперсные частицы пыли до 0,05 мкм. Особенно эффективны рукавные фильтры с тканями из синтетических волокон повышенной термостойкости (250—300 °С) типа «сульфон-Т», фильтровальные металлические ткани (до 800 °С), а также фильтры из тканей типа ФПП и ФПА, дающие высокую степень очистки.

Принципиальная схема процесса фильтрования в пористой перегородке показана на рис. 11. Фильтр представляет собой корпус 1, разделенный пористой перегородкой (фильтроэлементом) 2 на две полости. В фильтр поступают загрязненные газы, которые очищаются при прохождении фильтроэлемента. Частицы примесей оседают на входной части пористой перегородки и задерживаются в порах, образуя на поверхности пе-регородки слой 3, и таким образом становятся для вновь поступающих частиц частью фильтровой перегородки, что увеличивает эффективность очистки фильтра и перепад давления на фильтроэлементе.

3) Фильтры (тканевые, зернистые) способны задерживать мелкодисперсные частицы пыли до 0,05 мкм. Особенно эффективны рукавные фильтры с тканями из синтетических волокон повышенной термостойкости (250—300 °С) типа «сульфон-Т», фильтровальные металлические ткани (до 800 °С), а также фильтры из тканей типа ФПП и ФПА, дающие высокую степень очистки.

Принципиальная схема процесса фильтрования в пористой перегородке показана на рис. 11.

Фильтр представляет собой корпус 1, разделенный пористой перегородкой (фильтроэлементом) 2 на две полости. В фильтр поступают загрязненные газы, которые очищаются при прохождении фильтроэлемента. Частицы примесей оседают на входной части пористой перегородки и задерживаются в порах, образуя на поверхности пе-регородки слой 3, и таким образом становятся для вновь поступающих частиц частью фильтровой перегородки, что увеличивает эффективность очистки фильтра и перепад давления на фильтроэлементе. Вот.

Рисунок 11 – Схема процесса фильтрования

 

4) Электрофильтры — наиболее совершенный способ очистки газов от взвешенных в них частиц пыли размером до 0,01 мкм при высокой эффективности очистки газов (99,0—99,5%).


Принцип работы всех типов электрофильтров основан на ионизации пыле-газового потока у поверхности коронирующих электродов. Приобретая отрицательный заряд, пылинки движутся к осадительному электроду, имеющему знак, обратный заряду коронирующего электрода. При встряхивании электродов осажденные частички пыли под действием силы тяжести падают вниз в сборник пыли (рис. 12). Электроды требуют большого расхода электроэнергии — это их основной недостаток.

Наиболее эффективны комбинированные методы очистки от пыли. Например, отличные результаты дает очистка агломерационных газов в батарейных циклонах с последующей доочисткой в скрубберах Вентури, а также в электрофильтрах.

 

Рисунок 12 – Электрофильтр типа С

1- распределительные решетки, 2 – осадительный и коронирующий электроды,

3 – корпус, 4 – смолоулавливающие зонты

Способы очистки выбросов от токсичных газо- и парообразных примесей (NO, N02, S02 и др.) подразделяют на три основные группы:

1) поглощение примесей путем применения каталитического превращения;

2) промывка выбросов растворителями примеси (абсорбционный метод)

3) поглощение газообразных примесей твердыми телами с ультрамикропористой структурой (адсорбционный метод).

С помощью каталитического метода токсичные компоненты промышленных выбросов превращают в вещества безвредные или менее вредные для окружающей среды путем введения в систему дополнительных веществ, называемых катализаторами.

Широко применяют палладийсодержащие и ванадиевые катализаторы. С их помощью происходит каталитическое досжигание оксида углерода до диоксида и диоксида серы до оксида. Возможно также восстановление оксидов азота аммиаком до элементарного азота. Одна из разновидностей этого метода — дожигание вредных примесей с помощью газовых горелок (факельное сжигание), широко используется на нефтеперерабатывающих заводах.

Абсорбционный метод основан на поглощении вредных газообразных примесей жидким поглотителем (абсорбентом). В качестве абсорбента используют воду, растворы щелочей (соды), аммиака и др. Газообразные цианистые соединения абсорбируют, например, 5%-ным раствором железного купороса. Устройство, в котором осуществляют процесс абсорбции, называют абсорбером.

Абсорбер обычно представляет собой колонку с насадкой или тарелками, в нижнюю часть которой подается газ, а в верхнюю — жидкость; газ удаляется из абсорбера сверху, а жидкость — снизу (рис. 13).

Рисунок 13 – Механические пленочные абсорберы

Адсорбционный метод позволяет извлекать вредные компоненты из промышленных выбросов с помощью адсорбентов — твердых тел с ультрамикропористой структурой (активированный уголь и глинозем, силикагель, цеолиты, сланцевая зола и другие вещества).

Основным аппаратом установки в котором проводят процесс адсорбции является адсорбер. Известны адсорберы периодического и непрерывного действия. В адсорберах периодического действия газовая смесь или жидкость, из которых должны быть извлечены некоторые компоненты, поступает через патрубок 1 в адсорбер (рис. 14), проходит через слой пористого адсорбента 2, расположенного на горизонтальной решётке 3, и удаляется из аппарата через патрубок 4. После насыщения адсорбента, определяемого по началу проскока поглощаемого компонента (газа или жидкости), производится десорбция. Слой адсорбента прогревается паром, поступающим через патрубок 5, при этом из адсорбента отгоняются пары извлечённых веществ, отводимые через патрубок 6 на конденсацию и дальнейшую переработку. Затем адсорбент сушат горячим газом и после охлаждения повторяют цикл процесса


 

Рисунок 14 – Адсорбер периодического действия

Рассеивание газовых примесей в атмосфере используют для снижения опасных концентраций примесей до уровня соответствующего ПДК. Как показывает опыт, в приземном слое атмосферы вблизи крупных энергетических установок (ТЭЦ, ТЭС, ГРЭС) и других предприятий концентрация вредных веществ в отходящих газах может превышать предельно допустимые нормы несмотря на все применяемые меры по очистке газов и экологизацию технологических процессов.

Рассеивание пыле-газовых выбросов осуществляют с помощью высоких дымовых труб. Чем выше труба, тем больше ее рассеивающий эффект. На ряде предприятий высота дымовых труб достигает более 300 м.

Рассеивание вредных веществ в атмосфере — это временное, вынужденное мероприятие, которое осуществляется вследствие того, что существующие очистные устройства не обеспечивают полной очистки выбросов от вредных веществ.

Защита атмосферного воздуха от вредных выбросов предприятий в значительной степени связана с устройством санитарно-защитных зон и архитектурно-планировочными решениями.

Санитарно-защитная зона — это полоса, отделяющая источники промышленного загрязнения от жилых или общественных зданий для защиты населения от влияния вредных факторов производства (выбросы пыли и иные виды загрязнения среды).

Ширину санитарно-защитных зон устанавливают в зависимости от класса производства, степени вредности и количества выделенных в атмосферу веществ и принимают равной от 50 до 1000 м. Например, для цементных заводов производительностью более 150 тыс. т цемента в год (I класс производства) ширина санитарно-защитной зоны — 1000 м, а для предприятий по изготовлению камышита (V класс производства) — 50 м.

Санитарно-защитная зона должна быть благоустроена и озеленена газоустойчивыми породами деревьев и кустарников, например, акацией белой, тополем канадским, елью колючей, шелковицей, кленом остролистным, вязом листовитым и т. д.

Архитектурно-планировочные мероприятия включают правильное взаимное размещение источников выброса и населенных мест с учетом направления ветров, выбор под застройку промышленного предприятия ровного возвышенного места, хорошо продуваемого ветрами, сооружение автомобильных дорог в обход населенных пунктов и др.

 

 



<== предыдущая | следующая ==>
Главный Монумент Победы | Генеральный директор г.Пермь





Date: 2015-06-08; view: 681; Нарушение авторских прав



mydocx.ru - 2015-2026 year. (2.209 sec.) Все материалы представленные на сайте исключительно с целью ознакомления читателями и не преследуют коммерческих целей или нарушение авторских прав - Пожаловаться на публикацию